| Обозначение: |  ГОСТ Р ИСО 10303-504-2006 |
| Статус: | заменён |
| Название рус.: | Системы автоматизации производства и их интеграция. Представление данных об изделии и обмен этими данными. Часть 504. Прикладные интерпретированные конструкции. Пояснения на чертежах |
| Название англ.: | Industrial automation systems and integration. Product data representation and exchange. Part 504. Application interpreted constructions. Draughting annotation |
| Дата актуализации текста: | 06.04.2015 |
| Дата актуализации описания: | 01.07.2023 |
| Дата издания: | 27.03.2007 |
| Дата введения: | 01.07.2007 |
| Дата окончания срока действия: | 01.01.2018 |
| Заменяющий: | ГОСТ Р ИСО 10303-504-2016 |
| Аутентичен стандартам: | ISO 10303-504:2000 |
| Нормативные ссылки: | ISO /IEC 8824-1:1998;ISO 10209-1:1992;ISO 10303-1:1994;ISO 10303-11:1994;ISO 10303-41:1994;ISO 10303-42:1994;ISO 10303-43:1994;ISO 10303-46:1994;ISO 10303-101:1994;ISO 10303-202:1996 |
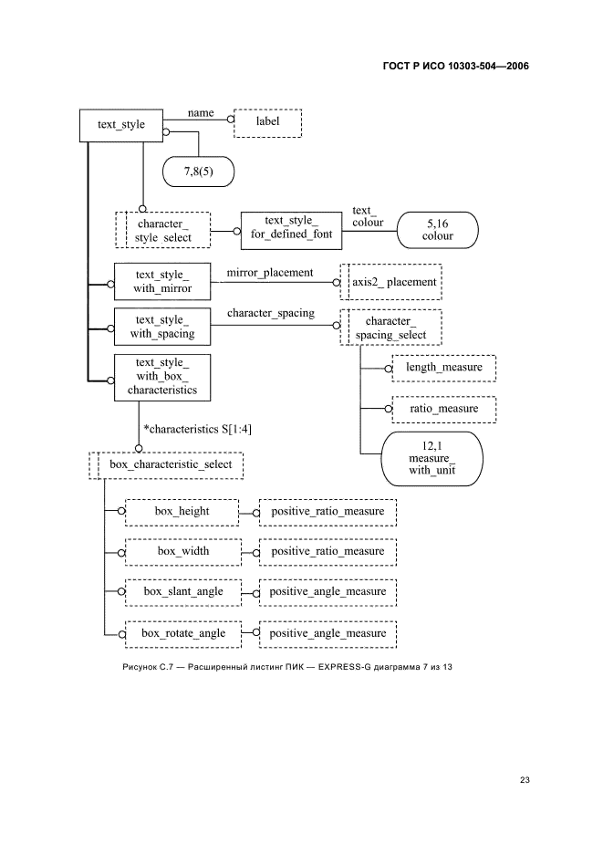
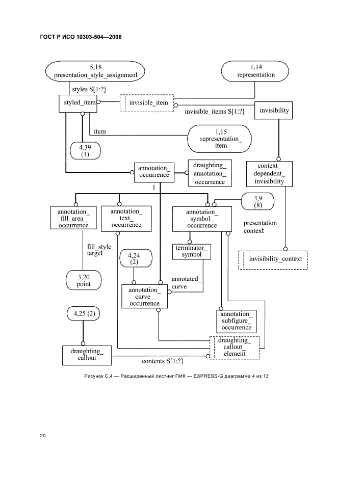
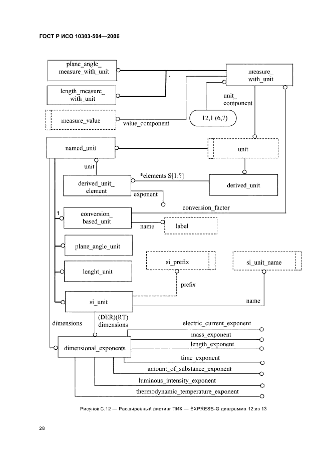
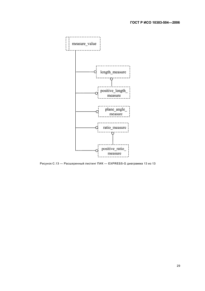
| Область применения: | Настоящий стандарт определяет интерпретацию интегрированных ресурсов, обеспечивающую соответствие требованиям к определению пояснений, предназначенных для облегчения понимания данных об изделии и интерпретации чертежа. Область применения настоящего стандарта распространяется на: - представление не формообразующих данных об изделии, изображенных двумерным или плоским трехмерным пояснением; - структуры для представления свойств изображения пояснения; - структуры для представления элементов рисунков и символов; - структуры для представления определенных внешне символов и свойств изображения пояснения; - предопределенные символы и свойства изображения. Область применения настоящего стандарта не распространяется на: - пояснения, которые представляют размеры или выноски на чертежах |
|
| Расположен в: |
|