| Обозначение: |  ГОСТ Р 51415-99 |
| Статус: | действующий |
| Название рус.: | Мука пшеничная. Физические характеристики теста. Определение реологических свойств с применением альвеографа |
| Название англ.: | Wheat flour. Physical characteristics of doughs. Determination of rheological properties using a alveograph |
| Дата актуализации текста: | 06.04.2015 |
| Дата актуализации описания: | 01.07.2023 |
| Дата издания: | 01.01.2007 |
| Дата введения: | 01.03.2001 |
| Содержит требования: | ISO 5530-4:1991 |
| Нормативные ссылки: | ISO 660:1996; ГОСТ ИСО 2170-97; ГОСТ 4233-77; ГОСТ 6709-72; ГОСТ 29143-91 |
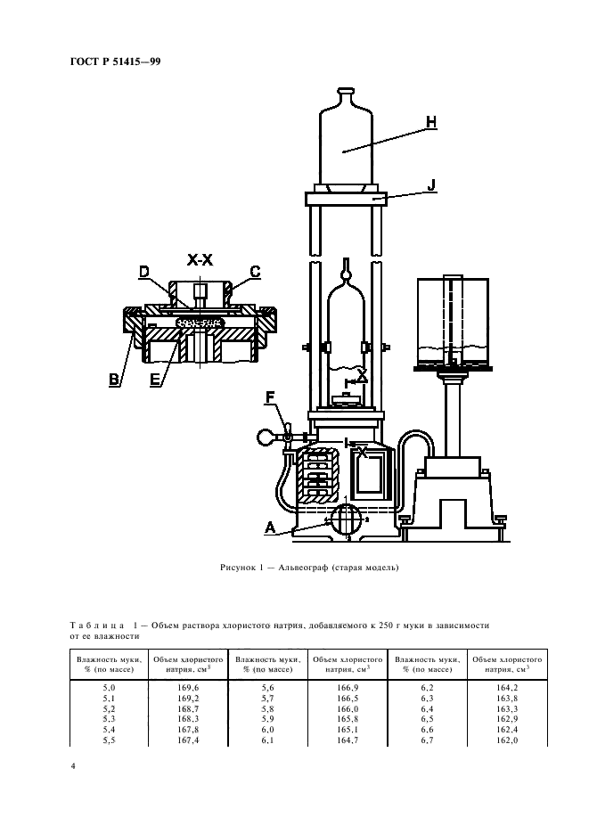
| Область применения: | Настоящий стандарт устанавливает метод определения реологических свойств теста (максимального избыточного давления P, индекса раздувания G, средней абсциссы при разрыве L, энергии деформации W) для муки из зерна мягкой пшеницы с применением альвеографа |
|
| Расположен в: |
|