| ||||||||||||||||||||||||||||||
Скачать ГОСТ Р 71772-2024 Технологии топливных элементов. Часть 4-101. Энергоустановки на топливных элементах для электрической подъемно-транспортной техники. БезопасностьДата актуализации: 01.06.2025
| ||||||||||||||||||||||||||||||
| Обозначение: | ![]() ГОСТ Р 71772-2024 |
| Статус: | действующий |
| Название рус.: | Технологии топливных элементов. Часть 4-101. Энергоустановки на топливных элементах для электрической подъемно-транспортной техники. Безопасность |
| Название англ.: | Fuel cell technologies. Fuel cell power systems for electrically powered industrial trucks. Safety |
| Дата актуализации текста: | 01.06.2025 |
| Дата актуализации описания: | 01.06.2025 |
| Дата издания: | 03.12.2024 |
| Дата введения: | 01.01.2025 |
| Содержит требования: | IEC 62282-4-101(2022) |
| Нормативные ссылки: | ГОСТ 12.4.262-2014; ГОСТ 4647; ГОСТ 14254; ГОСТ 19109; ГОСТ 24048; ГОСТ 29088; ГОСТ 31610.0; ГОСТ 31610.10-1;ГОСТ IEC 60079-29-1;ГОСТ IEC 60227-3;ГОСТ IEC 60227-5;ГОСТ IEC 60335-2-41;ГОСТ IEC 60335-2-80;ГОСТ IEC 60695-10-2;ГОСТ IEC 60730-1;ГОСТ IEC 60947-3;ГОСТ IEC 60947-5-1;ГОСТ IEC 60950-1-2014;ГОСТ IEC 61204-7;ГОСТ IEC 61508-3;ГОСТ IEC 61558-1;ГОСТ ISO 1421;ГОСТ ISO 3864-1;ГОСТ ISO 4675;ГОСТ ISO 11114-4;ГОСТ ISO 12100;ГОСТ ISO 13849-1;ГОСТ ISO 16010;ГОСТ ISO 23551-1; ГОСТ Р 8.585; ГОСТ Р 27.302; ГОСТ Р 27.303-2021; ГОСТ Р 50571.4.41-2022; ГОСТ Р 51354-99; ГОСТ Р 52350.29.4; ГОСТ Р 54114-2010; ГОСТ Р 56188.1; ГОСТ Р 56188.2; ГОСТ Р 56188.3.100; ГОСТ Р 56188.5.100; ГОСТ Р ИСО 17268; ГОСТ Р МЭК 31010; ГОСТ Р МЭК 60204-1; ГОСТ Р МЭК 60664.1; ГОСТ Р МЭК 61430; ГОСТ Р МЭК 61508-1; ГОСТ Р МЭК 61508-2; ГОСТ Р МЭК 61508-4; ГОСТ Р МЭК 61508-5; ГОСТ Р МЭК 61508-6; ГОСТ Р МЭК 61508-2; ГОСТ Р МЭК 61508-3; ГОСТ Р МЭК 61508-7; ГОСТ Р МЭК 62133-1; ГОСТ Р МЭК 62391-1; ГОСТ Р МЭК 62391-2; ГОСТ Р МЭК 62619 |
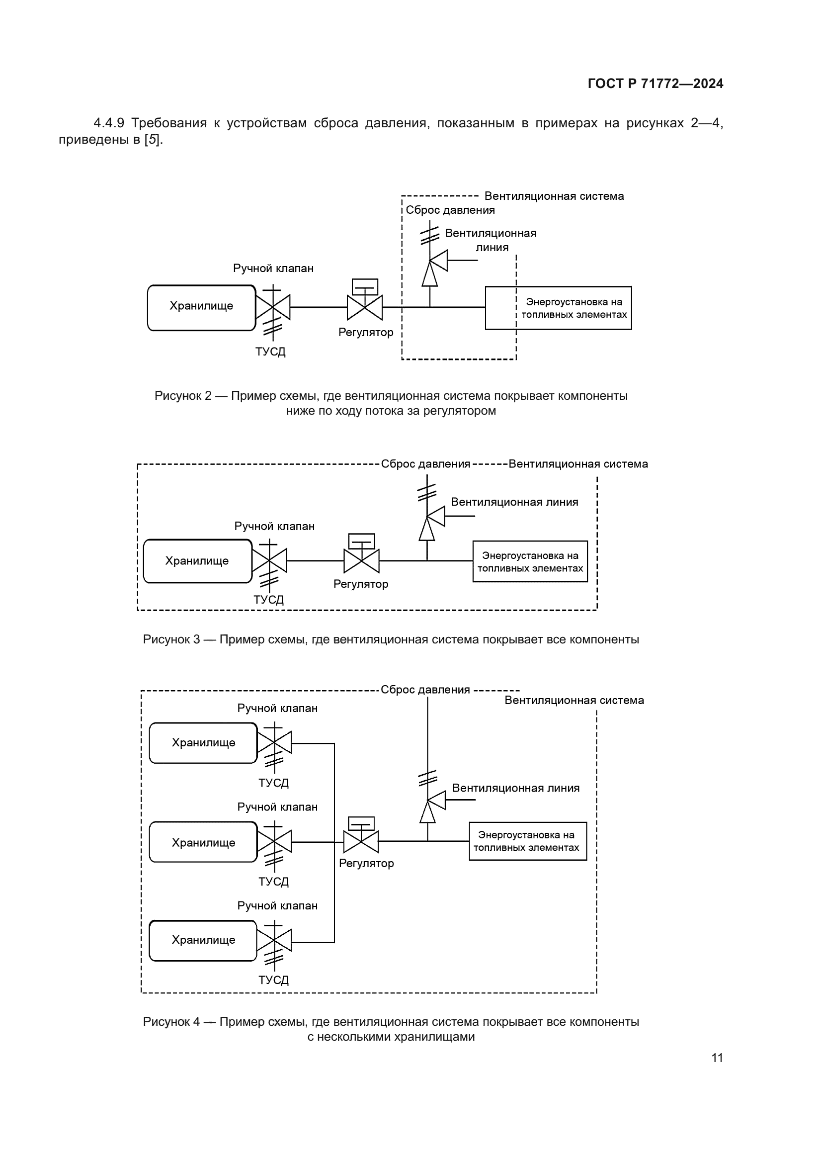
| Область применения: | Стандарт рассматривает аспекты безопасности энергоустановок на топливных элементах, предназначенных для приведения в движение технических средств, отличных от дорожных транспортных средств и не относящихся к вспомогательных силовым агрегатам. Стандарт является частью серии стандартов ГОСТ Р 56188 и охватывает требования безопасности к энергоустановкам на топливных элементах, предназначенным для использования в подъемно-транспортной технике (в подъемно-транспортных средствах) с электрическим приводом (см. [1]), за исключением: - подъемно-транспортной техники для эксплуатации на пересеченной местности; - портальных подъемно-транспортных средств с низкой высотой подъема, не предназначенных для штабелирования; - портальных подъемно-транспортных средств с большой высотой подъема для штабелирования; - подъемно-транспортных средств с переменным радиусом действия (телескопических) для эксплуатации на пересеченной местности; - поворотных подъемно-транспортных средств с переменным радиусом действия (телескопических) для эксплуатации на пересеченной местности; - подъемно-транспортной техники с переменным радиусом (с телескопическим механизмом) действия для перегрузки контейнеров; - подъемно-транспортных средств, приводимых в движение вручную. |
| Расположен в: | |















































