| ||||||||||||||||||||||||||||
Скачать ГОСТ Р 59238-2020 Колеса цельнокатаные колесных пар подвижного состава метрополитена. Общие технические условияДата актуализации: 01.06.2025
| ||||||||||||||||||||||||||||
| Обозначение: | ![]() ГОСТ Р 59238-2020 |
| Статус: | действующий |
| Название рус.: | Колеса цельнокатаные колесных пар подвижного состава метрополитена. Общие технические условия |
| Название англ.: | All-rolled wheels for wheelsets of subway rolling stock. General specifications |
| Дата актуализации текста: | 01.01.2022 |
| Дата актуализации описания: | 01.07.2023 |
| Дата издания: | 15.12.2020 |
| Дата введения: | 01.03.2021 |
| Нормативные ссылки: | ГОСТ 8.051; ГОСТ 15.309; ГОСТ 25.506; ГОСТ 25.507; ГОСТ 1497; ГОСТ 1778-70; ГОСТ 2789; ГОСТ 7565; ГОСТ 7566; ГОСТ 9012; ГОСТ 9378; ГОСТ 9454; ГОСТ 10243; ГОСТ 11964-81; ГОСТ 15150-69; ГОСТ 17745; ГОСТ 18321; ГОСТ 18895; ГОСТ 19300 ; ГОСТ 22536.0; ГОСТ 22536.1; ГОСТ 22536.2; ГОСТ 22536.3; ГОСТ 22536.4; ГОСТ 22536.5; ГОСТ 22536.7; ГОСТ 22536.8; ГОСТ 22536.9; ГОСТ 22536.11; ГОСТ 22536.12; ГОСТ 28033; ГОСТ 32773; ГОСТ Р 8.568; ГОСТ Р 15.301; ГОСТ Р 54153 |
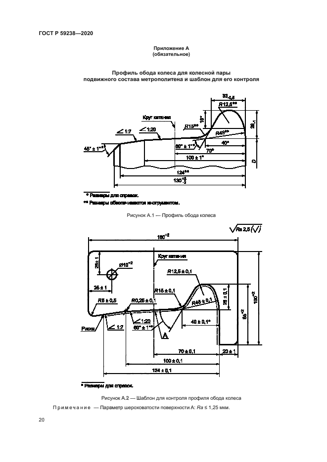
| Область применения: | Настоящий стандарт распространяется на колеса цельнокатаные, включая колеса с предварительной механической обработкой и колеса чистовые (далее – колеса), исполнения УХЛ по ГОСТ 15150 для моторных и немоторных колесных пар тележек подвижного состава метрополитена |
| Расположен в: | |


























