| Обозначение: |  ГОСТ Р 58841.2-2020 |
| Статус: | действующий |
| Название рус.: | Оборудование сорбционное газовое для обогрева и/или охлаждения с номинальной тепловой мощностью, не более 70 кВт. Часть 2. Безопасность |
| Название англ.: | Gas-fired sorption appliances for heating and/or cooling with a net heat input not exceeding 70 kW. Part 2. Safety |
| Дата актуализации текста: | 01.06.2021 |
| Дата актуализации описания: | 01.07.2023 |
| Дата издания: | 25.08.2020 |
| Дата введения: | 01.03.2021 |
| Содержит требования: | DIN EN 12309-2-2016 |
| Нормативные ссылки: | ГОСТ 7.67; ГОСТ 617; ГОСТ 6211; ГОСТ 6357; ГОСТ 9399; ГОСТ 14254-2015; ГОСТ 30244; ГОСТ 31816; ГОСТ 32028; ГОСТ 32029; ГОСТ 33259-2015;ГОСТ EN 378-1;ГОСТ EN 378-2;ГОСТ EN 378-3;ГОСТ IEC 60335-1:2015;ГОСТ IEC 60730-2-9; ГОСТ Р 51983; ГОСТ Р 52219; ГОСТ Р 54823; ГОСТ Р 54824; ГОСТ Р 58841.1; ГОСТ Р 58841.3-2020; ГОСТ Р 58841.4-2020; ГОСТ Р 58841.5-2020;СП 280.1325800.2016 |
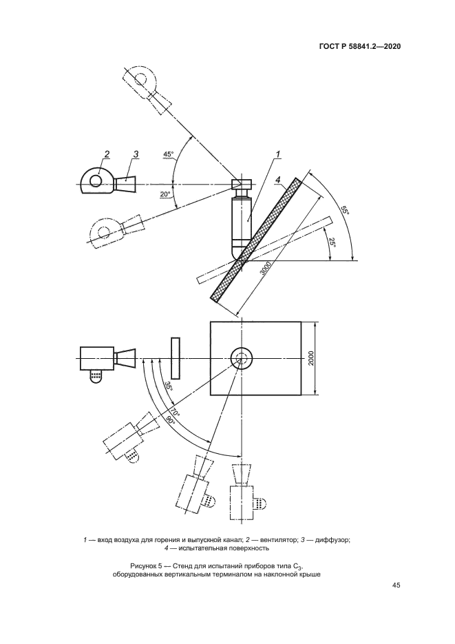
| Область применения: | Требования серии стандартов ГОСТ Р 58841 распространяется на следующие приборы или их комбинации: - газовый сорбционный чиллер; - газовый сорбционный чиллер/нагреватель; - газовый сорбционный тепловой насос. Настоящая серия стандартов предназначена для применения приборов, предназначенных для обогрева и охлаждения помещений. При этом приборы могут быть с рекуперацией тепла или без нее |
|
| Расположен в: |
|