| ||||||||||||||||||||||||||||||||||||
Скачать ГОСТ Р 54400-2020 Дороги автомобильные общего пользования смеси литые асфальтобетонные дорожные горячие и асфальтобетон литой дорожный. Методы испытанийДата актуализации: 01.06.2025
| ||||||||||||||||||||||||||||||||||||
| Обозначение: | ![]() ГОСТ Р 54400-2020 |
| Статус: | действующий |
| Название рус.: | Дороги автомобильные общего пользования смеси литые асфальтобетонные дорожные горячие и асфальтобетон литой дорожный. Методы испытаний |
| Название англ.: | Automobile roads of general use. Hot mastic asphalt mixtures and mastic asphalt concrete for road pavement. Test methods |
| Дата актуализации текста: | 01.01.2021 |
| Дата актуализации описания: | 01.07.2023 |
| Дата издания: | 05.05.2020 |
| Дата введения: | 01.06.2020 |
| Взамен: | ГОСТ Р 54400-2011 |
| Нормативные ссылки: | ГОСТ 12.1.019; ГОСТ 12.4.131; ГОСТ 12.4.132; ГОСТ 12.4.252; ГОСТ 427; ГОСТ 33029-2014; ГОСТ Р ИСО 5725-6; ГОСТ Р 5400-2019; ГОСТ Р 58401.8; ГОСТ Р 58401.10; ГОСТ Р 58401.15; ГОСТ Р 58401.16; ГОСТ Р 58401.19; ГОСТ Р 58406.5; ГОСТ Р 58406.6; ГОСТ Р 58407.4; ГОСТ Р 58407.5 |
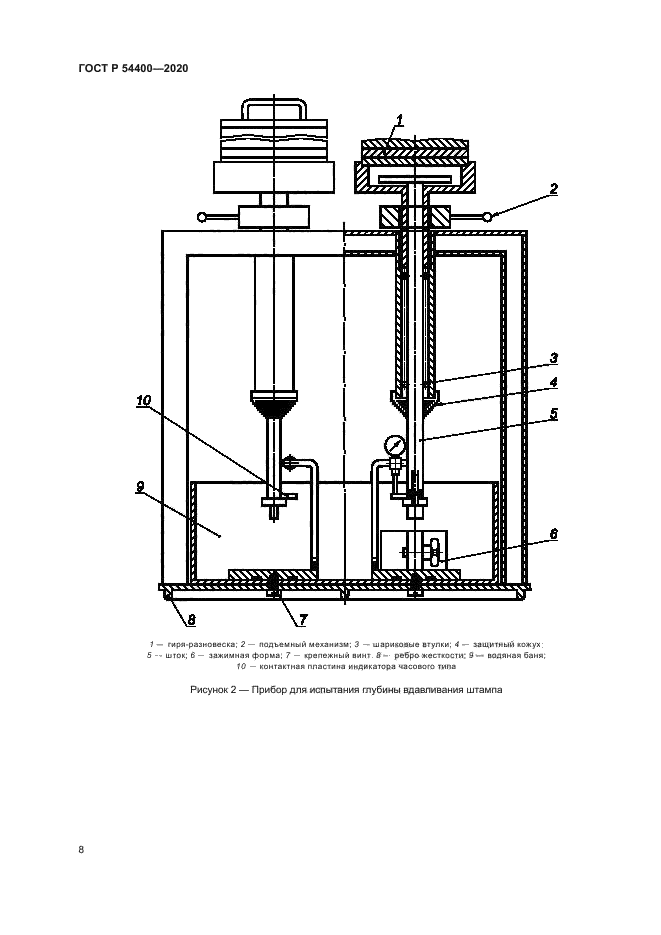
| Область применения: | Настоящий стандарт распространяется на смеси литые асфальтобетонные дорожные горячие и на асфальтобетон литой дорожный, применяемые для устройства покрытий автомобильных дорог общего пользования, мостовых сооружений, тоннелей, а также для производства ямочного ремонта и устанавливает методы испытаний смесей литых и асфальтобетона литого |
| Приложение №1: | Поправка к ГОСТ Р 54400-2020 |
| Расположен в: | |

















| Обозначение: | Поправка к ГОСТ Р 54400-2020 |
| Дата введения: | 14.10.2020 |
