| ||||||||||||||||||||||||||||||||||||||||||||
Скачать ГОСТ 6133-2019 Камни бетонные стеновые. Технические условияДата актуализации: 01.06.2025
| ||||||||||||||||||||||||||||||||||||||||||||
| Обозначение: | ![]() ГОСТ 6133-2019 |
| Статус: | действующий |
| Название рус.: | Камни бетонные стеновые. Технические условия |
| Название англ.: | Concrete wall unit. Specifications |
| Дата актуализации текста: | 01.06.2022 |
| Дата актуализации описания: | 01.07.2023 |
| Дата регистрации: | 30.08.2019 |
| Дата издания: | 09.10.2019 |
| Дата введения: | 01.03.2020 |
| Взамен: | ГОСТ 6133-99 |
| Нормативные ссылки: | ГОСТ 162; ГОСТ 166; ГОСТ 427; ГОСТ 503; ГОСТ 965; ГОСТ 2912; ГОСТ 3749; ГОСТ 4579; ГОСТ 5578; ГОСТ 7025; ГОСТ 8135; ГОСТ 8267; ГОСТ 8462; ГОСТ 8736; ГОСТ 9570; ГОСТ 10060-2012; ГОСТ 10178; ГОСТ 10354; ГОСТ 10832; ГОСТ 12730.1; ГОСТ 14192; ГОСТ 15825; ГОСТ 17624; ГОСТ 18172; ГОСТ 18343; ГОСТ 21121; ГОСТ 22263; ГОСТ 22266; ГОСТ 23616; ГОСТ 23732; ГОСТ 24211; ГОСТ 25328; ГОСТ 25592; ГОСТ 25818; ГОСТ 25951; ГОСТ 26433.1; ГОСТ 26644; ГОСТ 32496 |
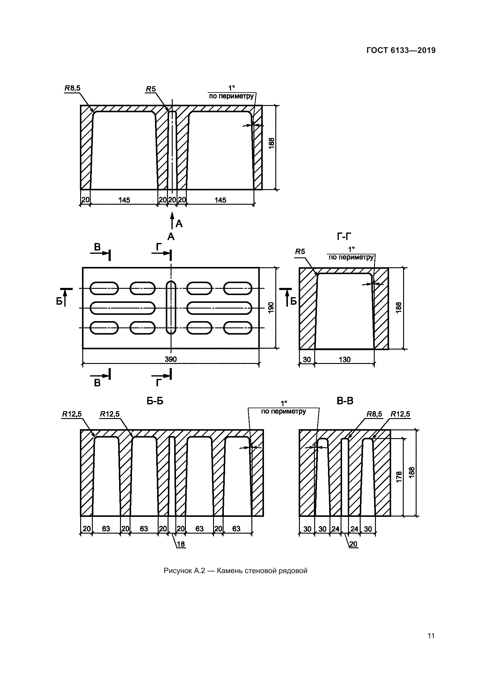
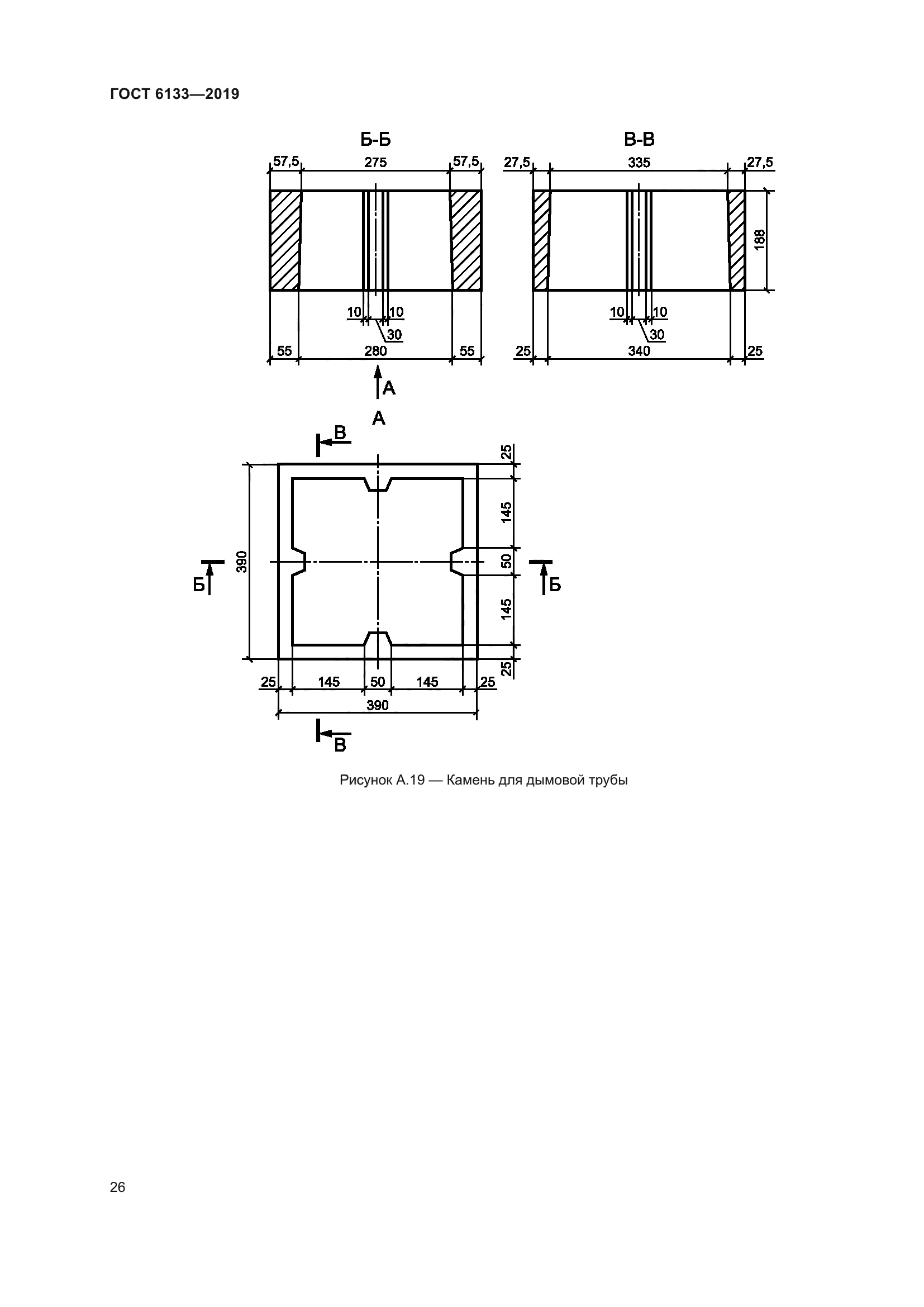
| Область применения: | Настоящий стандарт распространяется на камни стеновые бетонные (далее - камни), изготовленные вибропрессованием, прессованием, формованием или другими способами из легких, тяжелых и мелкозернистых бетонов. Настоящий стандарт распространяется на камни стеновые бетонные, применяемые в соответствии с действующими строительными нормами и правилами при возведении стен и других конструкций зданий и сооружений различного назначения |
| Приложение №1: | Поправка к ГОСТ 6133-2019 |
| Приложение №2: | Поправка к ГОСТ 6133-2019 |
| Расположен в: | |






































| Обозначение: | Поправка к ГОСТ 6133-2019 |
| Дата введения: | 15.04.2020 |

| Обозначение: | Поправка к ГОСТ 6133-2019 |
| Дата введения: | 26.01.2022 |
