| ||||||||||||||||||||||||||||||||||||||||
Скачать ГОСТ Р 58350-2019 Дороги автомобильные общего пользования. Технические средства организации дорожного движения в местах производства работ. Технические требования. Правила примененияДата актуализации: 01.06.2025
| ||||||||||||||||||||||||||||||||||||||||
| Обозначение: | ![]() ГОСТ Р 58350-2019 |
| Статус: | действующий |
| Название рус.: | Дороги автомобильные общего пользования. Технические средства организации дорожного движения в местах производства работ. Технические требования. Правила применения |
| Название англ.: | Automobile roads of general use. The requirements to the traffic control devices in places of a roadwork. Technical requirements. Rules of application |
| Дата актуализации текста: | 01.01.2023 |
| Дата актуализации описания: | 01.07.2023 |
| Дата издания: | 04.03.2019 |
| Дата введения: | 01.07.2019 |
| Нормативные ссылки: | ГОСТ 32757; ГОСТ 32758; ГОСТ 32759; ГОСТ 32843; ГОСТ 32865; ГОСТ 32945; ГОСТ 32953; ГОСТ 33128; ГОСТ 33220; ГОСТ 33385; ГОСТ Р 50597; ГОСТ Р 50971; ГОСТ Р 51256; ГОСТ Р 52282; ГОСТ Р 52289; ГОСТ Р 52290; ГОСТ Р 56350; ГОСТ Р 56351; ГОСТ Р 57144; ГОСТ Р 57145; ГОСТ Р ИСО 23600; ГОСТ Р 59291; ГОСТ Р 58967 |
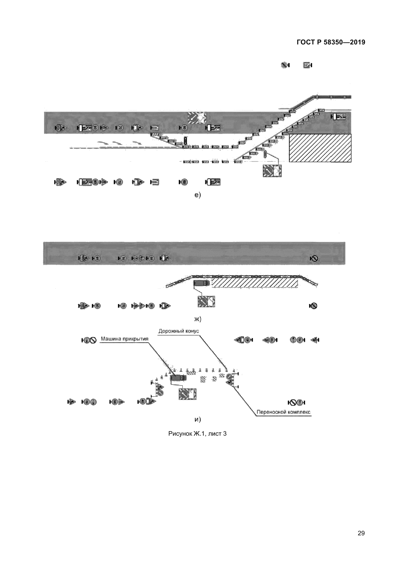
| Область применения: | Настоящий стандарт распространяется на технические средства организации дорожного движения, применяемые на автомобильных дорогах общего пользования, улицах и дорогах городских и сельских поселений, железнодорожных переездах в местах производства работ по строительству, реконструкции, капитальному ремонту, ремонту и содержанию дорог, а также других работ, требующих временного изменения организации дорожного движения, а также устанавливает технические требования к ним и правила применения |
| Приложение №1: | Изменение №1 к ГОСТ Р 58350-2019 |
| Приложение №2: | Поправка к ГОСТ Р 58350-2019 |
| Расположен в: | |








































| Обозначение: | Изменение №1 к ГОСТ Р 58350-2019 |
| Дата введения: | 01.01.2023 |




| Обозначение: | Поправка к ГОСТ Р 58350-2019 |
| Дата введения: | 24.01.2025 |
