| Обозначение: |  ГОСТ ISO 18652-2014 |
| Статус: | действующий |
| Название рус.: | Машины и оборудование строительные. Внешние вибраторы для бетона |
| Дата актуализации текста: | 26.02.2016 |
| Дата актуализации описания: | 01.07.2023 |
| Дата регистрации: | 22.12.2014 |
| Дата издания: | 01.10.2015 |
| Дата введения: | 01.11.2015 |
| Аутентичен стандартам: | ISO 18652:2005 |
| Нормативные ссылки: | ISO 2398:1995;ISO 4414:1998;ISO 6150:1988;ISO 7241-1;ISO 8041;ISO 8331;ISO 11375:1998;ISO 12100-2:2003;IEC 60034-1(2004);IEC 60034-5;IEC 60204-1(2000);IEC 60745-1(2003) |
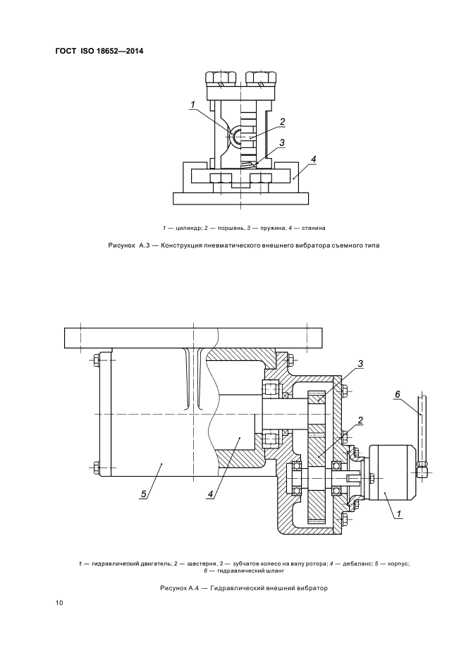
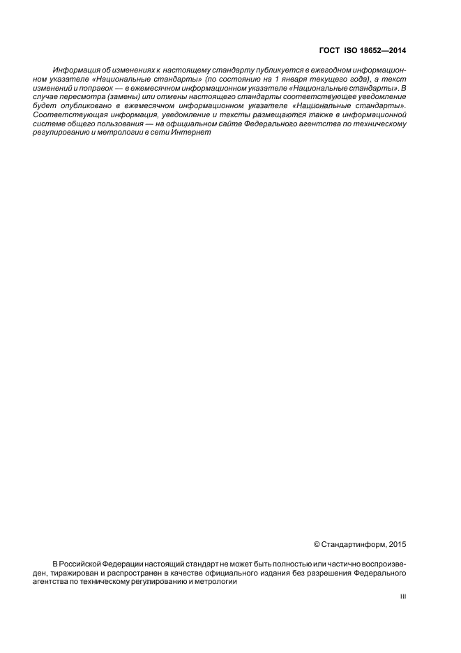
| Область применения: | Настоящий стандарт устанавливает терминологию и определяет классификацию, эксплуатационные требования, методы испытаний, назначение и технические характеристики внешних вибраторов для бетона. Настоящий стандарт применяется к внешним вибраторам с механическим приводом, предназначенным для уплотнения бетонной смеси вибрацией с наружной стороны |
|
| Расположен в: |
|