Скачать ГОСТ 9573-72 Плиты и маты теплоизоляционные из минеральной ваты на синтетическом связующемДата актуализации: 01.06.2025 ГОСТ 9573-72
Плиты и маты теплоизоляционные из минеральной ваты на синтетическом связующем
| Обозначение: |  ГОСТ 9573-72 |
| Статус: | не действует в РФ |
| Название рус.: | Плиты и маты теплоизоляционные из минеральной ваты на синтетическом связующем | | Дата актуализации текста: | 06.04.2015 | | Дата актуализации описания: | 01.06.2019 | | Дата введения: | 01.07.1973 | |
| Расположен в: |
|
       
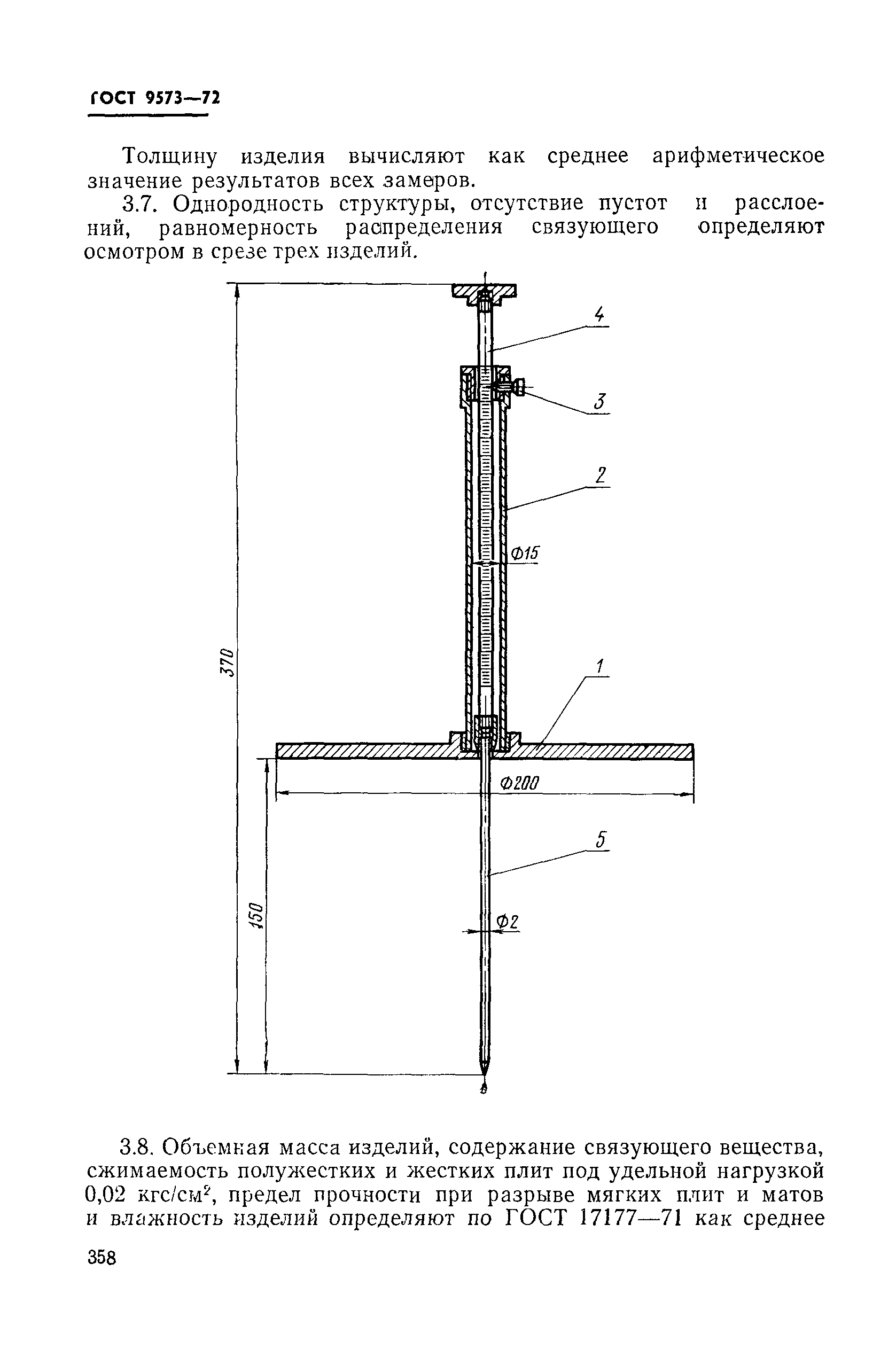
|