| ||||||||||||||||||||||||||||
Скачать ГОСТ Р 55777-2013 Заряды кумулятивные. Технические условияДата актуализации: 01.06.2025
| ||||||||||||||||||||||||||||
| Обозначение: | ![]() ГОСТ Р 55777-2013 |
| Статус: | действующий |
| Название рус.: | Заряды кумулятивные. Технические условия |
| Дата актуализации текста: | 01.01.2021 |
| Дата актуализации описания: | 01.07.2023 |
| Дата издания: | 29.11.2019 |
| Дата введения: | 01.06.2014 |
| Код ОКП: | 431600 |
| Нормативные ссылки: | ГОСТ Р 52108; ГОСТ 12.1.007; ГОСТ 12.1.010; ГОСТ 12.2.061; ГОСТ 20.39.108; ГОСТ 27.003; ГОСТ 166; ГОСТ 427; ГОСТ 2015; ГОСТ 3956; ГОСТ 9089; ГОСТ 9378; ГОСТ 10354; ГОСТ 14192; ГОСТ 15150; ГОСТ 19433; ГОСТ 23170; ГОСТ 24297; ГОСТ 26319; ГОСТ Р 55590; ГОСТ Р 55591 |
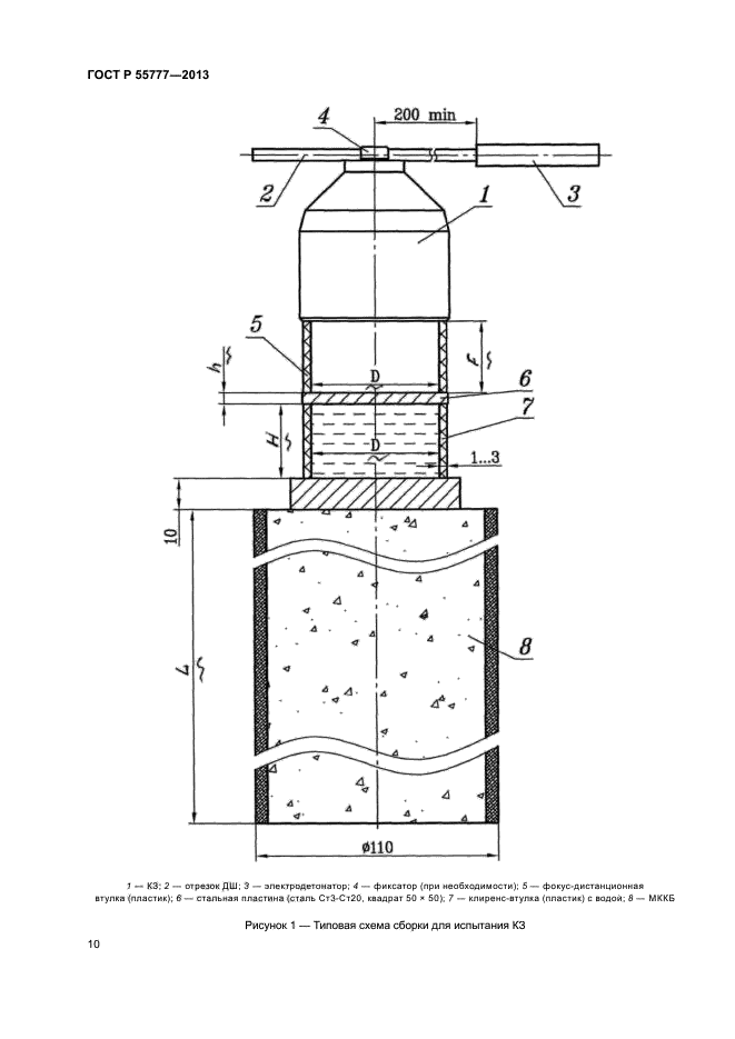
| Область применения: | Настоящий стандарт распространяется на кумулятивные заряды, применяемых в кумулятивных перфораторах, используемых в нефтяной и газовой промышленности с целью вскрытия продуктивных пластов или для создания технологических отверстий |
| Расположен в: | |



















