| ||||||||||||||||||||||||||||||||||
Скачать ГОСТ Р 55658-2013 Панели стеновые с деревянным каркасом. Технические условияДата актуализации: 01.06.2025
| ||||||||||||||||||||||||||||||||||
| Обозначение: | ![]() ГОСТ Р 55658-2013 |
| Статус: | действующий |
| Название рус.: | Панели стеновые с деревянным каркасом. Технические условия |
| Дата актуализации текста: | 01.06.2021 |
| Дата актуализации описания: | 01.07.2023 |
| Дата издания: | 09.12.2019 |
| Дата введения: | 01.05.2014 |
| Код ОКП: | 536600 |
| Нормативные ссылки: | ГОСТ 12.0.004; ГОСТ 12.1.004; ГОСТ 12.1.005; ГОСТ 12.1.010; ГОСТ 12.1.019; ГОСТ 12.1.030; ГОСТ 12.2.003; ГОСТ 12.3.002; ГОСТ 12.3.009; ГОСТ 12.3.020; ГОСТ 12.4.011; ГОСТ 12.4.021; ГОСТ 17.1.3.13; ГОСТ 166; ГОСТ 1145; ГОСТ 4028; ГОСТ 7016; ГОСТ 7502; ГОСТ 8486; ГОСТ 9330; ГОСТ 10354; ГОСТ 15150; ГОСТ 15613.4; ГОСТ 19414; ГОСТ 20022.2; ГОСТ 23166; ГОСТ 25621; ГОСТ 26433.1; ГОСТ 26816; ГОСТ 27296; ГОСТ 30247.0; ГОСТ 30247.1; ГОСТ 30403; ГОСТ 30971; ГОСТ 31251; ГОСТ Р 12.3.047; ГОСТ Р 51829; ГОСТ Р 54257; ГОСТ 3916.1; ГОСТ 3916.2; ГОСТ 11539; ГОСТ 20850; ГОСТ Р 56705; ГОСТ Р 58577; ГОСТ 33120; ГОСТ 33121; ГОСТ Р 56623; ГОСТ Р 57270 |
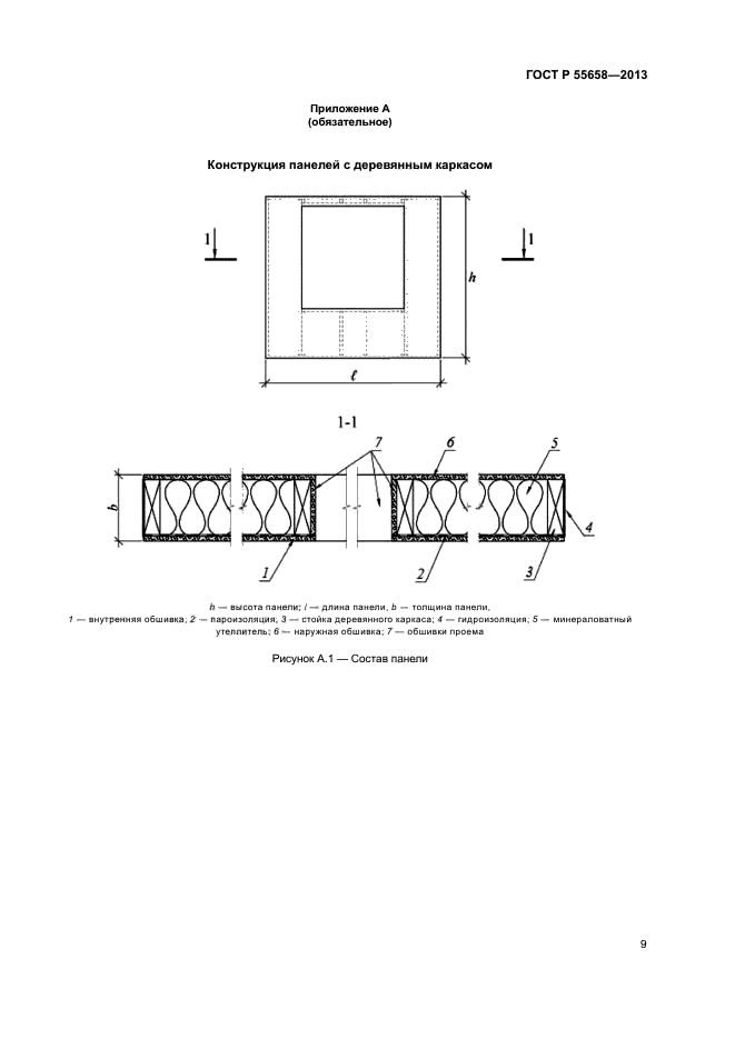
| Область применения: | Настоящий стандарт устанавливает технические требования к стеновым панелям с деревянным каркасом и методы их контроля. Стандарт распространяется на ненесущие панели, предназначенные для применения в составе многослойных ограждающих конструкций (фасадных систем) жилых и общественных зданий. Марки панелей, их размеры, пожаротехнические и теплотехнические характеристики определяются при проектировании фасадной системы |
| Приложение №1: | Изменение №1 к ГОСТ Р 55658-2013 |
| Расположен в: | |


















| Обозначение: | Изменение №1 к ГОСТ Р 55658-2013 |
| Дата введения: | 01.06.2021 |

