| Обозначение: |  ГОСТ ISO 14159-2012 |
| Статус: | действующий |
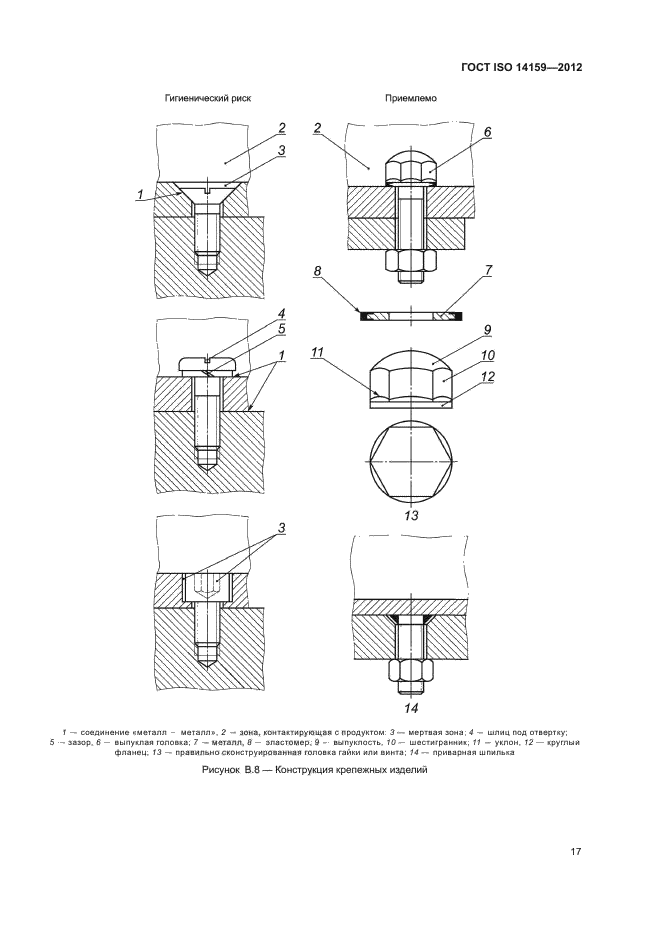
| Название рус.: | Безопасность машин. Гигиенические требования к конструкции машин |
| Дата актуализации текста: | 01.01.2021 |
| Дата актуализации описания: | 01.07.2023 |
| Дата регистрации: | 03.12.2012 |
| Дата издания: | 12.08.2019 |
| Дата введения: | 01.01.2014 |
| Аутентичен стандартам: | ISO 14159:2002 |
| Нормативные ссылки: | ISO 4287:1997;ISO 12100-1:2003;ISO 12100-2:2003;ISO 12100:2010 |
| Область применения: | Настоящий стандарт устанавливает гигиенические требования к конструкции машин и информацию для их правильного применения. Настоящий стандарт распространяется на все типы машин и взаимосвязанного с ними оборудования, используемого при переработке продукта, при применении которых могут возникать гигиенические риски для потребителя конечного продукта |
|
| Расположен в: |
|