| Обозначение: |  ГОСТ Р 54709-2011 |
| Статус: | действующий |
| Название рус.: | Система цифрового звукового радиовещания DRM. Специфичные ограничения по применению протокола распределения и коммуникации (DCP) |
| Название англ.: | Digital audio broadcasting system DRM. Specific rectrictions for the use of the dictribution and communication protocol (DCP) |
| Дата актуализации текста: | 01.01.2021 |
| Дата актуализации описания: | 01.01.2021 |
| Дата издания: | 16.07.2020 |
| Дата введения: | 01.09.2012 |
| Код ОКП: | 657300 |
| Нормативные ссылки: | ETSI TS 102 358 v1.1.1 (2005-01) |
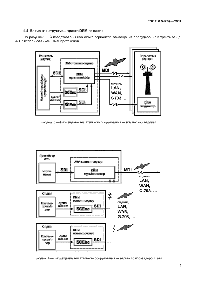
| Область применения: | Настоящий стандарт расширяет и более подробно определяет некоторые аспекты универсального независимого прикладного протокола распределения и коммуникации (DCP), чтобы построить в рамках DRM (см. ETSI [1]) общую основу для всех базирующихся на DCP протоколов. Эти прикладные DRM протоколы включают например, интерфейс распределения мультиплекса (MDI), интерфейс контроля модулятора (MCI), интерфейс распределения обслуживания (CDI), интерфейс состояния и управления приемника (RSCI). Определения и ограничения к протоколу DCP, приведенные в настоящем стандарте, обязательны для всех используемых в DRM протоколов, основанных на DCP |
|
| Расположен в: |
|