Информационная система
«Ёшкин Кот»

Скачать базу одним архивом
Скачать обновления
История создания базы
Карта сайта

Скачать ГОСТ Р 53635-2009 Газовые воздухонагреватели с принудительной конвекцией для отопления (обогрева) помещений теплопроизводительностью до 100 кВт. Общие технические требования и методы испытаний

Дата актуализации: 01.06.2025

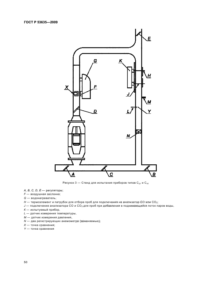
ГОСТ Р 53635-2009

Газовые воздухонагреватели с принудительной конвекцией для отопления (обогрева) помещений теплопроизводительностью до 100 кВт. Общие технические требования и методы испытаний

Обозначение: ГОСТ Р 53635-2009
Статус:отменён
Название рус.:Газовые воздухонагреватели с принудительной конвекцией для отопления (обогрева) помещений теплопроизводительностью до 100 кВт. Общие технические требования и методы испытаний
Название англ.:Gas-fired air heaters with forced convection for firing (heating) rooms not exceeding a net heat input of 100 kW. General technical requirements and test methods
Дата актуализации текста:06.04.2015
Дата актуализации описания:01.07.2023
Дата издания:22.02.2011
Дата введения:01.01.2011
Дата окончания срока действия:01.04.2022
Код ОКП:369650
Содержит требования:EN 778:1998
На территории РФ пользоваться:ГОСТ EN 778-2015
Нормативные ссылки:ГОСТ Р 51842-2001;ГОСТ Р 51843-2001;ГОСТ Р 51982-2002;ГОСТ Р 51983-2002;ГОСТ Р 52161.1-2004;ГОСТ Р 52219-2004;ГОСТ Р МЭК 60730-1-2002;ГОСТ Р МЭК 61058-1-2000;ГОСТ Р МЭК 730-2-9-94;ГОСТ Р ЕН 257-2004;ГОСТ 5542-87;ГОСТ 6211-81;ГОСТ 6357-81;ГОСТ 12815-80;ГОСТ 12969-67;ГОСТ 20448-90;ГОСТ 23358-87;ГОСТ 1494-77;ГОСТ 14192-96;ГОСТ 14254-96
Область применения:Настоящий стандарт устанавливает требования к безопасности, конструкции, характеристикам и методам испытаний газовых воздухонагревателей с принудительной конвекцией (генераторов теплого воздуха, использующих для обогрева воздуха сжигание газов), предназначенных для отопления жилых помещений, с одной или несколькими атмосферными горелками, с открытой или герметичной камерой сгорания без вентиляторов для подачи воздуха в зону горения и/или для удаления газообразных продуктов сгорания. Настоящий стандарт распространяется на приборы типов B11, B11AS, B11BS, C11, C21, C31 и C41 с номинальной тепловой мощностью не более 100 кВт, которые предназначены для использования в помещениях, состоящих, как правило, только из одной жилой комнаты. Теплообмен может осуществляться по воздуховодам. Настоящий стандарт не распространяется на следующие приборы: - приборы для установки на открытом воздухе; - комбинированные приборы в кондиционерах (для нагрева и охлаждения); - приборы, в которых воздух нагревается при помощи промежуточной жидкости; - приборы с горелками на искусственной тяге; - приборы с ручным или автоматическим устройством для настройки расхода подводимого в зону горения воздуха или отвода газообразных продуктов сгорания (включая заслонки дымоходов); - переносные или транспортируемые воздухонагреватели с принудительной конвекцией; - приборы с несколькими нагревательными элементами, оснащенные только одним стабилизатором тяги; - приборы, оснащенные более чем одним отводом газообразных продуктов сгорания; - приборы типов С21 и С41, эксплуатируемые с газами третьего семейств
Расположен в:Государственные стандарты Общероссийский классификатор стандартов Бытовая техника и торговое оборудование. Отдых. Спорт Бытовые, торговые и промышленные нагревательные приборы Газовые нагреватели Классификатор государственных стандартов Машины, оборудование и инструмент Машины и оборудование для тяжелой индустрии Классификация, номенклатура и общие нормы Окп Продукция химического и нефтяного машиностроения Оборудование прочее Оборудование газопотребляющее промышленное Воздухоподогреватели газовые, рекуператоры Технические регламенты РФ Технический регламент о безопасности аппаратов, работающих на газообразном топливе Газоиспользующее оборудование, предназначенное для приготовления пищи, отопления и горячего водоснабжения Аппараты отопительные газовые бытовые - код ОКП 485811 Технические регламенты Таможенного союза О безопасности аппаратов, работающих на газообразном топливе Перечень стандартов к техническому регламенту Таможенного союза Перечень стандартов,в результате применения которых на добровольной основе обеспечивается соблюдение требований технического регламента Таможенного союза «О безопасности аппаратов, работающих на газообразном топливе» Газоиспользующее оборудование, предназначенное для приготовления пищи, отопления и горячего водоснабжения Перечень стандартов, содержащих правила и методы исследований и измерений, в том числе правила отбора образцов, необходимые для применения и исполнения требований технического регламента Таможенного союза «О безопасности аппаратов, работающих на... Газоиспользующее оборудование, предназначенное для приготовления пищи, отопления и горячего водоснабжения
ГОСТ Р 53635-2009ГОСТ Р 53635-2009ГОСТ Р 53635-2009ГОСТ Р 53635-2009ГОСТ Р 53635-2009ГОСТ Р 53635-2009ГОСТ Р 53635-2009ГОСТ Р 53635-2009ГОСТ Р 53635-2009ГОСТ Р 53635-2009ГОСТ Р 53635-2009ГОСТ Р 53635-2009ГОСТ Р 53635-2009ГОСТ Р 53635-2009ГОСТ Р 53635-2009ГОСТ Р 53635-2009ГОСТ Р 53635-2009ГОСТ Р 53635-2009ГОСТ Р 53635-2009ГОСТ Р 53635-2009ГОСТ Р 53635-2009ГОСТ Р 53635-2009ГОСТ Р 53635-2009ГОСТ Р 53635-2009ГОСТ Р 53635-2009ГОСТ Р 53635-2009ГОСТ Р 53635-2009ГОСТ Р 53635-2009ГОСТ Р 53635-2009ГОСТ Р 53635-2009ГОСТ Р 53635-2009ГОСТ Р 53635-2009ГОСТ Р 53635-2009ГОСТ Р 53635-2009ГОСТ Р 53635-2009ГОСТ Р 53635-2009ГОСТ Р 53635-2009ГОСТ Р 53635-2009ГОСТ Р 53635-2009ГОСТ Р 53635-2009ГОСТ Р 53635-2009ГОСТ Р 53635-2009ГОСТ Р 53635-2009ГОСТ Р 53635-2009ГОСТ Р 53635-2009ГОСТ Р 53635-2009ГОСТ Р 53635-2009ГОСТ Р 53635-2009ГОСТ Р 53635-2009ГОСТ Р 53635-2009ГОСТ Р 53635-2009ГОСТ Р 53635-2009ГОСТ Р 53635-2009ГОСТ Р 53635-2009ГОСТ Р 53635-2009ГОСТ Р 53635-2009ГОСТ Р 53635-2009ГОСТ Р 53635-2009ГОСТ Р 53635-2009ГОСТ Р 53635-2009ГОСТ Р 53635-2009ГОСТ Р 53635-2009ГОСТ Р 53635-2009ГОСТ Р 53635-2009ГОСТ Р 53635-2009ГОСТ Р 53635-2009ГОСТ Р 53635-2009ГОСТ Р 53635-2009ГОСТ Р 53635-2009ГОСТ Р 53635-2009

© 2013 Ёшкин Кот :-) Карта сайта