| Обозначение: |  ГОСТ 4609-49 |
| Статус: | действующий |
| Название рус.: | Оборудование сливо-наливное для горючих и легковоспламеняющихся жидкостей. Стояк сливно-наливной одиночный с ручным насосом |
| Название англ.: | Filling-draining equipment for flammable and highly inflammable liquids. Single filling-draining standpipe with manual pump |
| Дата актуализации текста: | 06.04.2015 |
| Дата актуализации описания: | 01.07.2023 |
| Дата издания: | 01.05.1987 |
| Дата введения: | 01.05.1949 |
| Код ОКП: | 526500 |
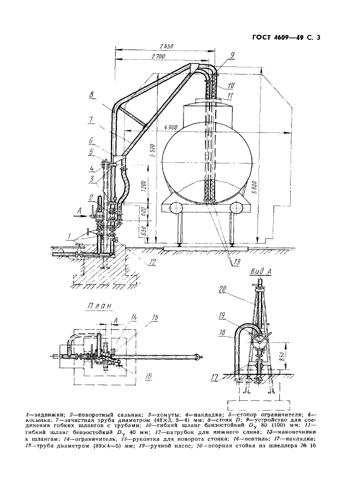
| Область применения: | Настоящий стандарт распространяется на одиночные сливо-наливные стояки, служащие для ручного, механизированного или самотечного слива горючих и легковоспламеняющихся жидкостей из вагонов-цистерн с помощью ручного насоса, а также для налива в вагоны-цистерны перекачивающими средствами базы или склада горючего. Настоящий стандарт устанавливает внешние строительные и монтажные размеры стояков |
|
| Расположен в: |
|