| Обозначение: |  ГОСТ 7511-73 |
| Статус: | действующий |
| Название рус.: | Профили стальные для оконных и фонарных переплетов и оконных панелей промышленных зданий. Технические условия |
| Название англ.: | Steel sections for window and lantern transoms and window panels of industrial buildings. Specifications |
| Дата актуализации текста: | 06.04.2015 |
| Дата актуализации описания: | 01.07.2023 |
| Дата издания: | 01.03.2003 |
| Дата введения: | 01.01.1975 |
| Код ОКП: | 110011 |
| Взамен: | ГОСТ 7511-58 |
| Нормативные ссылки: | ГОСТ 162-90; ГОСТ 166-89; ГОСТ 427-75; ГОСТ 535-88; ГОСТ 5378-88; ГОСТ 6507-90; ГОСТ 7502-89; ГОСТ 11474-76; ГОСТ 14637-89; ГОСТ 16523-89 |
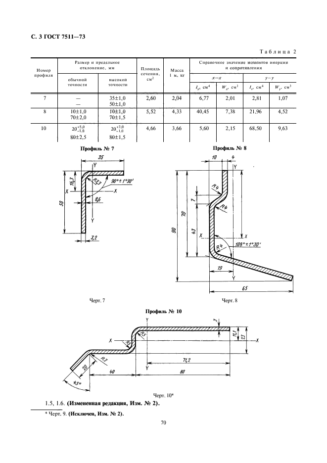
| Область применения: | Настоящий стандарт распространяется на горячекатаные и гнутые профили, предназначенные для изготовления оконных и фонарных переплетов и оконных панелей промышленных зданий |
| Список изменений: | №1 от 01.01.1985 (рег. 30.07.1984) «Срок действия продлен» №2 от 01.01.1990 (рег. 27.03.1989) «Срок действия продлен» №3 от 01.04.1991 (рег. 16.10.1990) «Срок действия продлен» |
|
| Расположен в: |
|