| Обозначение: |  ГОСТ Р 50044-92 |
| Статус: | заменён |
| Название рус.: | Микросхемы интегральные и приборы полупроводниковые для поверхностного монтажа. Требования к конструкции |
| Название англ.: | Integrated microcircuits and semiconductor device service mounted technology. Requirements to packages |
| Дата актуализации текста: | 06.04.2015 |
| Дата актуализации описания: | 01.07.2023 |
| Дата издания: | 01.09.1994 |
| Дата введения: | 01.07.1993 |
| Дата окончания срока действия: | 01.01.2011 |
| Код ОКП: | 633000 |
| Заменяющий: | ГОСТ Р 50044-2009 |
| Содержит требования: | IEC 60191-6(1990) |
| Нормативные ссылки: | ГОСТ 17467-88; ГОСТ 18472-88; ГОСТ 25347-82 |
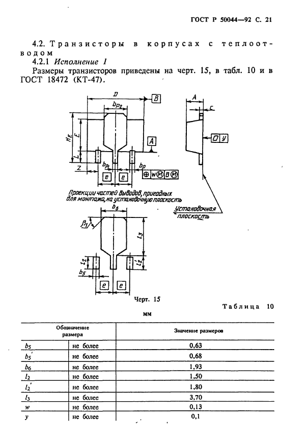
| Область применения: | Настоящий стандарт распространяется на интегральные микросхемы (ИС) и полупроводниковые приборы (ПП), предназначенные для использования в технологии поверхностного монтажа, и устанавливает требования к их перспективным конструкциям и выбору унифицированных размеров. Стандарт является обязательным документом при разработке изделий для поверхностного монтажа, обеспечивающих выполнение требований автоматизированной сборки аппаратуры |
|
| Расположен в: |
|