|
ФЕДЕРАЛЬНОЕ АГЕНТСТВО |
||
|
|
НАЦИОНАЛЬНЫЙ |
ГОСТ Р ИСО |
Сварка
ТЕРМИНЫ МНОГОЯЗЫЧНЫЕ ДЛЯ СВАРНЫХ СОЕДИНЕНИЙ
ISO 17659:2002
Welding - Multilingual terms for welded joints with illustrations
(IDT)
|
|
Москва Стандартинформ 2010 |
Цели и принципы стандартизации в Российской Федерации установлены Федеральным законом от 27 декабря 2002 г. № 184-ФЗ «О техническом регулировании», а правила применения национальных стандартов Российской Федерации - ГОСТ Р 1.0-2004 «Стандартизация в Российской федерации. Основные положения»
Сведения о стандарте
1 ПОДГОТОВЛЕН Федеральным государственным учреждением «Научно-учебный центр «Сварка и контроль» при МГТУ им. Н.Э. Баумана (ФГУ НУЦСК при МГТУ им. Н.Э. Баумана), Национальным агентством контроля и сварки (НАКС) и Санкт-Петербургским государственным политехническим университетом (СПбГПУ) на основе собственного аутентичного перевода стандарта, указанного в пункте 4
2 ВНЕСЕН Техническим комитетом по стандартизации ТК364 «Сварка и родственные процессы»
3 УТВЕРЖДЕН И ВВЕДЕН В ДЕЙСТВИЕ Приказом Федерального агентства по техническому регулированию и метрологии от 4 августа 2009 г. № 279-ст
4 Настоящий стандарт идентичен международному стандарту ИСО 17659:2002 «Сварка. Многоязычные термины для сварных соединений с рисунками» (ISO 17659:2002 «Welding - Multilingual terms for welded joints with illustrations»).
Наименование настоящего стандарта изменено относительно наименования указанного международного стандарта для приведения в соответствие с ГОСТ Р 1.5-2004 (пункт 3.5).
При применении настоящего стандарта рекомендуется использовать вместо ссылочных международных стандартов соответствующие им национальные стандарты, сведения о которых приведены в дополнительном приложении Б
5 ВВЕДЕН ВПЕРВЫЕ
Информация об изменениях к настоящему стандарту публикуется в ежегодно издаваемом информационном указателе «Национальные стандарты», а текст изменений и поправок - в ежемесячно издаваемых информационных указателях «Национальные стандарты». В случае пересмотра (замены) или отмены настоящего стандарта соответствующее уведомление будет опубликовано в ежемесячно издаваемом информационном указателе «Национальные стандарты». Соответствующая информация, уведомление и тексты размещаются также в информационной системе общего пользования - на официальном сайте Федерального агентства по техническому регулированию и метрологии в сети Интернет
Международный стандарт ИСО 17659 разработан техническим комитетом ИСО/ТК 44 «Сварка и родственные процессы», подкомитетом ПК 7 «Термины и определения».
Тип соединения и подготовка соединения под сварку являются важными составляющими сварных конструкций и зависят от толщины деталей, материалов, процесса сварки и положения сварного шва в пространстве. Поэтому при чтении на разных языках необходимо, чтобы эквивалентные термины толковались однозначно; недоразумения могут иметь серьезные и даже опасные последствия.
Цель данного стандарта - дать однозначное представление сварочных терминов общего употребления. Схематические изображения привязаны к русским, английским и французским терминам, однако, при необходимости, их можно адаптировать, добавляя соответствующие термины на других языках.
ГОСТ Р ИСО 17659-2009
НАЦИОНАЛЬНЫЙ СТАНДАРТ РОССИЙСКОЙ ФЕДЕРАЦИИ
Сварка
ТЕРМИНЫ МНОГОЯЗЫЧНЫЕ ДЛЯ СВАРНЫХ СОЕДИНЕНИЙ
Welding. Multilingual terms for welded joints
Дата введения - 2010-07-01
Настоящий стандарт описывает с помощью графического изображения большинство наиболее употребительных терминов на русском, английском и французском языках, относящихся к типам соединений, их подготовке и сварным швам.
Настоящий стандарт может использоваться самостоятельно или совместно с другими подобными стандартами.
Примечания
1 Приведенные в настоящем стандарте рисунки являются лишь эскизами, служащими для пояснения характерных особенностей различных типов соединения. Необязательно изображать эти рисунки в таком же виде на проектных или технических чертежах (например, согласно ИСО 2553).
2 В настоящем стандарте приведены эквивалентные термины на трех официальных языках ИСО (русском, английском и французском).
Нижеследующие нормативные ссылки содержат положения, которые посредством ссылок в данном тексте составляют положения международного стандарта. Если ссылки датированы, то последующие поправки к ним или их пересмотры не используют. Однако участвующим сторонам соглашений на основе настоящего стандарта рекомендуется выяснить возможность применения самых последних изданий нормативных документов, указанных ниже. Поскольку ссылки не датированы, то используют последнее издание документа, на который дается ссылка.
ИСО 857-1 Сварка и родственные процессы. Словарь. Часть 1. Процессы сварки металлов
ИСО 2553 Соединения сварные и паяные. Условные обозначения на чертежах
В настоящем стандарте применены следующие термины с соответствующими определениями.
|
3.1 |
3.1 |
3.1 |
|
соединение: Сочленение деталей, которые уже соединены или должны быть соединены. |
joint the junction of workpieces or the edges of workpieces that are to be joined or have been joined |
assemblage disposition relative des pièces ou des bords des pièces à souder ou qui ont été soudé(e)s |
|
3.2 |
3.2 |
3.2 |
|
сварка плавлением: Сварка, осуществляемая оплавлением сопрягаемых поверхностей без приложения внешней силы, обычно, но необязательно, добавляется расплавленный присадочный металл. |
fusion welding welding involving localized melting without the application of external force in which the fusion surface(s) has (have) to be melted
|
soudage par fusion soudage avec fusion locale sans application d'effort extérieur, dans lequel les faces а souder sont fondues
|
|
|
NOTE Filler metal may or may not be added |
NOTE Un métal d'apport peut ou non être utilisé. |
|
3.3 |
3.3 |
3.3 |
|
сварка давлением: Сварка, осуществляемая приложением внешней силы и сопровождаемая пластическим деформированием сопрягаемых поверхностей, обычно без присадочного металла. |
welding using pressure welding in which sufficient external force is applied to cause more or less plastic deformation of both the contact surfaces, generally without the addition of filler metal |
soudage avec pression procédé de soudage dans lequel un effort extérieur suffisant est appliqué pour provoquer une déformation plastique plus ou moins forte des faces à souder, en général sans métal d'apport |
|
Примечание - Сопрягаемые поверхности допускается нагревать, чтобы облегчить получение соединения (ИСО 857-1 ). |
NOTE The faying surfaces may be heated to permit or facilitate о-joining. [ISO 857-1] |
NOTE Les faces à souder peuvent кtre chauffées afin de permettre ou de faciliter la liaison. |
|
3.4 |
3.4 |
3.4 |
|
сопрягаемая поверхность: Поверхность одной детали, которая предназначена для соединения с поверхностью другой детали для формирования соединения. |
faying surface surface of one component that is intended to be in contact with a surface of another component to form a joint |
face à souder surface de l'une des pièces destinée à кtre mise en contact avec une surface d'une autre pièce pour constituer un assemblage |
|
3.5 |
3.5 |
3.5 |
|
частичное проплавление: Проплавление, которое преднамеренно не является полным. |
partial penetration penetration that is intentionally not full penetration |
pénétration partielle pénétration volontairement moindre qu'une pleine pénétration |
|
3.6 |
3.6 |
3.6 |
|
неполное проплавление: Проплавление, глубина которого менее установленной. |
incomplete penetration penetration that is less than that required or specified |
manque de pénétration pénétration moindre que celle exigée ou spécifiée |
|
3.7 |
3.7 |
3.7 |
|
стыковое соединение: Тип соединения, при котором детали лежат в одной плоскости и примыкают друг к друг торцовыми поверхностями. |
butt joint type of joint where the parts lie approximately in the same plane and abut against one another |
assemblage bout а bout type d'assemblage dans lequel les pièces sont situées approximativement dans un mкme plan et sont en contact entre elles |
|
3.8 |
3.8 |
3.8 |
|
параллельное соединение: Тип соединения, при котором детали параллельны друг другу, например при плакировании взрывом. |
parallel joint type of joint where the parts lie parallel to each other, e.g. in explosive cladding |
assemblage а recouvrement total type d'assemblage dans lequel les pièces sont situées dans des plans parallèles en se recouvrant totalement, par exemple en placage par explosion |
|
3.9 |
3.9 |
3.9 |
|
нахлесточное соединение: Тип соединения, при котором детали параллельны друг другу и частично перекрывают друг друга. |
lap joint type of joint where the parts lie parallel to each other and overlap each other |
assemblage а recouvrement type d'assemblage dans lequel les pièces sont situées dans des plans parallèles en se recouvrant partiellement |
|
3.10 |
3.10 |
3.10 |
|
тавровое соединение под прямым углом: Тип соединения, при котором детали сопрягаются под прямым углом (образуя Т-образную форму). |
T-joint type of joint where the parts meet each other at approximately right angles (forming a T-shape) |
assemblage en T type d'assemblage dans lequel les pièces sont approximativement perpendiculaires entre elles, formant un T |
|
3.11 |
3.11 |
3.11 |
|
крестообразное соединение: Тип соединения, при котором две детали, лежащие в одной плоскости, примыкают под прямым углом к третьей детали, лежащей между ними (образуя двойную Т-образную форму). |
cruciform joint type of joint where two parts lying in the same plane each meet, at right angles, a third part lying between them (forming a double T-shape) |
assemblage en croix type d'assemblage dans lequel deux pièces situées dans un mкme plan sont perpendiculaires а une troisième, formant un double T |
|
3.12 |
3.12 |
3.12 |
|
тавровое соединение под острым углом: Тип соединения, при котором одна деталь примыкает к другой под острым углом. |
angle joint type of joint where one part meets the other at an acute angle |
assemblage en angle а forte inclinaison type d'assemblage dans lequel les pièces forment entre elles un angle ouvert et un angle fermé |
|
3.13 |
3.13 |
3.13 |
|
угловое соединение: Тип соединения, при котором угол между поверхностями двух деталей в месте примыкания кромок свыше 30°. |
corner joint type of joint where two parts meet at their edges at an angle greater than 30° to each other |
assemblage en angle extérieur type d'assemblage dans lequel deux pièces en contact par un chant ou par leurs arкtes forment entre elles un angle supérieur а 30° |
|
3.14 |
3.14 |
3.14 |
|
торцовое соединение: Тип соединения, при котором угол между поверхностями двух деталей в месте примыкания кромок составляет от 0° до 30°. |
edge joint type of joint where two parts meet at their edges at an angle of 0° to 30° |
assemblage sur chant type d'assemblage dans lequel deux pièces en contact par leurs arкtes forment entre elles un angle compris entre 0° et 30° |
|
3.15 |
3.15 |
3.15 |
|
соединение нескольких деталей: Тип соединения, при котором не менее трех деталей примыкают друг к другу под любым установленным углом. |
multiple joint type of joint where three or more parts meet at any required angle to each other |
assemblage а joints multiples type d'assemblage dans lequel trios pièces ou plus forment entre elles des angles de valeur quelconque |
|
3.16 |
3.16 |
3.16 |
|
перекрестное соединение: Тип соединения, при котором две детали (например, проволоки) лежат друг на друге пересекаясь. |
cross joint type of joint where two parts (e.g. wires) lie crossing over each other |
assemblage de fils en croix assemblage de ronds en croix type d'assemblage dans lequel deux pièces, par exemple des fils ou des ronds, forment une croix |
|
3.17 |
3.17 |
3.17 |
|
максимальная толщина шва: Значение, измеряемое от самой глубокой точки проплавления углового шва или крайней точки корня стыкового шва до наивысшей точки выпуклости шва. |
maximum throat thickness dimension measured from the deepest point of the penetration in fillet welds or the extremity of the root run in butt welds to the highest point of the excess weld metal |
gorge totale (soudures d'angle) épaisseur totale (soudures bout а bout) soudures d'angle distance mesurée entre le point le plus bas de la pénétration et le point le plus haut de la surépaisseur soudures bout а bout distance mesurée entre le point le plus bas de la passe de fond et le point le plus haut de la surépaisseur |
|
Примечание - Измерение обычно проводят по поперечному сечению шва. |
NOTE This is usually measured from a cross-section. |
NOTE Cette distance est habituellement mesurée sur une coupe transversale. |
|
3.18 |
3.18 |
3.18 |
|
проектная толщина шва: Толщина шва, установленная проектировщиком. |
design throat thickness throat thickness specified by the designer |
gorge théorique(soudures d'angle) épaisseur théorique (soudures bout а bout) gorge spécifiée par le concepteur |
|
3.19 |
3.19 |
3.19 |
|
теоретическая толщина углового шва: Высота наибольшего равнобедренного треугольника, который можно вписать в сечение выполненного шва; теоретическая толщина стыкового шва: Минимальное расстояние от поверхности детали до корня шва (ИСО 2553). |
actual throat thickness (fillet welds), the value of the height of the largest isosceles triangle that can be inscribed in the section of the finalized weld (butt welds), the minimum distance from the surface of the part to the bottom of the penetration [ISO 2553] |
gorge réelle (soudures d'angle) épaisseur réelle (soudures bout а bout) (soudures d'angle) hauteur duplus grand triangle isocèle pouvant кtre inscrit dans la soudure terminée (soudures bout а bout) distance minimale de la surface de la pièce а la partie inférieure de la penetration envers [ISO 2553] |
|
3.20 |
3.20 |
3.20 |
|
эффективная толщина шва: Размер, который определяет передачу нагрузки и зависит от формы и глубины проплавле-ния шва. |
effective throat thickness dimension that is responsible for carrying the load, dependent on the shape and penetration of the weld |
gorge efficace(soudures d'angle) épaisseur efficace (soudures bout а bout) dimension qui transmet l'effort et qui dépend de la forme géométrique et de la pénétration de la soudure |
|
3.21 |
3.21 |
3.21 |
|
катет углового шва: Сторона наибольшего равнобедренного треугольника, который можно вписать в сечение шва. |
leg length side of the largest isosceles triangle that can be inscribed in the section |
côté soudures d'angle côté du plus grand triangle isocèle inscrit dans la section |
Последующие таблицы отображают общепринятое употребление терминов на разных языках, но термины, показанные как эквивалентные, необязательно в точности соответствуют друг другу по значению и определению. В частности, английский термин «fusion face» («расплавляемая поверхность») относится к любой части поверхности заготовки, расплавляемой во время сварки; в зависимости от контекста этот термин может соответствовать французским терминам «face à souder» или «face du chanfrei».
Сравнимые термины, применяемые в США, приведены в приложении А.
Тип соединения определяют количеством, размерами и относительной ориентацией соединяемых деталей. На рисунке 1 схематично показаны примеры с соответствующими терминами и пояснениями.

Рисунок 1 - Типы соединений
Figure 1 - Types of joints
Figure 1 - Types d'assemblages
Рисунки 2-11 и таблицы 1-5 иллюстрируют термины, относящиеся к подготовке соединений и геометрии соединений. Обозначения, показанные на рисунках, приведены перед соответствующими терминами. Линейные размеры и углы показаны числами, а поверхности - буквами. Рисунки приведены в описательных целях и не могут быть основой для технических чертежей.
Рисунки 2-8 относятся к типам подготовки соединений и геометрии соединений при сварке плавлением, рисунки 9-11 - при сварке давлением.
В некоторых случаях соответствующие цифровые обозначения на разных рисунках относятся к одним и тем же терминам, однако это не всегда справедливо для всех рисунков, приведенных в настоящем стандарте.

Рисунок 2 - Подготовка под сварку стыкового
соединения без скоса кромок
Figure 2 - Preparation for square butt weld
Figure 2 - Préparation pour soudure bout
à bout sur bords droits

Рисунок 3 - Подготовка под сварку стыкового соединения со скосом
одной кромки с притуплением и с подкладкой
Figure 3 - Preparation for single bevel butt weld with backing
Figure 3 - Préparation pour soudure en demi-Y
avec support

Рисунок 4 - Подготовка под сварку стыкового соединения с V-образным скосом кромок и с
притуплением
Figure 4 - Preparation for single V-butt weld
Figure 4 - Préparation en Y

Рисунок 5 - Подготовка под сварку стыкового соединения с U-образным скосом кромок
Figure 5 - Preparation for single U-butt weld
Figure 5 - Préparation en U
Таблица 1 - Термины, относящиеся к подготовке стыковых соединений
|
Позиция |
Русский |
English |
Français |
|
А |
Лицевая поверхность детали |
upper workpiece surface |
face supérieure de la pièce |
|
В |
Обратная сторона детали |
reverse side |
face inférieure de la pièce |
|
С |
Боковая кромка пластины |
plate edge |
chant de la pièce |
|
Da |
Расплавляемая поверхность (без скоса кромки) |
fusion face (unprepared) |
face à souder |
|
Еа |
Расплавляемая поверхность (со скосом кромки) |
fusion face (prepared) |
face du chanfrein |
|
F |
Поверхность притупления кромки |
root face |
méplat, talon |
|
X |
Подкладка |
weld pool backing |
latte-support |
|
1 |
Толщина пластины |
plate thickness |
épaisseur de la pièce |
|
3 |
Боковое ребро детали |
side edge of workpiece |
arête latérale de la pièce |
|
4а, 11а |
Зазор между свариваемыми поверхностями |
Root gap |
écartement des bords |
|
5 |
Ребро стыкуемой поверхности |
Side of gap face |
arête longitudinale du joint |
|
6 |
Боковое ребро расплавляемой поверхности |
Side of fusion face |
arкte latérale du joint |
|
7 |
Длина соединения |
Joint length |
longueur du joint |
|
8 |
Продольное ребро скошенной кромки |
longitudinal edge of preparation |
arête longitudinale du chanfrein |
|
9 |
Толщина соединения |
joint thickness |
profondeur du joint |
|
10 |
Радиус при вершине разделки |
root radius |
rayon à fond de chanfrein |
|
12 |
Притупление кромки |
depth of root face |
hauteur du talon |
|
14 |
Боковое ребро притупления кромки |
side edge of root face |
arête faciale du talon |
|
15 |
Боковое ребро скошенной кромки |
side edge of preparation |
arête faciale du chanfrein |
|
16 |
Ширина обработки кромки |
width of preparation |
largeur du chanfrein |
|
17 |
Угол скоса кромки |
angle of bevel |
angle du chanfrein |
|
18 |
Глубина обработки кромки |
depth of preparation |
profondeur du chanfrein |
|
19 |
Ширина скошенной поверхности кромки |
width of prepared face |
largeur de la face du chanfrein |
|
20 |
Ширина разделки |
joint width |
largeur de l'ouverture |
|
21 |
Угол разделки кромок |
included angle |
angle d'ouverture |
|
44 |
Выступ кромки |
land |
lèvre |
|
|
а См. раздел 4 об использовании эквивалентных терминов. |
a See Clause 4, use of equivalent terms. |
a Voir article 4, utilisation de termes équivalents. |

Рисунок 6 - Подготовка под
сварку таврового соединения
Figure 6 - Preparation for fillet weld (T-joint)
Figure 6 - Préparation
pour soudures d'angle sur assemblage en T

Рисунок 7 - Подготовка под сварку таврового соединения с
двусторонним скосом кромки
Figure 7 - Preparation for double-bevel T-butt welds
Figure 7 - Préparation pour soudures d'angle
sur assemblage en T avec double
chanfrein
Таблица 2 - Термины, относящиеся к подготовке тавровых соединений
|
Позиция |
Русский |
English |
Français |
|
Е |
Расплавляемая поверхность |
fusion face (prepared) |
face du chanfrein |
|
1а |
Расплавляемая поверхность |
fusion face (fillet weld) |
face à souder |
|
1 |
Толщина пластины |
plate thickness |
épaisseur de la pièce |
|
4, 11а |
Зазор между свариваемыми деталями |
root gap |
écartement des bords |
|
7а |
Длина соединения |
joint length |
longueur du joint |
|
8 |
Продольное ребро скошенной кромки |
longitudinal edge of preparation |
arête longitudinale du chanfrein |
|
12 |
Притупление кромки |
depth of root face |
hauteur du talon |
|
13 |
Продольное ребро притупления кромки |
longitudinal edge of root face |
arête longitudinale du talon |
|
14 |
Боковое ребро притупления кромки |
side edge of root face |
arête faciale du talon |
|
15 |
Боковое ребро скошенной кромки |
side edge of preparation |
arête faciale du chanfrein |
|
16 |
Ширина обработки кромки |
width of preparation |
largeur du chanfrein |
|
17 |
Угол скоса кромки |
angle of bevel |
angle du chanfrein |
|
18 |
Глубина обработки кромки |
depth of preparation |
profondeur du chanfrein |
|
20 |
Ширина разделки |
joint width |
largeur de l'ouverture |
|
21 |
Угол разделки кромок |
included angle |
angle d'ouverture |
|
|
а См. раздел 4 об использовании эквивалентных терминов. |
a See Clause 4, use of equivalent terms. |
a Voir article 4, utilisation de termes équivalents. |

Рисунок 8 - Подготовка под сварку стыкового
соединения с отбортовкой кромок
Figure 8 - Preparation for butt weld between plates with raised edges
Figure 8 - Assemblage à bords relevés
Таблица 3 - Термины, относящиеся к подготовке стыкового соединения с отбортовкой кромок
|
Позиция |
Русский |
English |
Français |
|
Da |
Расплавляемая поверхность (без скоса кромки) |
fusion face (unprepared) |
face à souder |
|
1 |
Толщина пластины |
plate thickness |
Epaisseur de la pièce |
|
22 |
Длина отбортовки кромок |
length of raised edge |
longueur du bord relevé |
|
23 |
Продольное ребро отбортованной кромки |
longitudinal side of raised edge |
arête longitudinale du bord relevé |
|
24 |
Стык отбортованных кромок |
abutment of raised edge |
arête longitudinale du joint |
|
25 |
Высота отбортовки кромки |
depth of raised edge |
hauteur du bord relevé |
|
26 |
Радиус отбортовки кромки |
radius of raised edge |
rayon de pliage du bord |
|
|
а См. раздел 4 об использовании эквивалентных терминов |
a See Clause 4, use of equivalent terms. |
a Voir article 4, utilisation de termes йquivalents. |

Рисунок 9 - Формы соединений при
рельефной сварке
Figure 9 - Forms of projection welds
Figure 9 - Formes de bossages
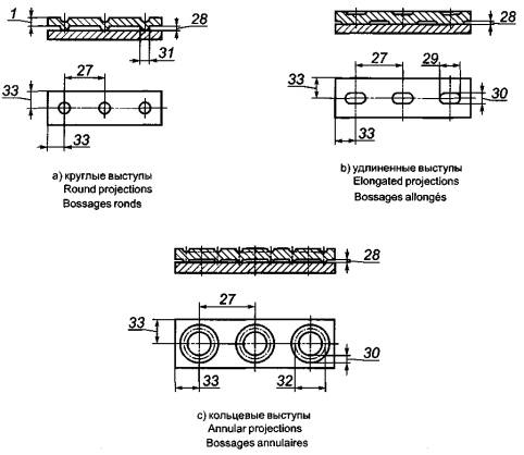
Таблица 4 - Термины, относящиеся к подготовке соединения под рельефную сварку
|
Позиция |
Русский |
English |
Français |
|
1 |
Толщина пластины |
plate thickness |
épaisseur de la pièce |
|
27 |
Шаг выступа |
pitch (of projections) |
entraxe (des bossages) |
|
28 |
Высота выступа |
projection height |
hauteur du bossage |
|
29 |
Длина выступа |
projection length |
longueur du bossage |
|
30 |
Ширина выступа |
projection width |
largeur du bossage |
|
31 |
Диаметр выступа |
projection diameter |
diamètre du bossage |
|
32 |
Диаметр кольцевого выступа |
annular projection diameter |
diamètre du bossage annulaire |
|
33 |
Расстояние до края детали |
edge distance |
distance au bord (de la pièce) |

Рисунок 10 - Сборка под контактную точечную и шовную сварки с
раздавливанием кромок
Figure 10 - Configuration for spot,
seam or mash welds
Figure 10 - Configuration pour soudurepar points,
à la molette ou
parécrasement

Рисунок 11 - Сборка под шовную контактную
стыковую сварку по фольге
Figure 11 - Configuration for foil-seam-welds
Figure 11 - Configuration pour soudure à la molette avec feuillard d'apport
Таблица 5 - Термины, относящиеся к сборке под сварку давлением нахлесточных соединений
|
Позиция |
Русский |
English |
Français |
|
G |
Область нахлестки |
lapped area |
surface de recouvrement |
|
H |
Поверхность контакта с фольгой |
foil contact surface |
surface de contact du feuillard |
|
1 |
Толщина пластины |
plate thickness |
épaisseur de la pièce |
|
2 |
Ширина детали |
workpiece |
largeur de la pièce |
|
5 |
Ребро стыкуемой поверхности |
side of gap face |
arкte longitudinale du joint |
|
34 |
Длина нахлестки |
lap length |
longueur de recouvrement |
|
35 |
Ширина нахлестки |
lap width |
largeur de recouvrement |
|
36 |
Длина фольги |
foil length |
longueur du feuillard |
|
37 |
Ширина фольги |
foil width |
largeur du feuillard |
|
38 |
Толщина фольги |
foil thickness |
épaisseur du feuillard |
Термины, относящиеся к типовым швам, выполненным сваркой плавлением, приведены на рисунке 12. На рисунке 13 схематично показаны элементы стыковых швов, на рисунках 14 и 15 - элементы угловых швов различной формы, на рисунке 16 - элементы многопроходных швов.

Рисунок 12 - Примеры швов при
сварке плавлением
Figure 12 - Typical examples of fusion
welds
Figure 12 - Exemples types de soudures par fusion
Таблица 6 - Термины, относящиеся к сварным соединениям при сварке плавлением
|
Позиция |
Русский |
English |
Français |
|
1 |
Основной металл |
parent metal |
métal de base |
|
2 |
Металл шва |
weld metal |
métal fondu |
|
3 |
Зона термического влияния |
heat-affected zone |
zone thermiquement affectйe |
|
4 |
Зона сварного соединения |
weld zone |
zone soudйe |
|
5 |
Глубина проплавления |
fusion penetration |
pénétration |
|
6 |
Граница шва |
fusion line |
zone de liaison |
|
7 |
Корень шва |
root of weld |
racine (de la soudure) |
|
8 |
Ширина шва |
weld width |
largeur de la soudure |
|
9 |
Высота выпуклости шва |
excess weld metal |
surépaisseur |
|
10 |
Катет углового шва |
leg length |
côté |
|
11 |
Высота выпуклости корня шва |
penetration bead thickness |
surépaisseur a la racine |
|
25 |
Глубина проплавления корня шва |
root penetration |
pénétration a la racine |
|
26 |
Зона проплавления |
fusion zone |
zone de dilution |

Рисунок 13 - Примеры стыковых швов
Figure 13 - Typical examples of butt welds
Figure 13 - Exemples types de soudures bout a bout
Таблица 7 - Термины, относящиеся к стыковым швам при сварке плавлением
|
Позиция |
Русский |
English |
Français |
|
12а |
Максимальная толщина шва |
maximum throat thickness |
épaisseur totale |
|
13а |
Проектная толщина шва |
design throat thickness |
épaisseur thйorique |
|
14а |
Теоретическая толщина шва |
actual throat thickness |
épaisseur réelle |
|
15а |
Эффективная толщина шва |
effective throat thickness |
épaisseur efficace |
|
16 |
Угол перехода шва к основному металлу |
weld toe angle |
angle de raccordement |
|
17 |
Длина шва |
weld length |
longueur de la soudure |
|
18 |
Чешуйчатая поверхность шва |
weld surface with bead ripples |
surface de la soudure avec vagues de solidification |
|
27 |
Ширина выпуклости корня шва |
root width |
largeur du cordon à la racine |
|
|
а См. раздел 4 об использовании эквивалентных терминов |
a See Clause 4, use of equivalent terms. |
a Voir article 4, utilization de termes équivalents. |
В связи с тем, что существуют различные формы угловых швов, необходимо учитывать различные значения размеров их толщин (см. также рисунок 12 b).

Рисунок 14 - Толщины угловых швов
Figure 14 - Throat thicknesses for fillet
welds
Figure 14 - Gorges des
soudures d'angle
Таблица 8 - Термины, относящиеся к толщине угловых швов
|
Позиция |
Русский |
English |
Français |
|
12 |
Максимальная толщина шва |
maximum throat thickness |
gorge totale |
|
13 |
Проектная толщина шва |
design throat thickness |
gorge théorique |
|
14 |
Теоретическая толщина шва |
actual throat thickness |
gorge réelle |
|
15 |
Эффективная толщина шва |
effective throat thickness |
gorge efficace |

Рисунок 15 - Примеры угловых швов различной формы
Figure 15 - Typical examples of fillet welds with different shapes
Figure 15 - Exemples types de soudures d'angle avec différentes
configurations

Рисунок 16 - Примеры многопроходных швов при сварке плавлением
Figure 16 - Typical examples of multi-run fusion welds
Figure 16 - Exemples types de soudures par fusion multipasses
Таблица 9 - Термины, относящиеся к соединениям с многопроходными швами при сварке плавлением
|
Позиция |
Русский |
English |
Français |
|
5 |
Глубина проплавления |
fusion penetration |
pénétration |
|
10 |
Катет углового шва |
leg length |
côté |
|
11 |
Высота выпуклости корня шва |
penetration bead thickness |
surépaisseur à la racine |
|
19 |
Границы проходов на наружной поверхности шва |
toe |
raccordement |
|
20 |
Корневой проход |
root run |
passe de fond |
|
21 |
Слой заполняющих проходов |
layers of filling runs |
passes de remplissage |
|
22 |
Слой облицовочных проходов |
layer of capping runs |
passe(s) terminale(s) |
|
23 |
Подварочный валик |
sealing run |
reprise a l'envers |
|
24 |
Первый проход с обратной стороны |
first run on the second side |
premiиre passe l'envers |
|
25 |
Глубина проплавления корня шва |
root penetration |
pénétration a la racine |
Термины, относящиеся к типовым швам, которые выполнены сваркой давлением, приведены на рисунке 17.

Рисунок 17 - Примеры швов при
сварке давлением
Figure 17 - Typical examples of welds made using pressure
Figure 17 - Exemples types de soudures avec pression
Таблица 10 - Термины, относящиеся к швам при сварке давлением
|
Позиция |
Русский |
English |
Français |
|
4 |
Зона сварного соединения |
weld zone |
zone soudée |
|
30 |
Выдавленный металл |
upset metal |
bourrelet de refoulement |
|
31 |
Грат |
flash |
bavure |
|
32 |
Ядро сварной точки |
weld nugget |
noyau de la soudure |
|
33 |
Диаметр ядра сварной точки |
nugget diameter |
diameter du noyau |
|
34 |
Толщина ядра сварной точки |
nugget thickness |
épaisseur du noyau |
|
35 |
Вмятина |
indentation |
indentation |
|
36 |
Глубина вмятины |
indentation depth |
profondeur d'indentation |
|
37 |
Зона контакта между свариваемыми деталями |
weld interface |
interface |
|
38 |
Длина шва |
weld length |
longueur de la soudure |
|
39 |
Шаг сварных точек |
weld pitch |
entraxe (des points de soudure) |
|
40 |
Перекрытие сварных точек |
nugget overlap |
recouvrement des noyaux |
|
41 |
Продольное смещение точек в соседних рядах |
stagger |
décalage des noyaux |
|
42 |
Расстояние между рядами сварных точек |
row pitch |
écartement des rangйes |
|
43 |
Расстояние до края детали |
edge distance |
distance au bord (de la pièce) |
|
45 |
Шпилька |
stud |
goujon |
Примеры типов соединений и швов и подготовки деталей при сварке плавлением приведены на рисунках 18.01-18.39 в таблице 11.
Таблица 11
|
Рисунок |
Тип соединения |
Характеристика шва |
Подготовка деталей под сварку |
|
|
18.01
|
Р: |
Стыковое |
Проплавление полное |
Без скоса кромок и зазора |
|
Е: |
Butt |
Full penetration |
Close square |
|
|
F: |
Bout à bout |
A pleine pénétration |
Bords droits |
|
|
18.02
|
Р: |
Стыковое |
Проплавление полное |
Без скоса кромок |
|
Е: |
Butt |
Full penetration |
Close square (single-V, unprepared) |
|
|
F: |
Bout à bout |
A pleine pénétration |
Bords droits |
|
|
18.03
|
Р: |
Стыковое |
Проплавление полное |
Отбортовка кромок |
|
Е: |
Butt |
Full penetration |
Raised edges |
|
|
F: |
Bout à bout |
A pleine pénétration |
Bords relevés |
|
|
18.04
|
Р: |
Стыковое |
Проплавление частичное |
Без скоса кромок и зазора |
|
Е: |
Butt |
Partial penetration |
Close square |
|
|
F: |
Bout à bout |
À pénétration partielle |
Bords droits |
|
|
18.05
|
Р: |
Стыковое |
Двусторонний с полным проплавлением |
Без скоса кромок и зазора |
|
Е: |
Butt |
Full penetration butt welded from both sides |
Close square |
|
|
F: |
Bout à bout |
À pleine pénétration, exécutée des deux côtés |
Bords droits |
|
|
18.06
|
Р: |
Стыковое |
Проплавление полное |
V-образный скос кромок с притуплением и с зазором |
|
Е: |
Butt |
Full penetration |
Single-V with root faces and root gap |
|
|
F: |
Bout à bout |
À pleine pénétration |
En V |
|
|
18.07
|
Р: |
Стыковое |
Проплавление полное |
Без скоса кромок с зазором и с подкладкойa |
|
Е: |
Butt |
Full penetration |
Open square with backing bara/stripa |
|
|
F: |
Bout à bout |
À pleine pénétration |
Bords droits avec latte-supporta |
|
|
18.08
|
Р: |
Стыковое |
Проплавление полное |
V-образный скос кромок и с подкладкойa |
|
Е: |
Butt |
Full penetration |
Single-V with backing bara/stripa |
|
|
F: |
Bout à bout |
À pleine pénétration |
en V avec latte-supporta |
|
|
18.09
|
Р: |
Стыковое |
Полное проплавление с подварочным швом |
V-образный скос кромок с притуплением |
|
Е: |
Butt |
Full penetration with sealing run |
Single-V with root faces |
|
|
F: |
Bout à bout |
À pleine pénétration avec reprise a l'envers |
en Y |
|
|
18.10
|
Р: |
Стыковое |
Двусторонний с полным проплавлением |
Х-образный скос кромок с притуплением и с зазором |
|
Е: |
Butt |
Full penetration welded from both sides |
Double-V with root faces and root gap |
|
|
F: |
Bout à bout |
À pleine pénétration exécutée des deux côtés |
en X ou en double V |
|
|
18.11
|
Р: |
Стыковое |
Двусторонний с частичным проплавлением |
Двусторонняя с V-образными скосами кромок и с притуплением |
|
Е: |
Butt |
Partial penetration welded from both sides |
Double-V |
|
|
F: |
Bout à bout |
А pénétration partielle exécutée des deux côtés |
en double Y |
|
|
18.12
|
Р: |
Стыковое |
Стыковой и угловой шов с частичным проплавлением |
V-образный скос кромок с притуплением |
|
Е: |
Butt |
Butt and fillet partial penetration |
Single-Vs |
|
|
F: |
Bout à bout |
А pénétration partielle exécutée des deux côtés |
Avec chanfrein en Y d'un seul côté |
|
|
18.13
|
Р: |
Стыковое |
Двусторонний с полным проплавлением |
Х-образный скос кромок с притуплением и с зазором |
|
Е: |
Butt |
Full penetration welded from both sides |
Double-V with root faces and root gap |
|
|
F: |
Bout à bout |
À pleine pénétration exécutée des deux côtés |
En X ou en double V |
|
|
18.14
|
Р: |
Стыковое |
Угловой двусторонний |
Без скоса кромок и зазора |
|
Е: |
Butt |
Fillet welded from both sides |
Close square |
|
|
F: |
Bout à bout |
À pénétration pleine exécutée des deux côtés |
Bords droits |
|
|
18.15
|
Р: |
Стыковое |
Проплавление полное |
Односторонний скос кромки с притуплением и с зазором |
|
Е: |
Butt |
Full penetration |
Single-bevel with root face and root gap |
|
|
F: |
Bout à bout |
À pleine pénétration |
En demi-V |
|
|
18.16
|
Р: |
Стыковое |
Проплавление полное с подварочным швом |
Односторонний скос кромки с притуплением и с зазором; более толстая пластина утонена |
|
Е: |
Butt |
Full penetration with sealing run |
Single-bevel with root face and root gap; thicker plate tapered |
|
|
F: |
Bout à bout |
À pleine pénétration avec reprise а l'envers |
En demi-V avec délardage de la tôle la plus épaisse |
|
|
18.17
|
Р: |
Стыковое |
Комбинированный: стыковой и угловой с подварочным швом |
Односторонний скос кромки с притуплением и с зазором |
|
Е: |
Butt |
Compound of butt and fillet with sealing run |
Single-bevel with root face and root gap |
|
|
F: |
Bout à bout |
À pleine pénétration avec reprise à l'envers, plus soudure d'angle |
En demi-V |
|
|
18.18
|
Р: |
Стыковое |
Двусторонний с полным проплавлением |
Односторонний скос кромки с притуплением и с зазором |
|
Е: |
Butt |
Full penetration welded from both sides |
Single-bevel with root face and root gap |
|
|
F: |
Bout à bout |
À pleine pénétration plus deux soudures d'angle |
En demi-V |
|
|
18.19
|
Р: |
Тавровое под прямым углом |
Проплавление полное |
Односторонний скос кромки с притуплением и с зазором |
|
Е: |
Т |
Full penetration |
Single-bevel with root face and root gap |
|
|
F: |
Еn Т |
À pleine pénétration |
En demi-V |
|
|
18.20
|
Р: |
Тавровое под прямым углом |
Угловой односторонний |
Без скоса кромки и зазора |
|
Е: |
Т |
Fillet welded from one side |
Close square |
|
|
F: |
Еn Т |
Soudure d'angle exécutée d'un seul côté à pénétration partielle |
Bords droits |
|
|
18.21
|
Р: |
Тавровое под прямым углом |
Угловой двусторонний с полным проплавлением |
Без скоса кромки и зазора |
|
Е: |
Т |
Full penetration fillet welded from both sides |
Close square |
|
|
F: |
Еn Т |
Double soudure d'angle à pleine pénétration |
Bords droits |
|
|
18.22
|
Р: |
Тавровое под прямым углом |
Угловой двусторонний |
Без скоса кромки и зазора |
|
Е: |
Т |
Fillet welded from both sides |
Close square |
|
|
F: |
Еn Т |
Double soudure d'angle à pénétration partielle |
Bords droits |
|
|
18.23
|
Р: |
Тавровое под прямым углом |
Двусторонний с полным проплавлением |
Двусторонний скос кромки с зазором |
|
Е: |
Т |
Full penetration welded from both sides |
Double bevel with root gap |
|
|
F: |
Еn Т |
À pleine pénétration exécutée des deux côtés |
En К |
|
|
18.24
|
Р: |
Тавровое под прямым углом |
Двусторонний с полным проплавлением. Комбинация стыкового и углового швов |
Двусторонний скос кромки с зазором |
|
Е: |
Т |
Full penetration welded from both sides Combined butt and fillets |
Double bevel with root gap |
|
|
F: |
Еn Т |
Double soudure d'angle à pleine pénétration plus soudures d'angle |
En К |
|
|
18.25
|
Р: |
Тавровое под прямым углом |
Двусторонний с частичным проплавлением |
Двусторонний скос кромки с притуплением |
|
Е: |
Т |
Partial penetration welded from both sides |
Double bevel |
|
|
F: |
Еn Т |
Double soudure d'angle à pénétration partielle |
En demi-Y double |
|
|
18.26
|
Р: |
Тавровое под острым углом |
Проплавление полное |
Односторонний скос кромки с зазором |
|
Е: |
Angle |
Full penetration |
Single-bevel with root gap |
|
|
F: |
En angle à faible inclinaison |
À pleine pénétration dans l'angle ouvert |
En demi-V |
|
|
18.27
|
Р: |
Тавровое под острым углом |
Угловой |
Без скоса кромки и зазора |
|
Е: |
Angle |
Fillet |
Close square |
|
|
F: |
En angle à forte inclinaison |
À pleine pénétration dans l'angle ouvert |
À bord droit |
|
|
18.28
|
Р: |
Крестообразное |
Стыковой двусторонний с полным проплавлением |
Двусторонний скос кромок |
|
Е: |
Cruciform |
Full penetration butt welded from both sides |
Double bevel |
|
|
F: |
En croix |
Doubles soudures d'angle à pleine pénétration exécutées des deux côtés |
En double К |
|
|
18.29
|
Р: |
Крестообразное |
Угловой двусторонний |
Без скоса кромок и зазора |
|
Е: |
Cruciform |
Fillet welded from both sides |
Close square |
|
|
F: |
En croix |
Doubles soudures d'angle à pénétration partielle exécutées des deux côtés |
Bords droits |
|
|
18.30
|
Р: |
Нахлесточное |
Угловой |
Без скоса кромки |
|
Е: |
Lap |
Fillet |
Square edge |
|
|
F: |
À recouvrement partiel |
Soudure d'angle à clin |
Bords droits |
|
|
18.31
|
Р: |
Нахлесточное или параллельное |
Пробочный |
Отверстие(я) в одной пластине |
|
Е: |
Lap or parallel |
Plug |
Hole(s) in one plate |
|
|
F: |
A recouvrement total ou partiel |
En bouchon |
Trou(s) dans l'une des tôles |
|
|
18.32
|
Р: |
Нахлесточное или параллельное |
Угловой по замкнутому контуру |
Отверстие(я) в одной пластине |
|
Е: |
Lap or parallel |
Fillet welded all round |
Hole(s) in one plate |
|
|
F: |
À recouvrement total ou partiel |
En entaille |
Trou(s) dans l'une des tфles |
|
|
18.33
|
Р: |
Нахлесточное или параллельное |
Точечный,полученный при сварке плавлением |
Отсутствует |
|
Е: |
Lap or parallel |
Fusion spot |
None |
|
|
F: |
À recouvrement total ou partiel |
Par points par fusion |
Aucune |
|
|
18.34
|
Р: |
Угловое |
Стыковой с полным проплавлением |
Односторонний скос кромки с притуплением и с зазором |
|
Е: |
Corner |
Full penetration butt welded |
Single bevel with root face and root gap |
|
|
F: |
En angle extérieur |
À pleine pénétration |
En demi-V |
|
|
18.35
|
Р: |
Угловое |
Угловой |
Кромки обрабатываются (при необходимости) |
|
Е: |
Corner |
Fillet |
Edges prepared as necessary |
|
|
F: |
En angle extйrieur |
Soudure d'angle à pleine pénétration |
Bords droits |
|
|
18.36
|
Р |
Угловое |
Угловой двусторонний с полным проплавлением |
Без скоса кромок |
|
Е |
Corner |
Full penetration fillet welded from both sides |
Square edge |
|
|
F |
En angle extérieur |
Double soudure d'angle à pleine pénétration |
Bords droits |
|
|
18.37
|
Р |
Угловое |
Угловой двусторонний с частичным проплавлением |
Без скоса кромок |
|
Е |
Corner |
Partial fillet welded from both sides |
Square edges |
|
|
F |
En angle extérieur |
Double soudure d'angle à pénétration partielle |
Bords droits avec chevauchement partiel des pièces |
|
|
18.38
|
Р |
Торцовое |
Проплавление торцов полное |
Без скоса кромок |
|
Е |
Edge |
Edges fully covered |
Square edges |
|
|
F |
Sur chant |
Avec fusion totale des deux chants |
Bords droits |
|
|
18.39
|
Р |
Нахлестанное |
Соединение с уступом на листе |
Без скоса кромок |
|
Е |
Lap |
Joggle joint |
Square edges |
|
|
F |
А recouvrement partiel |
Soudure а bord soyé |
Bords droits |
|
|
а Может быть остающаяся или неостающаяся подкладка. а May be temporary or permanent. a La latte-support peut кtre permanent ou non. P, E, F - обозначение русского, английского и французского языков соответственно. |
||||
|
Пункт/ рисунок |
Термин на русском языке, применяемый в настоящем стандарте |
Термин на английском языке, применяемый в ИСО 17659 |
Термин, применяемый в США |
|
3.8 |
Параллельное соединение |
parellel joint |
edge joint |
|
3.11 |
Крестообразное соединение |
cruciform joint |
double T-joint |
|
3.12 |
Тавровое соединение под острым углом |
Angle joint |
skewed T-joint |
|
3.15 |
Соединение нескольких деталей |
Multiple joint |
multiple member joint |
|
2 |
Стыковое соединение без скоса кромок |
Square butt weld |
single square groove weld |
|
3 |
Стыковое соединение со скосом одной кромки |
single bevel butt weld |
single bevel groove weld |
|
4 |
Стыковое соединение с V-образным скосом кромок |
Single V-butt weld |
single V-groove weld |
|
5 |
Стыковое соединение с U-образным скосом кромок |
single U-butt weld |
single U-groove weld |
|
8 |
Стыковое соединение с отбортовкой кромок |
butt weld between plates with raised edges |
edge flanged weld |
|
В |
Рисунок/пункт |
Позиция |
|
Валик подварочный |
Рисунок 16 с) |
23 |
|
Вид стыкового шва общий |
Рисунок 13 а) |
|
|
Вмятина |
Рисунок 17 g) |
35 |
|
Высота выпуклости корня шва |
Рисунок 12 а) и 16 а), b) |
11 |
|
Высота выпуклости шва |
Рисунок 12 а), b) |
9 |
|
Высота выступа |
Рисунок 9 а), b), с) |
28 |
|
Высота отбортовки кромок |
Рисунок 8 |
25 |
|
Выступ кольцевой |
Рисунок 9с |
|
|
Выступ кромки |
Рисунок 5 |
44 |
|
Выступ круглый |
Рисунок 9 а) |
|
|
Выступ удлиненный |
Рисунок 9 b) |
|
|
Г |
|
|
|
Глубина вмятины |
Рисунок 17 g) |
36 |
|
Глубина обработки кромки |
Рисунки 4 и 7 |
18 |
|
Глубина проплавления |
Рисунок 12 а), b) и 16 е) |
5 |
|
Глубина проплавления корня шва |
Рисунок 12 b) и 16 е) |
25 |
|
Граница прохода наружной поверхности шва |
Рисунок 16 а)-е) |
19 |
|
Граница шва |
Рисунок 12 а), b) |
6 |
|
Грат |
Рисунок 17 b), с) |
31 |
|
Д |
|
|
|
Диаметр выступа |
Рисунок 9 а) |
31 |
|
Диаметр кольцевого выступа |
Рисунок 9 с) |
32 |
|
Диаметр ядра сварной точки |
Рисунок 17 d), е), g), h) |
33 |
|
Длина выступа |
Рисунок 9 b) |
29 |
|
Длина нахлестки |
Рисунок 10 |
34 |
|
Длина отбортовки кромок |
Рисунок 8 |
22 |
|
Длина соединения |
Рисунки 2, 5 и 6 |
7 |
|
Длина фольги |
Рисунок 11 |
36 |
|
Длина шва |
Рисунки 13 а) и 17 е), f) |
17, 38 |
|
З |
|
|
|
Зазор между свариваемыми поверхностями |
Рисунки 2-7 |
4 и 11 |
|
Зона контакта между свариваемыми деталями |
Рисунок 17 а), b) |
37 |
|
Зона проплавления |
Рисунок 12 а), b) |
26 |
|
Зона сварного соединения |
Рисунки 12 а), b) и 17 а), b), с) |
4 |
|
Зона термического влияния |
Рисунок 12 а), b) |
3 |
|
К |
|
|
|
Катет углового шва |
3.21; Рисунки 12 b) и 16 е) |
10 |
|
Корень шва |
Рисунок 12 а), b) |
7 |
|
Кромка пластины боковая |
Рисунок 2 |
С |
|
M |
|
|
|
Металл выдавленный |
Рисунок 17 а) |
30 |
|
Металл основной |
Рисунок 12 а), b) |
1 |
|
Металл шва |
Рисунок 12 а), b) |
2 |
|
О |
|
|
|
Область нахлестки |
Рисунок 10 |
G |
|
П |
|
|
|
Перекрытие сварных точек |
Рисунок 17 е) |
40 |
|
Поверхность детали лицевая |
Рисунки 2 и 3 |
А |
|
Поверхность контакта с фольгой |
Рисунок 11 |
H |
|
Поверхность притупления кромки |
Рисунки 3-5 |
F |
|
Поверхность расплавляемая |
Рисунки 6 и 7 |
I |
|
Поверхность расплавляемая (без скоса кромки) |
Рисунки 2, 3 и 8 |
D |
|
Поверхность расплавляемая (со скосом кромки) |
Рисунки 3, 4, 5 и 7 |
Е |
|
Поверхность сопрягаемая |
3.4 |
|
|
Поверхность шва чешуйчатая |
Рисунок 13 а) |
18 |
|
Подготовка под сварку стыкового соединения без скоса кромок |
Рисунок 2 |
|
|
Подготовка под сварку стыкового соединения со скосом одной кромки с притуплением и с подкладкой |
Рисунок 3 |
|
|
Подготовка под сварку стыкового соединения с отбортовкой кромок |
Рисунок 8 |
|
|
Подготовка под сварку стыкового соединения с U-образным скосом кромок |
Рисунок 5 |
|
|
Подготовка под сварку стыкового соединения с V-образным скосом кромок и притуплением |
Рисунок 4 |
|
|
Подготовка под сварку таврового соединения |
Рисунок 6 |
|
|
Подготовка под сварку таврового соединения с двухсторонним скосом кромок |
Рисунок 7 |
X |
|
Подкладка |
Рисунок 3 |
|
|
Примеры стыковых швов |
Рисунок 13 |
|
|
Примеры швов при сварке плавлением |
Рисунок 12 |
|
|
Притупление кромки |
Рисунки 3, 4, 5 и 7 |
12 |
|
Проплавление неполное |
3.6 |
|
|
Проход корневой |
Рисунок 16 а)-d) |
20 |
|
Проход с обратной стороны первый |
Рисунок 16 d) |
24 |
|
Р |
|
|
|
Радиус отбортовки кромки |
Рисунок 8 |
26 |
|
Радиус при вершине разделки |
Рисунок 5 |
10 |
|
Расстояние до края детали |
Рисунок 9 а), b), с) |
33 |
|
|
Рисунок 17 f) |
43 |
|
Расстояние между рядами сварных точек |
Рисунок 17 f) |
42 |
|
Ребро детали боковое |
Рисунок 2 |
3 |
|
Ребро отбортованной кромки продольное |
Рисунок 8 |
23 |
|
Ребро притупления кромки боковое |
Рисунки 4, 5 и 7 |
14 |
|
Ребро притупления кромки продольное |
Рисунки 6 и 7 |
13 |
|
Ребро расплавляемой поверхности боковое |
Рисунок 2 |
6 |
|
Ребро скошенной кромки боковое |
Рисунки 4 и 7 |
15 |
|
Ребро скошенной кромки продольное |
Рисунки 5 и 7 |
8 |
|
Ребро стыкуемой поверхности |
Рисунки 2 и 10 |
5 |
|
Ряд двойной сварных точек, расположенных в шахматном порядке |
Рисунок 17 f) |
|
|
С |
|
|
|
Сборка под контактную точечную и шовную сварки с раздавливанием кромок |
Рисунок 10 |
|
|
Сборка под шовную контактную стыковую сварку по фольге |
Рисунок 11 |
|
|
Сварка давлением |
3.3 |
|
|
Сварка плавлением |
3.2 |
|
|
Слой заполняющих проходов |
Рисунок 16 а)-d) |
21 |
|
Слой облицовочных проходов |
Рисунок 16 а)-d) |
22 |
|
Смещение точек в соседних рядах продольное |
Рисунок 17 f) |
41 |
|
Соединение |
3.1 |
|
|
Соединение крестообразное |
3.11; Рисунок 1 е) |
|
|
Соединение нахлесточное |
3.9; Рисунок 1 с) |
|
|
Соединение нескольких деталей |
3.15; Рисунок 1 i) |
|
|
Соединение параллельное |
3.8; Рисунок 1 b) |
|
|
Соединение перекрестное |
3.16; Рисунок 1 j) |
|
|
Соединение стыковое |
3.7; Рисунок 1 а) |
|
|
Соединение с уступом |
Рисунок 18.39 |
|
|
Соединение тавровое под острым углом |
3.12; Рисунок 1 f) |
|
|
Соединение тавровое под прямым углом |
3.10; Рисунок 1 d) |
|
|
Соединение торцовое |
3.14; Рисунок 1 h) |
|
|
Соединение угловое |
3.13; Рисунок 1 g) |
|
|
Сторона детали обратная |
Рисунки 2 и 3 |
В |
|
Стык отбортованных кромок |
Рисунок 8 |
24 |
|
Т |
|
|
|
Толщина пластины |
Рисунки 2-6, 8, 9 а), 10, 11 |
1 |
|
Толщина соединения |
Рисунки 2-5 |
9 |
|
Толщина фольги |
Рисунки 11 |
38 |
|
Толщина шва максимальная |
3.17; Рисунки 13 a)-d), 14 а), b) и 15 а) f) |
12 |
|
Толщина шва проектная |
3.18; Рисунки 13 а)-d), 14 а), b) и 15 а)-f) |
13 |
|
Толщина шва теоретическая |
3.19; Рисунки 14 а), b) и 15 а)-f) |
14 |
|
Толщина ядра сварной точки |
Рисунок 17 g), h) |
34 |
|
Толщины угловых швов |
Рисунок 14 |
|
|
У |
|
|
|
Угол перехода шва к основному металлу |
Рисунок 13 а) |
16 |
|
Угол разделки кромок |
Рисунки 4, 5 |
21 |
|
Угол скоса кромки |
Рисунки 4, 5 и 7 |
17 |
|
Ф |
|
|
|
Форма соединений при рельефной сварке |
Рисунок 9 |
|
|
Ш |
|
|
|
Шаг выступа |
Рисунок 9 а), b), с) |
27 |
|
Шаг сварных точек |
Рисунок 17d), f) |
39 |
|
Ширина выпуклости корня шва |
Рисунок 13 а) |
27 |
|
Ширина выступа |
Рисунок 9 b), с) |
30 |
|
Ширина детали |
Рисунок 11 |
2 |
|
Ширина нахлестки |
Рисунок 10 |
35 |
|
Ширина обработки кромки |
Рисунки 4, 5 и 7 |
16 |
|
Ширина разделки соединения |
Рисунки 3-5, 7 |
20 |
|
Ширина скошенной поверхности |
Рисунок 4 |
19 |
|
Ширина фольги |
Рисунок 11 |
37 |
|
Ширина шва |
Рисунок 12 а) |
8 |
|
Шов при приварке шпильки |
Рисунок 17 с) |
|
|
Шов при рельефной сварке |
Рисунок 17 h) |
|
|
Шов при стыковой сварке с гратом |
Рисунок 17 b) |
|
|
Шов при стыковой сварке сопротивлением |
Рисунок 17 а) |
|
|
Шов при точечной контактной сварке |
Рисунок 17 d), g) |
|
|
Шов при шовной контактной сварке |
Рисунок 17 е) |
|
|
Шов стыковой с неполным проплавлением |
Рисунок 13 с) |
|
|
Шов стыковой с V-образной разделкой кромок |
Рисунок 12 а) |
|
|
Шов стыковой с V-образной разделкой кромок и с подварочным валиком |
Рисунок 16 с) |
|
|
Шов стыковой с V-образной разделкой кромок и с притуплением |
Рисунок 16 а) |
|
|
Шов стыковой с Х-образной разделкой кромок |
Рисунок 16 d) |
|
|
Шов стыковой с полным проплавлением |
Рисунок 13 b) |
|
|
Шов стыковой таврового соединения |
Рисунок 13 d) |
|
|
Шов стыковой таврового соединения с односторонней разделкой кромки |
Рисунок 16 b) |
|
|
Шов угловой |
Рисунок 12 b) |
|
|
Шов угловой вогнутый |
Рисунок 15 b) |
|
|
Шов угловой выпуклый |
Рисунок 15 а) |
|
|
Шов угловой многопроходный |
Рисунок 16 е) |
|
|
Шов угловой с глубоким проплавлением |
Рисунок 15 f) |
|
|
Шов угловой с зазором |
Рисунок 15 с) |
|
|
Шов угловой с неполным проплавлением |
Рисунок 15 е) |
|
|
Шов угловой с разными катетами |
Рисунок 15 d) |
|
|
Шпилька |
Рисунок 17 с) |
45 |
|
Я |
|
|
|
Ядро точки сварной |
Рисунок 17 g), h) |
32 |
|
|
Figure/reference |
Identification |
|
А |
|
|
|
abutment of raised edge |
Figure 8 |
24 |
|
actual throat thickness |
3.19 |
|
|
|
Figures 14 a), b) and 15 a) to f) |
14 |
|
angle joint |
3.12; Figure 1 f) |
|
|
angle of bevel |
Figures 4, 5 and 7 |
17 |
|
annular projection diameter |
Figure 9 c) |
32 |
|
annular projections |
Figure 9 c) |
|
|
arc stud weld |
Figure 17 c) |
|
|
В |
В |
|
|
butt join |
3.7; Figure 1 a) |
|
|
butt weld T-joint |
Figure 13 d) |
|
|
butt weld with flash (flash or friction) |
Figure 17 b) |
|
|
butt weld with upset |
Figure 17 a) |
|
|
С |
С |
|
|
concave fillet weld |
Figure 15 b) |
|
|
configuration for foil-seam-welds |
Figure 11 |
|
|
configuration for spot, seam or mash welds |
Figure 10 |
|
|
convex fillet weld |
Figure 15 a) |
|
|
corner joint |
3.13; Figure 1 g) |
|
|
cross joint |
3.16; Figure 1 j) |
|
|
cruciform joint |
3.11; Figure 1 e) |
|
|
D |
D |
|
|
depth of preparation |
Figures 4 and 7 |
18 |
|
depth of raised edge |
Figure 8 |
25 |
|
depth of root face |
Figures 3, 4, 5 and 7 |
12 |
|
design throat thickness |
3.18 |
|
|
|
Figures 13 a) to d), 14 a), b) and 15 a) to f) |
13 |
|
double row of staggered, spaced spot welds |
Figure 17 f) |
|
|
double V-butt weld |
Figure 16 d) |
|
|
E |
E |
|
|
edge distance |
Figure 9 a), b), c) |
33 |
|
|
Figure 17 f) |
43 |
|
edge joint |
3.14; Figure 1 h) |
|
|
effective throat thickness |
3.20 Figures 13 b), c), d), 14 a), b) and 15 a) to f) |
15 |
|
elongated projections |
Figure 9 b) |
|
|
excess weld metal |
Figure 12 a), b) |
9 |
|
F |
F |
|
|
faying surface |
3.4 |
|
|
fillet weld |
Figure 12 b) |
|
|
fillet weld with deep penetration |
Figure 15 f) |
|
|
fillet weld with gap |
Figure 15 c) |
|
|
fillet weld with incomplete penetration |
Figure 15 e) |
|
|
fillet weld with unequal legs |
Figure 15 d) |
|
|
first run on the second side |
Figure 16 d) |
24 |
|
flash |
Figure 17 b), c) |
31 |
|
foil contact surface |
Figure 11 |
H |
|
foil length |
Figure 11 |
36 |
|
foil thickness |
Figure 11 |
38 |
|
foil width |
Figure 11 |
37 |
|
forms of projection welds |
Figure 9 |
|
|
full penetration butt weld |
Figure 13 b) |
|
|
fusion penetration |
Figure 16 e) |
5 |
|
fusion face (fillet weld) |
Figures 6 and 7 |
I |
|
fusion face (prepared) |
Figures 3, 4, 5 and 7 |
E |
|
fusion face (unprepared) |
Figures 2, 3 and 8 |
D |
|
fusion line |
Figure 12 a), b) |
6 |
|
fusion penetration |
Figures 12 a), b), 16 e) |
5 |
|
fusion welding |
3.2 |
|
|
fusion zone |
Figure 12 a), b) |
26 |
|
G |
G |
|
|
general view of butt weld |
Figure 13 a) |
|
|
H |
H |
|
|
heat-affected zone |
Figure 12 a), b) |
3 |
|
I |
I |
|
|
included angle |
Figures 3-7 |
21 |
|
incomplete penetration |
3.6 |
|
|
incomplete penetration butt weld |
Figure 13 c) |
|
|
indentation |
Figure 17 g) |
35 |
|
indentation depth |
Figure 17 g) |
36 |
|
J |
J |
|
|
joggle joint |
Figure 18.39 |
|
|
joint |
3.1 |
|
|
joint length |
Figures 2, 5 and 6 |
7 |
|
joint thickness |
Figures 2-5 |
9 |
|
joint width |
Figures 3-5 and 7 |
20 |
|
L |
L |
|
|
land |
Figure 5 |
44 |
|
lap joint |
3.9; Figure 1 c) |
|
|
lap length |
Figure 10 |
34 |
|
lapped area |
Figure 10 |
G |
|
lap width |
Figure 10 |
35 |
|
layer of capping runs |
Figure 16 a) to d) |
22 |
|
layers of filling runs |
Figure 16 a) to d) |
21 |
|
leg length |
3.21 Figures 12 b) and 16 e) |
10 |
|
length of raised edge |
Figure 8 |
22 |
|
longitudinal edge of preparation |
Figures 5 and 7 |
8 |
|
longitudinal edge of root face |
Figures 6 and 7 |
13 |
|
longitudinal side of raised edge |
Figure 8 |
23 |
|
M |
M |
|
|
maximum throat thickness |
3.17 |
|
|
|
Figures 13 a) to d), 14 a), b) and 15 a) to f) |
12 |
|
multiple joint |
3.15; Figure 1 i) |
|
|
multi-run fillet weld |
Figure 16 e) |
|
|
N |
N |
|
|
nugget diameter |
Figure 17 d), e), g), h) |
33 |
|
nugget overlap |
Figure 17 e) |
40 |
|
nugget thickness |
Figure 17 g), h) |
34 |
|
P |
P |
|
|
parallel joint |
3.8; Figure 1 b) |
1 |
|
parent metal |
Figure 12 a), b) |
|
|
partial penetration |
3.5 |
11 |
|
penetration bead thickness |
Figures 12 a) and 16 a), b) |
27 |
|
pitch (of projections) |
Figure 9 a), b), c) |
С |
|
plate edge |
Figure 2 |
1 |
|
plate thickness |
Figures 2-6, 8, 9 a), 10, 11 |
|
|
preparation for butt weld between plates with raised edges |
Figure 8 |
|
|
preparation for double-bevel T-butt welds |
Figure 7 |
|
|
preparation for fillet weld (T-joint) |
Figure 6 |
|
|
preparation for single bevel butt weld with backing |
Figure 3 |
|
|
preparation for single U-butt weld |
Figure 5 |
|
|
preparation for single V-butt weld |
Figure 4 |
31 |
|
preparation for square butt weld |
Figure 2 |
28 |
|
projection diameter |
Figure 9 a) |
29 |
|
projection height |
Figure 9 a), b), c) |
|
|
projection length |
Figure 9 b) |
30 |
|
projection weld |
Figure 17 h) |
|
|
projection width |
Figure 9 b), c) |
|
|
R |
R |
|
|
radius of raised edge |
Figure 8 |
26 |
|
resistance spot weld |
Figure 17 g) |
|
|
reverse side |
Figures 2 and 3 |
В |
|
root face |
Figures 3-5 |
F |
|
root gap |
Figures 2-7 |
4 and 11 |
|
root of weld |
Figure 12 a), b) |
7 |
|
root penetration |
Figures 12 b) and 16 e) |
25 |
|
root radius |
Figure 5 |
10 |
|
root run |
Figure 16 a) to d) |
20 |
|
root width |
Figure 13 a) |
27 |
|
round projections |
Figure 9 a) |
|
|
row pitch |
Figure 17 f) |
42 |
|
S |
S |
|
|
sealing run |
Figure 16 c) |
23 |
|
seam weld |
Figure 17 e) |
|
|
side edge of preparation |
Figures 4 and 7 |
15 |
|
side edge of root face |
Figures 4, 5 and 7 |
14 |
|
side edge of workpiece |
Figure 2 |
3 |
|
side of fusion face |
Figure 2 |
6 |
|
side of gap face |
Figures 2 and 10 |
5 |
|
single bevel T-butt weld |
Figure 16 b) |
|
|
single V-butt weld |
Figure 12 a) |
|
|
single V-butt weld with root face |
Figure 16 a) |
|
|
single V-butt weld with sealing run |
Figure 16 c) |
|
|
spot welds |
Figure 17 d) |
|
|
stagger |
Figure 17 f) |
41 |
|
stud |
Figure 17 c) |
45 |
|
T |
T |
|
|
throat thicknesses for fillet welds |
Figure 14 |
|
|
T-joint |
3.10; Figure 1 d) |
|
|
toe |
Figure 16 a) toe) |
19 |
|
typical examples of butt welds |
Figure 13 |
|
|
typical examples of fusion welds |
Figure 12 |
|
|
U |
U |
|
|
upper workpiece surface |
Figures 2 and 3 |
A |
|
upset metal |
Figure 17 a) |
30 |
|
W |
W |
|
|
welding using pressure |
3.3 |
|
|
weld interface |
Figure 17 a), b) |
37 |
|
weld length |
Figure 13 a) |
17 |
|
|
Figure 17 e), f) |
38 |
|
weld metal |
Figure 12 a), b) |
2 |
|
weld nugget |
Figure 17 g), h) |
32 |
|
weld pitch |
Figure 17 d), f) |
39 |
|
weld pool backing |
Figure 3 |
X |
|
weld surface with bead ripples |
Figure 13 a) |
18 |
|
weld toe angle |
Figure 13 a) |
16 |
|
weld width |
Figure 12 a) |
8 |
|
weld zone |
Figures 12 a), b) and 17 a), b), c) |
4 |
|
width of preparation |
Figures 4, 5 and 7 |
16 |
|
width of prepared face |
Figure 4 |
19 |
|
workpiece width |
Figure 11 |
2 |
|
|
Figure/Paragraphe |
Identification |
|
А |
|
|
|
angle d'ouverture |
Figures 3 а 7 |
21 |
|
angle de raccordement |
Figure 13 a) |
16 |
|
angle du chanfrein |
Figures 4, 5 et 7 |
17 |
|
arête faciale du chanfrein |
Figures 4 et 7 |
15 |
|
arête faciale du talon |
Figures 4, 5 et 7 |
14 |
|
arête latérale de la piиce |
Figure 2 |
3 |
|
arête latérale du joint arкte |
Figure 2 |
6 |
|
arête longitudinale du bord relevé |
Figure 8 |
23 |
|
arête longitudinale du chanfrein |
Figures 5, 7 |
8 |
|
|
Figures 2, 10 |
5 |
|
arête longitudinale du joint |
Figure 8 |
24 |
|
arête longitudinale du talon |
Figure 7 |
13 |
|
assemblage |
Paragraphe 3.1 |
|
|
assemblage а bords relevés |
Figure 8 |
|
|
assemblage à joints multiples |
Paragraphe 3.15; Figure 1 i) |
|
|
assemblage à recouvrement |
Paragraphe 3.9; Figure 1 c) |
|
|
assemblage à recouvrement total |
Paragraphe 3.8; Figure 1 b) |
|
|
assemblage bout à bout |
Paragraphe 3.7; Figure 1 a) |
|
|
assemblage de fils (ou de ronds) en croix |
Paragraphe 3.16; Figure 1 j) |
|
|
assemblage en angle а forte inclinaison |
Paragraphe 3.12; Figure 1 f) |
|
|
assemblage en angle extérieur |
Paragraphe 3.13; Figure 1 g) |
|
|
assemblage en croix |
Paragraphe 3.11; Figure 1 e) |
|
|
assemblage en T |
Paragraphe 3.10; Figure 1 d) |
|
|
assemblage sur chant |
Paragraphe 3.14; Figure 1 h) |
|
|
В |
|
|
|
bavure |
Figure 17 b) et c) |
31 |
|
bossages allongés |
Figure 9 b) |
|
|
bossages annulaires |
Figure 9 c) |
|
|
bossages ronds |
Figure 9 a) |
|
|
bourrelet de refoulement |
Figure 17 a) |
30 |
|
С |
|
|
|
chant de la pièce |
Figure 2 |
с |
|
configuration pour soudure à la molette avec feuillard d'apport |
Figure 11 |
|
|
|
|
|
|
configuration pour soudure par points, à la molette ou parécrasement |
Figure 10 |
|
|
|
|
|
|
côté |
Paragraphe 3.21; Figures 12 b) et 16 e) |
10 |
|
D |
|
|
|
décalage des noyaux |
Figure 17 f) |
41 |
|
diamètre du bossage |
Figure 9 a) |
31 |
|
diamètre du bossage annulaire |
Figure 9 c) |
32 |
|
diamètre du noyau |
Figure 17 d), e), g) et h) |
33 |
|
distance au bord (de la pièce) |
Figure 9 a), b) et c) |
33 |
|
|
Figure 17 f) |
43 |
|
double rangée de soudures par points en quinconce |
Figure 17 f) |
|
|
E |
|
|
|
écartement а la racine |
Figures 3, 4, 5 et 7 |
11 |
|
écartement des bords |
Figures 2 et 6 |
4 |
|
écartement des rangées |
Figure 17 f) |
42 |
|
entraxe (des bossages) |
Figure 9 a), b) et c) |
27 |
|
entraxe (des points de soudure) |
Figure 17 d) et f) |
39 |
|
épaisseur de la pièce |
Figures 2 à 6, 8, 9 a), 10 et 11 |
1 |
|
épaisseur du feuillard |
Figure 11 |
38 |
|
épaisseur du noyau |
Figure 17 g) et h) |
34 |
|
spaisseur efficace |
Paragraphe 3.20; Figure 13 b) а d) |
15 |
|
épaisseur réelle |
Paragraphe 3.19; Figure 13 a) а d) |
14 |
|
épaisseur théorique |
Paragraphe 3.18; Figure 13 a) а d) |
13 |
|
épaisseur totale |
Paragraphe 3.17; Figure 13 a) а d) |
12 |
|
exemples types de soudures bout à bout |
Figure 13 |
|
|
exemples types de soudures par fusion |
Figure 12 |
|
|
F |
|
|
|
face à souder |
Paragraphe 3.4 |
|
|
|
Figures 2, 3, et 8 |
D |
|
|
Figure 6 |
I |
|
face du chanfrein |
Figures 3, 4, 5 et 7 |
E |
|
face inférieure de la pièce |
Figures 2 et 3 |
В |
|
face supérieure de la pièce |
Figures 2 et 3 |
A |
|
formes de bossages |
Figure 9 |
|
|
G |
|
|
|
gorge efficace |
Paragraphe 3.20; Figures 13 b), c) et d), 14 a) et b) et 15 a) à f) |
15 |
|
gorge réelle |
Paragraphe 3.19; Figures 14 a) et b) et 15 a) à f) |
14 |
|
gorges des soudures d'angle |
Figure 14 |
45 |
|
gorge théorique |
Paragraphe 3.18; Figures 13 a) à d), 14 a) et b) et 15a) à f) |
13 |
|
gorge totale |
Paragraphe 3.17; Figures 13 a) à d), 14 a) et b) et 15a) à f) |
12 |
|
goujon |
Figure 17 c) |
45 |
|
H |
|
|
|
hauteur du bord relevé |
Figure 8 |
25 |
|
hauteur du bossage |
Figure 9 a) à c) |
28 |
|
hauteur du talon |
Figures 3, 4, 5 et 7 |
12 |
|
I |
|
|
|
indentation |
Figure 17 g) |
35 |
|
interface |
Figure 17 a) et b) |
37 |
|
L |
|
|
|
largeur de la face du chanfrein |
Figure 4 |
19 |
|
largeur de la pièce |
Figure 11 |
2 |
|
largeur de la soudure |
Figure 12 a) |
8 |
|
largeur de l'ouverture |
Figures 3, 4, 5 et 7 |
20 |
|
largeur de recouvrement |
Figure 10 |
35 |
|
largeur du bossage |
Figure 9 b) et c) |
30 |
|
largeur du chanfrein |
Figures 4, 5 et 7 |
16 |
|
largeur du cordon à la racine |
Figure 13 a) |
27 |
|
largeur du feuillard |
Figure 11 |
37 |
|
latte-support |
Figure 3 |
X |
|
lèvre |
Figure 5 |
44 |
|
longueur de la soudure |
Figure 13 a) Figure 17 e) et f) |
17 38 |
|
longueur de recouvrement |
Figure 10 |
34 |
|
longueur du bord relevй |
Figure 8 |
22 |
|
longueur du bossage |
Figure 9 b) |
29 |
|
longueur du feuillard |
Figure 11 |
36 |
|
longueur du joint |
Figures 2, 5 et 6 |
7 |
|
M |
|
|
|
manque de pénétration |
Paragraphe 3.6 |
|
|
méplat, talon |
Figures 3, 4 et 5 |
F |
|
métal de base |
Figure 12 a) et b) |
1 |
|
métal fondu |
Figure 12 a) et b) |
2 |
|
N |
|
|
|
noyau de la soudure P |
Figure 17 g) et h) |
32 |
|
passe de fond |
Figure 16 a) а d) |
20 |
|
passes de remplissage |
Figure 16 a) а d) |
21 |
|
passe(s) terminale(s) |
Figure 16 a) а d) |
22 |
|
pénétration |
Figures 12 a) et b) et 16 e) |
5 25 |
|
pénétration à la racine |
Figures 12 b) et 16 e) |
24 |
|
pénétration partielle |
Paragraphe 3.5 |
|
|
premiиre passe à l'envers |
Figure 16 d) |
|
|
préparation en U |
Figure 5 |
|
|
préparation en Y |
Figure 4 |
|
|
préparation pour soudure bout à bout sur bords droits |
Figure 2 |
|
|
préparation pour soudure en demi-Y avec support du bain |
Figure 3 |
|
|
préparation pour soudures d'angle sur assemblage en T |
Figure 6 |
|
|
préparation pour soudures d'angle sur assemblage en T avec double chanfrein |
Figure 7 |
|
|
profondeur d'indentation |
Figure 17 g) |
36 |
|
profondeur du chanfrein |
Figures 4 et 7 |
18 |
|
profondeur du joint |
Figures 2, 3, 4 et 5 |
9 |
|
R |
|
|
|
raccordement |
Figure 16 a) а e) |
19 |
|
racine (de la soudure) |
Figure 12 a) et b) |
7 |
|
rayon à fond de chanfrein |
Figure 5 |
10 |
|
rayon de pliage du bord relevé |
Figure 8 |
26 |
|
recouvrement des noyaux |
Figure 17 e) |
40 |
|
reprise à l'envers |
Figure 16 c) |
23 |
|
S |
|
|
|
soudure à pleine pénétration |
Figure 13 b) |
|
|
soudure avec bavure d'étincelage ou de friction |
Figure 17 b) |
|
|
soudure avec bourrelet de refoulement |
Figure 17 a) |
|
|
soudure avec manque de pénétration |
Figure 13 c) |
|
|
soudage avec pression |
Paragraphe 3.3 |
|
|
soudure bout à bout en V |
Figure 12 a) |
|
|
soudure d'angle |
Figure 12 b) |
|
|
soudure d'angle à pénétration partielle |
Figure 15 e) |
|
|
soudure d'angle à pleine pénétration |
Figure 15 f) |
|
|
soudure d'angle asymétrique |
Figure 15 d) |
|
|
soudure d'angle avec jeu |
Figure 15 c) |
|
|
soudure d'angle concave |
Figure 15 b) |
|
|
soudure d'angle convexe |
Figure 15 a) |
|
|
soudure d'angle multipasse |
Figure 16 e) |
|
|
soudure de goujon |
Figure 17 c) |
|
|
soudure en demi-V sur assemblage en T |
Figures 13 d) et 16 b) |
|
|
soudure en ligne continue par points |
Figure 17 e) |
|
|
soudure en V avec reprise à l'envers |
Figure 16 c) |
|
|
soudure en V exécutée d'un seul côté |
Figure 16 a) |
|
|
soudure en X |
Figure 16 d) |
|
|
soudure par bossage |
Figure 17 h) |
|
|
soudage par fusion |
Paragraphe 3.2 |
|
|
soudure par points |
Figure 17 d) |
|
|
soudure par résistance points |
Figure 17 g) |
|
|
surépaisseur |
Figure 12 a) et b) |
9 |
|
surépaisseur à la racine |
Figures 12 a) et 16 a) et b) 11 |
11 |
|
surface de contact du feuillard |
Figure 11 |
H |
|
surface de la soudure avec vagues de solidification |
Figure 13 a) |
18 |
|
surface de recouvrement |
Figure 10 |
G |
|
T |
|
|
|
talon |
Figures 3, 4 et 5 |
F |
|
V |
|
|
|
vue d'ensemble d'une soudure Bout à bout |
Figure 13 a) |
|
|
Z |
|
|
|
zone de dilution |
Figure 12 a) et b) |
26 |
|
zone de liaison |
Figure 12 a) et b) |
6 |
|
zone soudйe |
Figures 12 a) et b) et 17 a), b) et c) |
4 |
|
zone thermiquement affectée |
Figure 12 a) et b) |
3 |
Таблица А. 1
|
Обозначение ссылочного международного стандарта |
Обозначение и наименование соответствующего национального стандарта |
|
ИСО 857-1 |
ГОСТ Р ИСО 857-1-2009 Сварка и родственные процессы. Словарь. Часть 1. Процессы сварки металлов. Термины и определения |
|
ИСО 2553 |
* |
|
* Соответствующий национальный стандарт отсутствует. До его утверждения рекомендуется использовать перевод на русский язык данного международного стандарта. Перевод данного международного стандарта находится в Федеральном информационном фонде технических регламентов и стандартов. |
|
Ключевые слова: сварка, соединение, шов, термины