МЕЖГОСУДАРСТВЕННЫЙ СТАНДАРТ
ЕДИНАЯ СИСТЕМА КОНСТРУКТОРСКОЙ ДОКУМЕНТАЦИИ
ИЗОБРАЖЕНИЯ - ВИДЫ, РАЗРЕЗЫ, СЕЧЕНИЯ
ГОСТ 2.305-68
ИПК ИЗДАТЕЛЬСТВО СТАНДАРТОВ
Москва
МЕЖГОСУДАРСТВЕННЫЙ СТАНДАРТ
|
Единая система конструкторской документации ИЗОБРАЖЕНИЯ - ВИДЫ, РАЗРЕЗЫ, СЕЧЕНИЯ Unified
system for design documentation. |
ГОСТ |
Дата введения 01.01.71
Настоящий стандарт устанавливает правила изображения предметов (изделий, сооружений и их составных элементов) на чертежах всех отраслей промышленности и строительства. Стандарт полностью соответствует СТ СЭВ 363-88.
(Измененная редакция, Изм. № 2).
1.1. Изображения предметов должны выполняться по методу прямоугольного проецирования. При этом предмет предполагается расположенным между наблюдателем и соответствующей плоскостью проекций (черт. 1).
Черт. 1
1.2. За основные плоскости проекций принимают шесть граней куба; грани совмещают с плоскостью, как показано на черт. 2. Грань 6 допускается располагать рядом с гранью 4.
1.3 Изображение на фронтальной плоскости проекций принимается на чертеже в качестве главного. Предмет располагают относительно фронтальной плоскости проекций так, чтобы изображение на ней давало наиболее полное представление о форме и размерах предмета.
1.4. Изображения на чертеже в зависимости от их содержания разделяются на виды, разрезы, сечения.
Черт. 2 Черт. 3
1.5. Вид - изображение обращенной к наблюдателю видимой части поверхности предмета. Для уменьшения количества изображений допускается на видах показывать необходимые невидимые части поверхности предмета при помощи штриховых линий (черт. 3).
Черт. 4
1.6 Разрез - изображение предмета, мысленно рассеченного одной или несколькими плоскостями, при этом мысленное рассечение предмета относится только к данному разрезу и не влечет за собой изменения других изображений того же предмета. На разрезе показывается то, что получается в секущей плоскости и что расположено за ней (черт. 4). Допускается изображать не все, что расположено за секущей плоскостью, если это не требуется для понимания конструкции предмета (черт. 5).
Черт. 5
1.7. Сечение - изображение фигуры, получающейся при мысленном рассечении предмета одной или несколькими плоскостями (черт. 6). На сечении показывается только то, что получается непосредственно в секущей плоскости.
Допускается в качестве секущей применять цилиндрическую поверхность, развертываемую затем в плоскость (черт. 7).
Черт. 6
Черт. 7
(Измененная редакция, Изм. № 2).
1.8. Количество изображений (видов, разрезов, сечений) должно быть наименьшим, но обеспечивающим полное представление о предмете при применении установленных в соответствующих стандартах условных обозначений, знаков и надписей.
2.1. Устанавливаются следующие названия видов, получаемых на основных плоскостях проекций (основные виды, черт. 2):
1 - вид спереди (главный вид);
2 - вид сверху;
3 - вид слева;
4 - вид справа;
5 - вид снизу;
6 - вид сзади.
В строительных чертежах в необходимых случаях соответствующим видам могут присваиваться другие названия, например, «фасад».
Названия видов на чертежах надписывать не следует, за исключением случая, предусмотренного в п. 2.2. В строительных чертежах допускается надписывать название вида с присвоением ему буквенного, цифрового или другого обозначения.
2.2. Если виды сверху, слева, справа, снизу, сзади не находятся в непосредственной проекционной связи с главным изображением (видом или разрезом, изображенным на фронтальной плоскости проекций), то направление проектирования должно быть указано стрелкой около соответствующего изображения. Над стрелкой и над полученным изображением (видом) следует нанести одну и ту же прописную букву (черт. 8).
Черт. 8
Чертежи оформляют так же, если перечисленные виды отделены от главного изображения другими изображениями или расположены не на одном листе с ним.
Когда отсутствует изображение, на котором может быть показано направление взгляда, название вида надписывают.
В строительных чертежах допускается направление взгляда указывать двумя стрелками (аналогично указанию положения секущих плоскостей в разрезах).
В строительных чертежах независимо от взаимного расположения видов допускается надписывать название и обозначение вида без указания направления взгляда стрелкой, если направление взгляда определяется названием или обозначением вида.
2.3. Если какую-либо часть предмета невозможно показать на перечисленных в п. 2.1 видах без искажения формы и размеров, то применяют дополнительные виды, получаемые на плоскостях, непараллельных основным плоскостям проекций (черт. 9-11).
2.4. Дополнительный вид должен быть отмечен на чертеже прописной буквой (черт. 9, 10), а у связанного с дополнительным видом изображения предмета должна быть поставлена стрелка, указывающая направление взгляда, с соответствующим буквенным обозначением (стрелка Б, черт. 9, 10).
Черт. 9
Черт. 10
Когда дополнительный вид расположен в непосредственной проекционной связи с соответствующим изображением, стрелку и обозначение вида не наносят (черт. 11).
Черт. 11
2.2-2.4. (Измененная редакция, Изм. № 2).
2.5. Дополнительные виды располагают, как показано на черт. 9-11. Расположение дополнительных видов по черт. 9 и 11 предпочтительнее.
Дополнительный вид допускается повертывать, но с
сохранением, как правило, положения, принятого для данного предмета на главном
изображении, при этом обозначение вида должно быть дополнено условным
графическим обозначением
. При
необходимости указывают угол поворота (черт. 12).
Несколько одинаковых дополнительных видов,
относящихся к одному предмету, обозначают одной буквой и вычерчивают один вид.
Если при этом связанные с дополнительным видом части предмета расположены под
различными углами, то к обозначению вида условное графическое обозначение
не добавляют.
(Измененная редакция, Изм. № 1, 2).
2.6. Изображение отдельного, ограниченного места поверхности предмета называется местным видом (вид Г, черт. 8; вид Д, черт. 13).
Местный вид может быть ограничен линией обрыва, по возможности в наименьшем размере (вид Д черт. 13), или не ограничен (вид Г, черт. 13). Местный вид должен быть отмечен на чертеже подобно дополнительному виду.
2.7. Соотношение размеров стрелок, указывающих направление взгляда, должно соответствовать приведенным на черт. 14.
2.6, 2.7. (Измененная редакция, Изм. № 2).
Черт. 12
Черт. 13
Черт. 14
3.1. Разрезы разделяются, в зависимости от положения секущей плоскости относительно горизонтальной плоскости проекций, на:
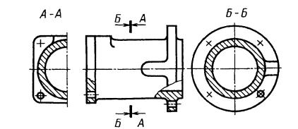
горизонтальные - секущая плоскость параллельна горизонтальной плоскости проекций (например, разрез А-А, черт. 13; разрез Б-Б, черт. 15).
В строительных чертежах горизонтальным разрезам могут присваиваться другие названия, например, «план»;
вертикальные - секущая плоскость перпендикулярна горизонтальной плоскости проекций (например, разрез на месте главного вида, черт. 13; разрезы А-А, В-В, Г-Г, черт. 15);
наклонные - секущая плоскость составляет с горизонтальной плоскостью проекций угол, отличный от прямого (например, разрез В-В, черт. 8).
В зависимости от числа секущих плоскостей разрезы разделяются на:
простые - при одной секущей плоскости (например, черт. 4, 5);
сложные - при нескольких секущих плоскостях (например, разрез А-А, черт. 8; разрез Б-Б, черт. 15).
3.2. Вертикальный разрез называется фронтальным, если секущая плоскость параллельна фронтальной плоскости проекций (например, разрез, черт. 5; разрез А-А, черт. 16), и профильным, если секущая плоскость параллельна профильной плоскости проекций (например, разрез Б-Б, черт. 13).
Черт. 15
Черт. 16
Черт. 17
Черт. 18
3.3. Сложные разрезы бывают ступенчатыми, если секущие плоскости параллельны (например, ступенчатый горизонтальный разрез Б-Б, черт. 15; ступенчатый фронтальный разрез А-А, черт. 16), и ломаными, если секущие плоскости пересекаются (например, разрезы А-А, черт. 8 и 15).
3.4. Разрезы называются продольными, если секущие плоскости направлены вдоль длины или высоты предмета (черт. 17), и поперечными, если секущие плоскости направлены перпендикулярно длине или высоте предмета (например, разрезы А-А и Б-Б, черт 18).
3.5. Положение секущей плоскости указывают на чертеже линией сечения. Для линии сечения должна применяться разомкнутая линия. При сложном разрезе штрихи проводят также у мест пересечения секущих плоскостей между собой. На начальном и конечном штрихах следует ставить стрелки, указывающие направление взгляда (черт. 8-10, 13, 15); стрелки должны наноситься на расстоянии 2-3 мм от конца штриха.
Начальный и конечный штрихи не должны пересекать контур соответствующего изображения.
В случаях, подобных указанному на черт. 18, стрелки, указывающие направление взгляда, наносятся на одной линии.
3.1-3.5. (Измененная редакция, Изм. № 2).
3.6. У начала и конца линии сечения, а при необходимости и у мест пересечения секущих плоскостей ставят одну и ту же прописную букву русского алфавита. Буквы наносят около стрелок, указывающих направление взгляда, и в местах пересечения со стороны внешнего угла.
Разрез должен быть отмечен надписью по типу «А-А» (всегда двумя буквами через тире).
В строительных чертежах у линии сечения взамен букв допускается применять цифры, а также надписывать название разреза (плана) с присвоенным ему буквенным цифровым или другим обозначением.
3.7. Когда секущая плоскость совпадает с плоскостью симметрии предмета в целом, а соответствующие изображения расположены на одном и том же листе в непосредственной проекционной связи и не разделены какими-либо другими изображениями, для горизонтальных, фронтальных и профильных разрезов не отмечают положение секущей плоскости, и разрез надписью не сопровождают (например, разрез на месте главного вида, черт. 13).
3.8. Фронтальным и профильным разрезам, как правило, придают положение, соответствующее принятому для данного предмета на главном изображении чертежа (черт. 12).
3.9. Горизонтальные, фронтальные и профильные разрезы могут быть расположены на месте соответствующих основных видов (черт. 13).
3.10. Вертикальный разрез, когда секущая плоскость непараллельна фронтальной или профильной плоскостям проекций, а также наклонный разрез должны строиться и располагаться в соответствии с направлением, указанным стрелками на линии сечения.
Допускается располагать
такие разрезы в любом месте чертежа (разрез В-В,
черт. 8),
а также с поворотом до положения, соответствующего принятому для данного
предмета на главном изображении. В последнем случае к надписи должно быть
добавлено условное графическое обозначение
(разрез Г-Г,
черт. 15).
3.11. При ломаных разрезах секущие плоскости условно повертывают до совмещения в одну плоскость, при этом направление поворота может не совпадать с направлением взгляда (черт. 19).
Если совмещенные плоскости окажутся параллельными одной из основных плоскостей проекций, то ломаный разрез допускается помещать на месте соответствующего вида (разрезы А-А, черт. 8, 15). При повороте секущей плоскости элементы предмета, расположенные на ней, вычерчивают так, как они проецируются на соответствующую плоскость, с которой производится совмещение (черт. 20).
Черт. 19 Черт. 20
3.12. Разрез, служащий для выяснения устройства предмета лишь в отдельном, ограниченном месте, называется местным.
Местный разрез выделяется на виде сплошной волнистой линией (черт. 21) или сплошной тонкой линией с изломом (черт. 22). Эти линии не должны совпадать с какими-либо другими линиями изображения.
Черт. 21
Черт. 22
3.13. Часть вида и часть соответствующего разреза допускается соединять, разделяя их сплошной волнистой линией или сплошной тонкой линией с изломом (черт. 23, 24, 25). Если при этом соединяются половина вида и половина разреза, каждый из которых является симметричной фигурой, то разделяющей линией служит ось симметрии (черт. 26). Допускается также разделение разреза и вида штрих-пунктирной тонкой линией (черт. 27), совпадающей со следом плоскости симметрии не всего предмета, а лишь его части, если она представляет тело вращения.
Черт. 23
Черт. 24
Черт. 25
Черт. 26
Черт. 27
3.10-3.13. (Измененная редакция, Изм. № 2).
3.14. Допускается соединять четверть вида и четверти трех разрезов: четверть вида, четверть одного разреза и половину другого и т. п. при условии, что каждое из этих изображений в отдельности симметрично.
4.1. Сечения, не входящие в состав разреза, разделяют на:
наложенные (черт. 29).
Черт. 28
Черт. 29
Вынесенные сечения являются предпочтительными и их допускается располагать в разрезе между частями одного и того же вида (черт. 30).
Черт. 30
(Измененная редакция, Изм. № 2).
4.2. Контур вынесенного сечения, а также сечения, входящего в состав разреза, изображают сплошными основными линиями, а контур наложенного сечения - сплошными тонкими линиями, причем контур изображения в месте расположения наложенного сечения не прерывают (черт. 13, 28, 29).
4.3. Ось симметрии вынесенного или наложенного сечения (черт. 6, 29) указывают штрих-пунктирной тонкой линией без обозначения буквами и стрелками и линию сечения не проводят.
В случаях, подобных указанному на черт. 30, при симметричной фигуре сечения линию сечения не проводят.
Во всех остальных случаях для линии сечения применяют разомкнутую линию с указанием стрелками направления взгляда и обозначают ее одинаковыми прописными буквами русского алфавита (в строительных чертежах - прописными или строчными буквами русского алфавита или цифрами). Сечение сопровождают надписью по типу «А-А» (черт. 28). В строительных чертежах допускается надписывать название сечения.
Для несимметричных сечений, расположенных в разрыве (черт. 31) или наложенных (черт. 32), линию сечения проводят со стрелками, но буквами не обозначают.
Черт. 31 Черт. 32
В строительных чертежах при симметричных сечениях применяют разомкнутую линию с обозначением ее, но без стрелок, указывающих направление взгляда.
4.4. Сечение по построению и расположению должно соответствовать направлению, указанному стрелками (черт. 28). Допускается располагать сечение на любом месте поля чертежа, а также с поворотом с добавлением условного графического обозначения
4.5. Для нескольких одинаковых сечений, относящихся к одному предмету, линию сечения обозначают одной буквой и вычерчивают одно сечение (черт. 33, 34).
Если при этом секущие плоскости направлены под
различными углами (черт. 35), то условное графическое обозначение
не наносят.
Когда расположение одинаковых сечений точно определено изображением или размерами допускается наносить одну линию сечения, а над изображением сечения указывать количество сечений.
Черт. 33 Черт. 34
Черт. 35 Черт. 36
4.6 Секущие плоскости выбирают так, чтобы получить нормальные поперечные сечения (черт. 36).
4.7. Если секущая плоскость проходит через ось поверхности вращения, ограничивающей отверстие или углубление, то контур отверстия или углубления в сечении показывают полностью (черт. 37).
4.8. Если сечение получается состоящим из отдельных самостоятельных частей, то следует применять разрезы (черт. 38).
Черт. 37 Черт. 38
4.4-4.8. (Измененная редакция, Изм. № 2).
5.1. Выносной элемент - дополнительное отдельное изображение (обычно увеличенное) какой-либо части предмета, требующей графического и других пояснений в отношении формы, размеров и иных данных.
Выносной элемент может содержать подробности, не указанные на соответствующем изображении, и может отличаться от него по содержанию (например, изображение может быть видом, а выносной элемент - разрезом).
5.2. При применении выносного элемента соответствующее место отмечают на виде, разрезе или сечении замкнутой сплошной тонкой линией - окружностью, овалом и т. п. с обозначением выносного элемента прописной буквой или сочетанием прописной буквы с арабской цифрой на полке линии-выноски. Над изображением выносного элемента указывают обозначение и масштаб, в котором он выполнен (черт. 39).
Черт. 39
В строительных чертежах выносной элемент на изображении допускается также отмечать фигурной или квадратной скобкой или графически не отмечать. У изображения, откуда элемент выносится, и у выносного элемента допускается также наносить присвоенное выносному элементу буквенное или цифровое (арабскими цифрами) обозначение и название.
(Измененная редакция, Изм. № 2).
5.3. Выносной элемент располагают возможно ближе к соответствующему месту на изображении предмета.
6.1. Если вид, разрез или сечение представляют симметричную фигуру, допускается вычерчивать половину изображения (вид В, черт. 13) или немного более половины изображения с проведением в последнем случае линии обрыва (черт. 25).
6.2. Если предмет имеет несколько одинаковых, равномерно расположенных элементов, то на изображении этого предмета полностью показывают один-два таких элемента (например, одно-два отверстия, черт. 15), а остальные элементы показывают упрощенно или условно (черт. 40).
Допускается изображать часть предмета (черт. 41, 42) с надлежащими указаниями о количестве элементов, их расположении и т. п.
Черт. 40 Черт. 41 Черт. 42
6.3. На видах и разрезах допускается упрощенно изображать проекции линий пересечения поверхностей, если не требуется точного их построения. Например, вместо лекальных кривых проводят дуги окружности и прямые линии (черт. 43, 44).
Черт. 43
Черт. 44
6.4. Плавный переход от одной поверхности к другой показывается условно (черт. 45-47) или совсем не показывается (черт. 48-50).
Черт. 45

Черт. 46
Черт. 47
Черт. 48
![]()
Черт. 49
Черт. 50
Допускаются упрощения, подобные указанным на черт. 51, 52.
Черт. 51
Черт. 52
6.5. Такие детали, как винты, заклепки, шпонки, непустотелые валы и шпиндели, шатуны, рукоятки и т. п. при продольном разрезе показывают нерассеченными. Шарики всегда показывают нерассеченными.
Как правило, показываются нерассеченными на сборочных чертежах гайки и шайбы.
Такие элементы, как спицы маховиков, шкивов, зубчатых колес, тонкие стенки типа ребер жесткости и т. п. показывают незаштрихованными, если секущая плоскость направлена вдоль оси или длинной стороны такого элемента.
Если в подобных элементах детали имеется местное сверление, углубление и т. п., то делают местный разрез, как показано на черт. 21, 22, 53.
(Измененная редакция, Изм. № 2).
Черт. 53 Черт. 54 Черт. 55
6.6. Пластины, а также элементы деталей (отверстия, фаски, пазы, углубления и т. п.) размером (или разницей в размерах) на чертеже 2 мм и менее изображают с отступлением от масштаба, принятого для всего изображения, в сторону увеличения.
6.7. Допускается незначительную конусность или уклон изображать с увеличением. На тех изображениях, на которых уклон или конусность отчетливо не выявляются, например, главный вид на черт. 54а или вид сверху на черт. 54б, проводят только одну линию, соответствующую меньшему размеру элемента с уклоном или меньшему основанию конуса.
6.8. При необходимости выделения на чертеже плоских поверхностей предмета на них проводят диагонали сплошными тонкими линиями (черт. 55).
6.9. Предметы или элементы, имеющие постоянное или закономерно изменяющееся поперечное сечение (валы, цепи, прутки, фасонный прокат, шатуны и т. п.), допускается изображать с разрывами.
Частичные изображения и изображения с разрывами ограничивают одним из следующих способов:
а) сплошной тонкой линией с изломом, которая может выходить за контур изображения на длину от 2 до 4 мм. Эта линия может быть наклонной относительно линии контура (черт. 56а);
Черт. 56а
б) сплошной волнистой линией, соединяющей соответствующие линии контура (черт. 56б);
Черт. 56б
в) линиями штриховки (черт. 5бв).
Черт. 56в
(Измененная редакция, Изм. № 2).
6.10. На чертежах предметов со сплошной сеткой, плетенкой, орнаментом, рельефом, накаткой и т. д. допускается изображать эти элементы частично, с возможным упрощением (черт. 57).
Черт. 57
6.11. Для упрощения чертежей или сокращения количества изображений допускается:
а) часть предмета, находящуюся между наблюдателем и секущей плоскостью изображать штрихпунктирной утолщенной линией непосредственно на разрезе (наложенная проекция, черт. 58);
б)применять сложные разрезы (черт. 59);
Черт. 58
Черт. 59
в) для показа отверстия в ступицах зубчатых колес, шкивов и т. п., а также для шпоночных пазов вместо полного изображения детали давать лишь контур отверстия (черт. 60) или паза (черт. 52);
г) изображать в разрезе отверстия, расположенные на круглом фланце, когда они не попадают в секущую плоскость (черт. 15).
6.12. Если вид сверху не является необходимым и чертеж составляется из изображений на фронтальной и профильной плоскостях проекций, то при ступенчатом разрезе линия сечения и надписи, относящиеся к разрезу, наносятся так, как показано на черт. 61.
Черт. 60
Черт. 61
6.11, 6.12. (Измененная редакция, Изм. № 2).
6.13. Условности и упрощения, допускаемые в неразъемных соединениях, в чертежах электротехнических и радиотехнических устройств, зубчатых зацеплений и т. д., устанавливаются соответствующими стандартами.
6.14. Условное графическое обозначение «повернуто» должно соответствовать черт. 62 и «развернуто» - черт. 63.
Черт. 62
Черт. 63
(Введен дополнительно, Изм. № 2).
ПРИЛОЖЕНИЕ по ГОСТ 2.317-69.
ИНФОРМАЦИОННЫЕ ДАННЫЕ
1. РАЗРАБОТАН И ВНЕСЕН Комитетом стандартов, мер и измерительных приборов при Совете Министров СССР
РАЗРАБОТЧИКИ
В.Р. Верченко, Ю.И. Степанов, Я.Г. Старожилец, Б.Я. Кабаков, В.К. Анопова
2. УТВЕРЖДЕН И ВВЕДЕН В ДЕЙСТВИЕ Постановлением Комитета стандартов, мер и измерительных приборов при Совете Министров СССР в декабре 1967 г.
3. Стандарт полностью соответствует СТ СЭВ 363-88
4. ВЗАМЕН ГОСТ 3453-59 в части разд. I-V, VII и приложения
5. ИЗДАНИЕ (апрель 2000 г.) с Изменениями № 1, 2, утвержденными в сентябре 1987 г., августе 1989 г. (ИУС 12-87, 12-89)
СОДЕРЖАНИЕ