
ГОСУДАРСТВЕННЫЙ СТАНДАРТ СОЮЗА ССР
ДЕТАЛИ И ИЗДЕЛИЯ
ИЗ ДРЕВЕСИНЫ И ДРЕВЕСНЫХ МАТЕРИАЛОВ
МЕТОД ОПРЕДЕЛЕНИЯ ПРОЧНОСТИ КЛЕЕВОГО СОЕДИНЕНИЯ НА НЕРАВНОМЕРНЫЙ ОТРЫВ ОБЛИЦОВОЧНЫХ МАТЕРИАЛОВ
ГОСТ 15867-79
ГОСУДАРСТВЕННЫЙ КОМИТЕТ СССР ПО СТАНДАРТАМ
Москва
РАЗРАБОТАН Министерством лесной и деревообрабатывающей промышленности СССР и Министерством высшего и среднего специального образования СССР
ИСПОЛНИТЕЛИ
Е. Е. Фломина, канд. техн. наук; Т. В. Огоньянц; Б. М. Буглай, д-р техн. наук; А. А. Зотов; Ю. В. Баринова, канд. техн. наук
ВНЕСЕН Министерством лесной и деревообрабатывающей промышленности СССР
Зам. Министра В. М. Венцлавский
УТВЕРЖДЕН И ВВЕДЕН В ДЕЙСТВИЕ Постановлением Государственного комитета СССР по стандартам от 25 апреля 1979 г. № 1509.
ГОСУДАРСТВЕННЫЙ СТАНДАРТ СОЮЗА ССР
|
ДЕТАЛИ И ИЗДЕЛИЯ ИЗ ДРЕВЕСИНЫ И ДРЕВЕСНЫХ МАТЕРИАЛОВ Метод определения прочности клеевого соединения на неравномерный отрыв облицовочных материалов Details and products of wood and wooden
materials. |
ГОСТ Взамен ГОСТ 15867-70 |
Постановлением Государственного комитета СССР по стандартам от 25 апреля 1979 г. № 1509 срок действия установлен
с 01.07. 1980 г.
до 01.07. 1985 г.
Несоблюдение стандарта преследуется по закону
Настоящий стандарт
распространяется на плоские детали и изделия из древесины и древесных
материалов, облицованные различными материалами толщиной не более 2 мм с
жесткостью, соответствующей
Нм (1 кгс·см) (справочное приложение 1), и
устанавливает метод определения прочности клеевого соединения на неравномерный
отрыв облицовочных материалов при проведении типовых испытаний.
Сущность метода заключается в определении разрушающей нагрузки, приходящейся на единицу ширины образца, с которого происходит отрыв покрытия при неравномерном распределении напряжений по площади склеивания.
Стандарт не распространяется на детали и изделия из древесины и древесных материалов, пласти которых облицованы однослойными пленками на основе бумаг, пропитанных синтетическими смолами.
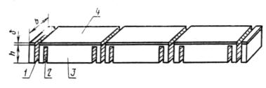
1.1. Заготовки для образцов изготовляют специально или выпиливают из изделий или деталей, до нанесения лакокрасочного покрытия, в виде прямоугольных брусков длиной, кратной длине образца с припусками на распиловку (черт. 1).
1.2. Заготовки для образцов изготовляют по технологии, установленной для конкретного вида продукции.
1 - пропил; 2 - пропил для образования свеса; 3 - основание образца; 4 - облицовочный материал
Черт. 1
1.3. Заготовки для образцов, в которых облицовочный материал наклеивают на основу из древесины хвойных пород, изготовляют или выбирают из деталей или изделий так, чтобы облицовочный материал находился на радиальной или радиально-тангенциальной поверхности основы.
1.4. Заготовку для образцов распиливают на образцы пилой типа 3 по ГОСТ 9769-79. Пропилы для образования свесов облицовочного материала не доводят до облицовки на 0,1 - 0,2 мм. Окончательную доводку пропила до облицовочного материала и очистку свеса выполняют вручную шлицовкой толщиной 0,8 мм и шириной 16 мм по ГОСТ 6645-68.
(Измененная редакция, Изм. № 1).
1 - облицовочный материал; 2 - клеевой слой; 3 - основание образца; 4 - линия для установки пуансона
Черт. 2
1.5. Из деталей или изделий, облицованных шпоном, заготовки для образцов выпиливают так, чтобы направление волокон шпона совпадало с длиной заготовки. При применении в качестве облицовочного материала фанеры это требование относится к шпону, непосредственно прилегающему к клеевому шву.
1.6. Форма и размеры образца для испытания должны соответствовать указанным на черт. 2. Толщина основания h должна быть равна толщине детали или изделия из древесины и древесных материалов (но не менее 10 мм).
При определении прочности приклеивания облицовочного материала к кромке детали или изделия ширина образца должна быть равна ее толщине.
1.7. Образцы для испытания, основой в которых являются столярная и фанерная плиты, склеивают или выбирают так, чтобы направление волокон облицовочного материала совпадало с направлением волокон верхнего листа шпона основы.
1.8. Торцовые поверхности образца должны быть параллельны друг другу и перпендикулярны боковым кромкам.
1.9. Поверхность облицовочного материала не должна иметь раковин, сколов, запилов и других видимых дефектов.
1.10. Количество образцов должно устанавливаться нормативно-технической документацией на конкретный вид продукции, но должно быть не менее 16.
1.11. Испытания проводят сразу после окончания технологической выдержки образцов или после хранения их при температуре 18±5 °С и относительной влажности воздуха 65±10 %.
1.12. Перед испытанием
каждый образец нумеруют. Ширину образца b у торцов основания и толщину облицовочного материала
измеряют с
погрешностью не более 0,1 мм. Посередине длины на боковых кромках образца
проводят линию, перпендикулярную поверхности облицовочного материала для
правильной установки пуансона.
2.1. Для проведения испытания должны применяться следующие аппаратура и приборы:
испытательная машина, оснащенная реверсом, с погрешностью измерения нагрузки не более 2 Н (0,2 кгс);
1 - пуансон; 2 - нож; 3 - самоустанавливающаяся опора с цилиндрическим основанием; 4 - стержень; 5 - опора с плоским основанием; 6 - образец; 7 - винт М5
Черт. 3
приспособление для испытания (черт. 3). Опорные кромки ножей приспособления должны быть расположены в горизонтальной плоскости параллельно друг другу. Допускаемое отклонение: кромок ножей от горизонтальной плоскости 0,1/1000 мм; на непараллельность - 0,1 мм по длине ножей;
штангенциркуль по ГОСТ 166-80, с погрешностью измерения не более 0,1 мм;
микрометр по ГОСТ 6507-78.
(Измененная редакция, Изм. № 1).
3.1. Образец устанавливают на опоры приспособления. Пуансон центрируют по линии действия нагрузки (черт. 3), совпадающей с линией, отмеченной на образце.
3.2. Образец нагружают с постоянной скоростью перемещения подвижного захвата машины, равной (0,4 - 0,5)·10-3 м/с (24 - 30) мм/мин.
3.3. По шкале машины определяют разрушающую нагрузку Р в начальный момент отрыва облицовочного материала.
4.1. Прочность клеевого соединения при испытании на неравномерный отрыв (q) вычисляют с погрешностью не более 0,1 кН/м (0,1 кгс/см) по формуле
,
где Р - разрушающая нагрузка, кН (кгс);
b - ширина образца, м (см).
(Измененная редакция, Изм. № 1).
4.2. За результат испытания принимают среднее арифметическое значение прочности клеевого соединения всех испытанных образцов.
4.3. Статистическую обработку данных испытания выполняют по ГОСТ 16483.0-78.
4.4. Результаты измерений и испытания заносят в журнал, согласно рекомендуемому приложению 2.
Справочное
|
Материал |
Минимальная
толщина, |
Модуль упругости, |
Жесткость, |
|||
|
10-4 м |
мм |
ГПа |
102 кгс/см2 |
Нм |
кгс·см |
|
|
1. Шпон строганый по ГОСТ 2977-82: |
|
|
|
|
|
|
|
красное дерево |
4,0 |
0,40 |
7,2 |
72 |
0,46 |
4,6 |
|
орех |
4,0 |
0,40 |
7,0 |
70 |
0,45 |
4,5 |
|
бук |
4,0 |
0,40 |
6,0 |
60 |
0,38 |
3,8 |
|
ясень |
8,0 |
0,80 |
9,6 |
96 |
4,80 |
48,0 |
|
дуб |
8,0 |
0,80 |
10,3 |
103 |
5,20 |
52,0 |
|
2. Шпон лущеный по ГОСТ 99-75 |
|
|
|
|
|
|
|
береза |
5,5 |
0,55 |
12,5 |
125 |
2,07 |
20,7 |
|
3. Пластик бумажно-слоистый декоративный по ГОСТ 9590-76 |
10,0 |
1,00 |
18,0 |
180 |
18,00 |
180,0 |
|
4. Рулонная 2-слойная пленка для облицовывания кромок на основе бумаг, пропитанных синтетическими смолами и полиэфирными лаками |
3,0 |
0,30 |
4,0 |
40 |
0,11 |
1,1 |
|
5. Листовая 2-3-слойная пленка для облицовывания кромок на основе бумаг, пропитанных синтетическими смолами и полиэфирными лаками |
3,0 |
0,30 |
4,0 |
40 |
0,11 |
1,1 |
Примечание. При применении облицовочных материалов, характеристики которых не приведены, модуль упругости должен определяться по ГОСТ 9590-76.
(Измененная редакция, Изм. № 1).
Рекомендуемое
1. Изделие или деталь (проект, индекс) ______________________________________
2. Материал основы ______________________________________________________
3. Облицовочный материал ________________________________________________
4. Толщина облицовки ____________________________________________________
5. Клей _________________________________________________________________
6. Индекс режима склеивания и основные параметры _________________________
|
Номер образца |
Ширина образца, b |
Разрушающая нагрузка, Р |
Прочность клеевого соединения, q |
Характер разрушения |
||||
|
10-2, м |
см |
кН |
кгс |
кН/м |
кгс/см |
по клеевому шву |
по склеиваемым материалам |
|
|
|
|
|
|
|
|
|
|
|
|
|
|
|
|
|
|
|
|
|
Дата Подпись
(Измененная редакция, Изм. № 1).
СОДЕРЖАНИЕ
|
1. Отбор образцов и подготовка к испытанию.. 2 |