СТ СЭВ 4180-83
СТАНДАРТ СОВЕТА ЭКОНОМИЧЕСКОЙ ВЗАИМОПОМОЩИ
ДВЕРИ ДЕРЕВЯННЫЕ
Метод испытания сопротивления ударной нагрузке
Дата введения:
в договорно-правовых отношениях по экономическому
и научно-техническому сотрудничеству 1985-01-01;
в народном хозяйстве 1986-01-01.
Информационные данные
1. Автор - делегация ЧССР в Постоянной Комиссии по сотрудничеству в области стандартизации.
2. Тема - 01.344.05-81.
3. Стандарт СЭВ утвержден на 53-м заседании ПКС.
4. Сроки начала применения стандарта СЭВ:
|
Страны - члены СЭВ |
Сроки начала применения стандарта СЭВ |
|
|
в договорно-правовых отношениях по экономическому и научно-техническому сотрудничеству |
в народном хозяйстве |
|
|
НРБ |
Январь 1985 г. |
Январь 1986 г. |
|
ВНР |
Январь 1985 г. |
Январь 1986 г. |
|
СРВ |
|
|
|
ГДР |
- |
- |
|
Республика Куба |
|
|
|
МНР |
|
|
|
ПНР |
Январь 1985 г. |
Январь 1986 г. |
|
СРР |
Январь 1986 г. |
- |
|
СССР |
Январь 1985 г. |
Январь 1986 г. |
|
ЧССР |
Январь 1986 г. |
Январь 1986 г. |
5. Срок первой проверки - 1990 г., периодичность проверки - 5 лет.
УТВЕРЖДЕН Постоянной Комиссией по сотрудничеству в области стандартизации, Прага, июль 1983 г.
ВВЕДЕН в действие постановлением Государственного комитета СССР по делам строительства от 5 июля 1984 г. № 107
введен в действие непосредственно в качестве государственного стандарта СССР
в народном хозяйстве СССР с 01.01.86
в договорно-правовых отношениях по сотрудничеству с 01.01.86*
Настоящий стандарт СЭВ распространяется на распашные деревянные двери.
Метод заключается в определении остаточной деформации и разрушения створки, закрепленной неподвижно в коробке, от удара неупругим грузом в направлении закрывания двери.
2.1. Образцами для испытания являются изделия, соответствующие техническим требованиям на конкретный вид дверей.
2.2. Количество образцов для испытания принимают в зависимости от объема партии, но не менее 3 шт.
Для испытания применяют:
1) испытательный стенд, состоящий из конструкции для жесткого закрепления дверной коробки по периметру;
2) груз неупругий - кожаный мешок, заполненный сухим песком, массой (25±0,2) kg и диаметром (250±20) mm;
3) приспособление для определения высоты удара;
4) линейку металлическую длиной 1000 mm;
5) глубиномеры по СТ СЭВ 708-77, СТ СЭВ 1309-78;
6) щупы плоские.
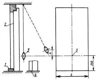
4.1. Образец устанавливают в испытательный стенд в соответствии с чертежом. Коробку закрепляют неподвижно.

1 - коробка с порогом; 2 - створка; 3 - неупругий груз; 4 - коробка без порога;
-
высота падения груза; S - центр
удара груза;
- ширина двери
Проверяют плоскостность створки в месте нанесения удара по СТ СЭВ 4181-83 и величины зазоров между коробкой и створкой .
4.2. Для определения центра S удара грузом проводят линию параллельно нижнему краю створки на расстоянии 250 mm от него. Точка пересечения этой линии с продольной осевой линией створки является центром S удара грузом.
4.3. При испытании дверей запирающие приборы должны быть в положении "Заперто".
4.4. Высота h падения груза должна составлять 200 mm - для внутренних дверей, 400 mm - для входных дверей в квартиру, 500 mm - для наружных дверей. Каждый образец подвергают удару трижды.
4.5. После испытания определяют наличие разрушений, измеряют величины остаточных деформаций и зазоров между коробкой и створкой, проверяют открывание и закрывание створки, отпирание и запирание приборов.
Сопротивление образцов дверей считают удовлетворительным, если после испытаний в образцах не возникло разрушений, изменения формы не превысили допустимых размеров, функции открывания и закрывания створок, отпирания и запирания приборов не нарушились.
Отчет об испытании должен содержать:
1) краткое описание испытательных образцов (вид двери, особенности конструкции створки, размеры);
2) номер и наименование технической документации на двери;
3) данные об условиях и результатах испытаний согласно пп. 4.1-4.4;
4) оценку результатов испытаний;
5) дату поступления образцов на испытания и дату проведения испытаний;
6) наименование организации, представившей образцы на испытания, и наименование изготовителя дверей;
7) наименование организации, проводившей испытания;
8) обозначение настоящего стандарта СЭВ.