МЕЖГОСУДАРСТВЕННЫЙ СТАНДАРТ

Система стандартов безопасности труда

МАШИНЫ РУЧНЫЕ ЭЛЕКТРИЧЕСКИЕ

Конкретные требования безопасности и методы испытаний молотков и перфораторов

Occupational safety standards system. Electric hand-held tools. Specific safety requirements and methods of testing hammers and drills

ГОСТ

12.2.013.6-91

(МЭК)

745-2-6-89

Дата введения 01.01.93

Настоящий стандарт устанавливает требования безопасности и методы испытаний электрических ручных молотков и перфораторов (далее - молотки и перфораторы), которые дополняют, изменяют или заменяют разделы и пункты ГОСТ 12.2.013.0.

В стандарте методы испытаний выделены курсивом, требования, учитывающие национальные особенности СССР, - вертикальной линией на полях.

Пункты и чертежи, дополняющие ГОСТ 12.2.013.0, имеют нумерацию, начиная со 101.

Требования всех пунктов настоящего стандарта являются обязательными.

Содержание

1. ОБЛАСТЬ РАСПРОСТРАНЕНИЯ

2. ТЕРМИНЫ И ОПРЕДЕЛЕНИЯ

3. ОБЩИЕ ТРЕБОВАНИЯ

4. ИСПЫТАНИЯ. ОБЩИЕ ПОЛОЖЕНИЯ

5. НОМИНАЛЬНОЕ НАПРЯЖЕНИЕ

6. КЛАССИФИКАЦИЯ

7. МАРКИРОВКА

8. ЗАЩИТА ОТ ПОРАЖЕНИЯ ЭЛЕКТРИЧЕСКИМ ТОКОМ

9. ПУСК

10. ПОТРЕБЛЯЕМАЯ МОЩНОСТЬ И ТОК

11. НАГРЕВ

12. ТОК УТЕЧКИ

13. ПОДАВЛЕНИЕ РАДИО - И ТЕЛЕПОМЕХ

14. ВЛАГОСТОЙКОСТЬ

15. СОПРОТИВЛЕНИЕ ИЗОЛЯЦИИ И ЭЛЕКТРИЧЕСКАЯ ПРОЧНОСТЬ

17. НЕНОРМАЛЬНЫЙ РЕЖИМ РАБОТЫ

18. МЕХАНИЧЕСКАЯ БЕЗОПАСНОСТЬ

19. МЕХАНИЧЕСКАЯ ПРОЧНОСТЬ

20. КОНСТРУКЦИЯ

21. ВНУТРЕННЯЯ ПРОВОДКА

22. КОМПЛЕКТУЮЩИЕ ИЗДЕЛИЯ

23. ПОДКЛЮЧЕНИЕ К СЕТИ И ВНЕШНИЕ ГИБКИЕ КАБЕЛИ, ШНУРЫ

24. ЗАЖИМЫ ДЛЯ ВНЕШНИХ ПРОВОДОВ

25. ЗАЗЕМЛЕНИЕ

26. ВИНТЫ И СОЕДИНЕНИЯ

27. ПУТИ УТЕЧКИ, ВОЗДУШНЫЕ ЗАЗОРЫ И ТОЛЩИНА ИЗОЛЯЦИИ

28. ТЕПЛОСТОЙКОСТЬ, ОГНЕСТОЙКОСТЬ И СТОЙКОСТЬ К ОБРАЗОВАНИЮ ТОКОПРОВОДЯЩИХ МОСТИКОВ

29. КОРРОЗИОННАЯ СТОЙКОСТЬ

ПРИЛОЖЕНИЕ А ТЕРМОВЫКЛЮЧАТЕЛИ И УСТРОЙСТВА ЗАЩИТЫ ОТ ПЕРЕГРУЗОК

ПРИЛОЖЕНИЕ В ЭЛЕКТРОННЫЕ СХЕМЫ

ПРИЛОЖЕНИЕ С КОНСТРУКЦИЯ БЕЗОПАСНЫХ ИЗОЛИРУЮЩИХ ТРАНСФОРМАТОРОВ

ПРИЛОЖЕНИЕ D ИЗМЕРЕНИЕ ПУТЕЙ УТЕЧКИ И ВОЗДУШНЫХ ЗАЗОРОВ

ПРИЛОЖЕНИЕ 1 ПРАВИЛА БЕЗОПАСНОСТИ ПРИ ЭКСПЛУАТАЦИИ МАШИН В УСЛОВИЯХ ПРОИЗВОДСТВА

ПРИЛОЖЕНИЕ 2 ПРАВИЛА БЕЗОПАСНОСТИ ПРИ ЭКСПЛУАТАЦИИ МАШИН В БЫТОВЫХ УСЛОВИЯХ

ПРИЛОЖЕНИЕ 3 ПРИЕМКА

ИНФОРМАЦИОННЫЕ ДАННЫЕ

1. ОБЛАСТЬ РАСПРОСТРАНЕНИЯ

По ГОСТ 12.2.013.0 со следующим изменением.

1.1. Настоящий стандарт распространяется на молотки и перфораторы и устанавливает требования безопасности, а также методы испытаний.

2. ТЕРМИНЫ И ОПРЕДЕЛЕНИЯ

По ГОСТ 12.2.013.0 со следующим изменением.

2.2.23. Замена. Нормальная нагрузка - нагрузка, создаваемая молотком или перфоратором, установленным вертикально в испытательном приборе (черт. 101), когда он работает в повторно-кратковременном режиме, состоящем из периода работы длительностью 30 с и паузы длительностью 90 с, в течение которой машину выключают; к молотку или перфоратору прикладывают через упругий элемент осевое усилие нажатия с минимальным значением, обеспечивающим устойчивое функционирование ударного механизма.

Примечания:

1. Нормальная нагрузка определяется при номинальном напряжении или верхнем пределе диапазона номинальных напряжений.

2. Определение нормальной нагрузки для перфораторов и молотков с вибрирующим якорем находится в стадии разработки.

2.2. Дополнение

2.2.101. Молоток - машина, предназначенная для разрушения бетона, дорожных и других покрытий, трамбования и уплотнения материалов.

В машину встроен ударный механизм, энергия которого не зависит от приложенного усилия оператора.

2.2.102. Перфоратор - машина, предназначенная для выполнения отверстий в мраморе, бетоне, искусственных и естественных камнях и других материалах. Он работает таким же образом, как и молоток, но может приводить рабочий инструмент и во вращательное движение.

3. ОБЩИЕ ТРЕБОВАНИЯ

По ГОСТ 12.2.013.0.

4. ИСПЫТАНИЯ. ОБЩИЕ ПОЛОЖЕНИЯ

По ГОСТ 12.2.013.0.

5. НОМИНАЛЬНОЕ НАПРЯЖЕНИЕ

По ГОСТ 12.2.013.0.

6. КЛАССИФИКАЦИЯ

По ГОСТ 12.2.013.0.

7. МАРКИРОВКА

По ГОСТ 12.2.013.0.

8. ЗАЩИТА ОТ ПОРАЖЕНИЯ ЭЛЕКТРИЧЕСКИМ ТОКОМ

По ГОСТ 12.2.013.0.

9. ПУСК

По ГОСТ 12.2.013.0.

10. ПОТРЕБЛЯЕМАЯ МОЩНОСТЬ И ТОК

По ГОСТ 12.2.013.0.

11. НАГРЕВ

По ГОСТ 12.2.013.0 со следующим изменением.

11.2. Дополнение. Если достижение номинальной потребляемой мощности не является возможным, когда молоток или перфоратор работает при нормальной нагрузке, он нагружается с помощью тормоза таким образом, чтобы потребляемая мощность была равна номинальной; ударный механизм можно отключить или снять.

Допустимое превышение температуры, указанное для наружной поверхности кожуха, не относится к наружной поверхности ударного механизма.

12. ТОК УТЕЧКИ

По ГОСТ 12.2.013.0.

13. ПОДАВЛЕНИЕ РАДИО - И ТЕЛЕПОМЕХ

По ГОСТ 12.2.013.0.

14. ВЛАГОСТОЙКОСТЬ

По ГОСТ 12.2.013.0.

15. СОПРОТИВЛЕНИЕ ИЗОЛЯЦИИ И ЭЛЕКТРИЧЕСКАЯ ПРОЧНОСТЬ

По ГОСТ 12.2.013.0.

16. НАДЕЖНОСТЬ

По ГОСТ 12.2.013.0 со следующим изменением.

16.2. Два первых абзаца. Замена. Молотки и перфораторы работают в повторно-кратковременном режиме в испытательном приборе (см. черт. 101) при номинальном напряжении или верхнем пределе диапазона номинальных напряжений и нормальной нагрузке в течение четырех периодов по 6 ч каждый, при этом промежуток между этими периодами должен быть не менее 30 мин.

17. НЕНОРМАЛЬНЫЙ РЕЖИМ РАБОТЫ

По ГОСТ 12.2.013.0.

18. МЕХАНИЧЕСКАЯ БЕЗОПАСНОСТЬ

По ГОСТ 12.2.013.0 со следующими дополнениями:

18.101.1. Конструкция перфораторов должна препятствовать возникновению опасных реактивных моментов, вызываемых внезапным заклиниванием рабочего инструмента, что может привести к травмам и стать причиной несчастного случая в результате опрокидывания или вырывания машины из рук оператора.

18.101.2. Определения и рекомендации

18.101.2.1. На практике усилия, прикладываемые оператором, превышают нормативные.

В исключительных случаях усилие в центре рукоятки может достигать 400 Н. Допустимый максимальный реактивный момент должен быть рассчитан с учетом этого усилия и длины рычага плеча для каждого положения рукоятки.

18.101.3. Максимальные значения реактивного момента

Реактивный момент Мр должен быть ограничен с одной стороны моментом заклинивания, а с другой стороны моментом расцепления, максимальные значения реактивного момента зависят от исполнения перфоратора, от характерного положения рукоятки и от того, каким образом необходимо удерживать перфоратор одной или двумя руками.

Реактивный момент у перфоратора с двумя рукоятками гасится, главным образом, на уровне дополнительной рукоятки (рука на рукоятке с выключателем служит, главным образом, для управления перфоратором).

18.101.3.1 Перфораторы, удерживаемые одной рукой

Мрmax = 8 Н × м

Мрmax = 10 Н × м

Мрmax = (400 × а) Н × м

Мрmax = (400 × а) Н × м

Мрmax = (400 × а) Н × м

Размеры в метрах 82

18.101.3.2. Перфораторы, удерживаемые двумя руками

Мрmax = (400 × а2) Н × м

Мрmax = (400 × а2) Н × м

Мрmax = (400 × а) Н × м

Размеры в метрах

18.101.4. Испытание - Измерение статического момента заклинивания или момента скольжения при включении перфоратора с застопоренным шпинделем.

Перфоратор питается от номинального напряжения и включается своим выключателем. Механический переключатель частоты вращения устанавливается на минимальную частоту вращения. Электронный регулятор частоты вращения устанавливается на максимальную частоту вращения. Измеренный момент не должен превышать допустимого максимального значения.

18.101.1, 18.101.2, 18.101.2.1, 18.101.3, 18.101.3.1, 18.101.3.2, 18.101.4 (Введены дополнительно, Изм. № 1).

19. МЕХАНИЧЕСКАЯ ПРОЧНОСТЬ

По ГОСТ 12.2.013.0 со следующим изменением.

19.2. Изменение. Испытания по данному пункту не проводят для молотков и перфоратора массой св. 10 кг.

Допускается по согласованию с потребителем испытания по данному пункту не проводить для молотков и перфораторов массой до 10 кг.

20. КОНСТРУКЦИЯ

По ГОСТ 12.2.013.0.

21. ВНУТРЕННЯЯ ПРОВОДКА

По ГОСТ 12.2.013.0.

22. КОМПЛЕКТУЮЩИЕ ИЗДЕЛИЯ

По ГОСТ 12.2.013.0.

23. ПОДКЛЮЧЕНИЕ К СЕТИ И ВНЕШНИЕ ГИБКИЕ КАБЕЛИ, ШНУРЫ

По ГОСТ 12.2.013.0 со следующим изменением.

23.3. Первый и второй абзацы. Изменение. Тип несъемного кабеля или шнура должен соответствовать или быть выше качества обычного гибкого кабеля в полихлоропреновой оболочке. Допускается по согласованию с потребителем использование гибких кабелей или шнуров по ГОСТ 12.2.013.0.

24. ЗАЖИМЫ ДЛЯ ВНЕШНИХ ПРОВОДОВ

По ГОСТ 12.2.013.00 со следующим изменением.

24.1. Дополнение. Применение паяных соединений допустимо независимо от номинальной мощности, при отсутствии возможности разрушения соединений.

25. ЗАЗЕМЛЕНИЕ

По ГОСТ 12.2.013.0.

26. ВИНТЫ И СОЕДИНЕНИЯ

По ГОСТ 12.2.013.0.

27. ПУТИ УТЕЧКИ, ВОЗДУШНЫЕ ЗАЗОРЫ И ТОЛЩИНА ИЗОЛЯЦИИ

По ГОСТ 12.2.013.0.

28. ТЕПЛОСТОЙКОСТЬ, ОГНЕСТОЙКОСТЬ И СТОЙКОСТЬ К ОБРАЗОВАНИЮ
ТОКОПРОВОДЯЩИХ МОСТИКОВ

По ГОСТ 12.2.013.0.

29. КОРРОЗИОННАЯ СТОЙКОСТЬ

По ГОСТ 12.2.013.0.

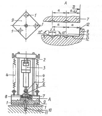
Допускается поставка машин, если это необходимо для правильной работы ударного механизма, с соответствующим пуансоном и пуансонодержателем, общая масса которых М3 не более указанных в таблице.

Номинальная потребляемая мощность машины, Вт

Диаметр передающей плиты D, мм

Расстояние между центрами пазов а, мм

Масса стального фундамента М1,

Масса промежуточной плиты М2

Общая масса пуансона и пуансонодержателя М3

кг

До 700

100

6,5

90

1,0

0,7

Св. 700

до 1200

140

5,75

180

2,25

1,4

Св. 1200

до 1800

180

5,0

270

3,8

2,3

Св. 1800

до 2500

220

4,5

360

6,0

3,4

Устройство для испытаний молотков и перфораторов

1 - диски из синтетической резины или материала с подобными свойствами твердостью по Шору А от 70 до 80, толщиной 10 мм и диаметром 75 мм;

2 - облицованная полиамидом скоба, пригнанная к рукоятке машины; 3 - машина; 4 - механический пружинный или пневматический механизм, создающий нажим на машину; 5 - пуансон; 6 - шар из закаленной стали диаметром 38 мм; 7 - промежуточная плита из закаленной стали массой M2 и диаметром D, снабженная с нижней стороны пазами в соответствии с чертежом; 8 - диск из синтетической резины или из материала с подобными свойствами твердостью по Шору А от 70 до 80, толщиной от 6 до 7 мм, плотно пригнанной к стенкам; 9 - стальной фундамент массой М1 с цилиндрической выемкой, у которой диаметр на 1 мм больше диаметра промежуточной плиты; дно выемки снабжено пазами в соответствии с чертежом; 10 - бетонный блок, установленный на устойчивой поверхности; 11 - стальной стержень, препятствующий горизонтальному смещению; 12 - шлифованные поверхности и кромки

Черт. 101

ПРИЛОЖЕНИЕ А
ТЕРМОВЫКЛЮЧАТЕЛИ И УСТРОЙСТВА ЗАЩИТЫ ОТ ПЕРЕГРУЗОК

По ГОСТ 12.2.013.0.

ПРИЛОЖЕНИЕ В
ЭЛЕКТРОННЫЕ СХЕМЫ

По ГОСТ 12.2.013.0

ПРИЛОЖЕНИЕ С
КОНСТРУКЦИЯ БЕЗОПАСНЫХ ИЗОЛИРУЮЩИХ ТРАНСФОРМАТОРОВ

По ГОСТ 12.2.013.0.

ПРИЛОЖЕНИЕ D
ИЗМЕРЕНИЕ ПУТЕЙ УТЕЧКИ И ВОЗДУШНЫХ ЗАЗОРОВ

По ГОСТ 12.2.013.0.

ПРИЛОЖЕНИЕ 1
ПРАВИЛА БЕЗОПАСНОСТИ ПРИ ЭКСПЛУАТАЦИИ МАШИН В УСЛОВИЯХ ПРОИЗВОДСТВА

По ГОСТ 12.2.013.0.

ПРИЛОЖЕНИЕ 2
ПРАВИЛА БЕЗОПАСНОСТИ ПРИ ЭКСПЛУАТАЦИИ МАШИН В БЫТОВЫХ УСЛОВИЯХ

По ГОСТ 12.2.013.0.

ПРИЛОЖЕНИЕ 3
ПРИЕМКА

По ГОСТ 12.2.013.0.

ИНФОРМАЦИОННЫЕ ДАННЫЕ

1. РАЗРАБОТАН И ВНЕСЕН Московским научно-производственным объединением по механизированному строительному инструменту и отделочным машинам

2. УТВЕРЖДЕН И ВВЕДЕН В ДЕЙСТВИЕ Постановлением Комитета стандартизации и метрологии СССР от 30.09.91 № 1565. Настоящий стандарт разработан методом прямого применения международного стандарта МЭК 745-2-6-89 «Безопасность ручных электрических машин. Часть 2. Конкретные требования к молоткам и перфораторам» с дополнительными требованиями, отражающими потребности народного хозяйства СССР

Изменение № 1 принято Межгосударственным советом по стандартизации, метрологии и сертификации (протокол № 12 от 21.11.97)

За принятие изменения проголосовали:

Наименование государства

Наименование национального органа по стандартизации

Азербайджанская Республика

Азгосстандарт

Республика Армения

Армгосстандарт

Республика Беларусь

Госстандарт Беларуси

Республика Казахстан

Госстандарт Республики Казахстан

Киргизская Республика

Киргизстандарт

Республика Молдова

Молдовастандарт

Российская Федерация

Госстандарт России

Республика Таджикистан

Таджикгосстандарт

Туркменистан

Главная государственная инспекция Туркменистана

Республика Узбекистан

Узгосстандарт

Украина

Госстандарт Украины

3. ВЗАМЕН ГОСТ 25988-83

4. ССЫЛОЧНЫЕ НОРМАТИВНО-ТЕХНИЧЕСКИЕ ДОКУМЕНТЫ

Обозначение НТД, на который дана ссылка

Номер раздела, приложения

ГОСТ 12.2.013.0-91

Вводная часть, разд. 1-29

Приложения А, В, С, D, 1, 2, 3

5. ИЗДАНИЕ с Изменением № 1, утвержденным в июне 1998 г. (ИУС 10-98)