ГОСТ 22225-76

МЕЖГОСУДАРСТВЕННЫЙ СТАНДАРТ

КОНТЕЙНЕРЫ УНИВЕРСАЛЬНЫЕ
МАССОЙ БРУТТО 0,625 и 1,25 т

ТЕХНИЧЕСКИЕ УСЛОВИЯ

ИПК ИЗДАТЕЛЬСТВО СТАНДАРТОВ

Москва

МЕЖГОСУДАРСТВЕННЫЙ СТАНДАРТ

КОНТЕЙНЕРЫ УНИВЕРСАЛЬНЫЕ
МАССОЙ БРУТТО 0,625 и 1,25 т

Технические условия

Containers multipurpose gross weight 0,625 and 1,25 t.
Technical specifications

ГОСТ
22225-76*

Постановлением Государственного комитета стандартов Совета Министров СССР от 10 ноября 1976 г. № 2517 дата введения установлена

с 01.01.78

Ограничение срока действия снято по протоколу № 2-92 Межгосударственного Совета по стандартизации, метрологии и сертификации (ИУС 2-93)

Настоящий стандарт распространяется на универсальные автомобильные контейнеры типоразмеров АУК-1,25 и АУК-0,625 по ГОСТ 18477-79.

(Измененная редакция, Изм. № 2).

1. ТЕХНИЧЕСКИЕ ТРЕБОВАНИЯ

1.1. Металлические элементы конструкции контейнеров (основание, крыша, дверной каркас с дверными створками, боковая и торцевые стенки) должны изготовляться из низкоуглеродистых сталей по ГОСТ 380-94 или низколегированных по ГОСТ 19281-89.

(Измененная редакция, Изм. № 1).

1.2. Материалы, применяемые для уплотнения, грунтовки и окраски контейнеров должны быть нетоксичными, влагонепроницаемыми, обладать стойкостью против действия моющих, обеззараживающих и дегазирующих средств.

Материалы, применяемые для изготовления контейнеров, эксплуатируемых в районах Крайнего Севера, должны соответствовать требованиям НД.

1.2а. Контейнеры, предназначенные для эксплуатации в макроклиматических районах с холодным климатом, должны изготовляться в исполнении ХЛ по ГОСТ 15150-69.

(Введен дополнительно, Изм. № 2).

1.3. Рымы должны изготавливаться из стали марки 20 по ГОСТ 1050-88, размеры прутка - по ГОСТ 2590-88.

Допускается рымы изготавливать из других марок стали, не уступающих по прочности стали марки 20.

1.4. Типы и конструктивные элементы сварных соединений контейнеров должны соответствовать требованиям ГОСТ 5264-80, ГОСТ 14771-76 и ГОСТ 8713-79.

1.5. Конструкция контейнеров должна обеспечивать:

удобство и безопасность выполнения операций по загрузке и разгрузке;

удобство и безопасность выполнения перегрузочных операций с помощью кранового оборудования и вилочных погрузчиков;

быструю и удобную промывку, а также очистку наружных и внутренних поверхностей контейнеров;

невозможность проникновения во внутрь атмосферных осадков;

возможность двухъярусного штабелирования;

ремонтопригодность (после сборки отдельных элементов конструкции доступ к ним с целью ремонта не должен быть затруднен при складировании).

1.6. Контейнеры должны быть оборудованы:

двустворчатой дверью с запорным устройством и резиновым уплотнением, или без резинового уплотнения, но с лабиринтами для отвода атмосферных осадков. Двери должны быть расположены у контейнеров типоразмера АУК-1,25 на стороне с размером 1800 мм, а у контейнеров типоразмера АУК-0,625 на стороне с размером 1150 мм;

рымными узлами;

карманом для хранения транспортных документов, расположенным на внутренней стороне одной из створок дверей в верхней части;

проемами в нижней части контейнеров, предназначенными для ввода вил погрузчика.

Примечания:

1. Контейнеры типоразмера АУК-0,625 допускается изготавливать на колесах с механизмом установки контейнера на опоры без проемов для ввода вил погрузчика габаритной высотой не более 1900 мм;

2. Внутренняя и внешняя поверхности контейнеров должны выполняться без выступающих частей (за исключением коробок рымных узлов и карманов для хранения транспортной документации и гофров боковых стен - во внутреннюю поверхность контейнера).

1.5, 1.6. (Измененная редакция, Изм. № 1).

1.7. Собственная масса контейнеров не должна быть более, кг: контейнеров типоразмеров АУК-0,625 - 200, АУК-0,625 на колесах - 250, а контейнеров АУК-1,25 - 300.

(Измененная редакция, Изм. № 2).

1.8. Конструкция двери и дверной рамы должна обеспечивать:

открывание каждой створки двери у контейнеров типоразмера АУК-1,25 на угол 180°, у контейнеров типоразмера АУК-0,625 - 270°;

невозможность снятия двери в запертом положении и самопроизвольного открывания ее в процессе эксплуатации;

возможность навески пломбы и защиту ее от повреждений.

1.9. Конструкция запорных устройств должна обеспечивать прижим двери по всему периметру к дверной раме и створок двери друг к другу.

1.10. Усилие на рукоятке запорного устройства не должно быть более 0,15 кН (15 кгс).

1.11. При установке на контейнеры типоразмера АУК-0,625 колес диаметр их должен быть не менее 150 мм с резиновым бандажом на рабочей поверхности.

1.12. Поворот и установка контейнеров на опоры должны производиться с помощью одной рукоятки (водила), закрепляемой на контейнере.

1.13. Усилие на рукоятке при установке контейнера на опору не должно быть более 0,30 кН (30 кгс).

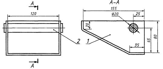
1.14. Высота и ширина проемов для ввода вил погрузчика в нижней части контейнеров должны соответствовать указанным на черт. 1 и располагаться со стороны дверей на контейнере.

(Измененная редакция, Изм. № 1).

1.15. Размещение рымных узлов и расстояния между ними должны соответствовать указанным на черт. 1.

Основные размеры рымных узлов должны соответствовать указанным на черт. 2.

(Измененная редакция, Изм. № 2).

1.16. Рымы и связанные с ними части контейнеров должны выдерживать нагрузки, возникающие при подъеме контейнеров с грузом равным 1,5 R за рымы, с учетом меняющегося угла наклона ветвей стропа к плоскости крыши от 90° (при использовании механического захвата) до 45° (при двухконцевом стропе), где R - номинальная масса брутто контейнера, Т - собственная масса.

(Измененная редакция, Изм. № 1).

1.17. Крыша контейнеров должна выдерживать в любом месте нагрузку, равную 0,98 кН (100 кгс), равномерно распределенную на площади 300×100 мм.

1.18. Стенки и двери контейнеров должны выдерживать равномерно распределенную нагрузку 0,6 (R-T).

1.19. Днище контейнеров должно выдерживать нагрузку от равномерно размещенного по настилу пола груза, равного 1,5 R.

(Измененная редакция, Изм. № 1).

Черт. 1

1 - ниша; 2 - рым

Черт. 2

Примечание. Предельные отклонения - по 14-му квалитету.

1.20. Внутренние и наружные поверхности контейнеров должны быть окрашены лакокрасочным покрытием по ГОСТ 9.032-74.

1.21. К контейнеру должны быть приложены паспорт и инструкция по эксплуатации по ГОСТ 2.601-95.

1.22. Общие требования безопасности к универсальным контейнерам - по ГОСТ 12.2.003-91.

2. ПРАВИЛА ПРИЕМКИ

2.1. Контейнеры должны подвергаться приемосдаточным, периодическим и типовым испытаниям.

2.2. Каждый контейнер должен подвергаться приемосдаточным испытаниям на соответствие требованиям пп. 1.6; 1.8; 1.9; 1.10; 1.13; 1.20; 4.1.

2.3. Периодическим испытаниям должны подвергаться не менее 2-х контейнеров от каждой партии из числа прошедших приемосдаточные испытания на соответствие всем требованиям настоящего стандарта.

Партия должна состоять из контейнеров одного типоразмера не более 200 шт.

2.4. Оценка результатов испытаний должна производиться по п. 3.4.

При получении неудовлетворительных результатов периодических испытаний следует проводить их повторно на удвоенном количестве контейнеров.

Результаты повторных испытаний являются окончательными.

2.5. Типовым испытаниям подвергаются контейнеры при внесении изменений в их конструкцию или технологию изготовления по программе, утверждаемой предприятием-изготовителем.

3. МЕТОДЫ ИСПЫТАНИЙ

3.1. Проверка на соответствие требованиям стандарта проводится по:

пп. 1.6; 1.8; 1.11; 1.20; 4.1 - внешним осмотром;

пп. 1.10; 1.13 - замером усилий на рукоятках;

пп. 1.7; 1.14; 1.15 и требованиям ГОСТ 18477-79 - взвешиванием и измерением.

3.1.1. Контроль размеров следует проводить измерительным инструментом (по ГОСТ 427-75, ГОСТ 7502-98);

контроль собственной массы следует проводить на весах по ГОСТ 29329-92;

контроль усилия на рукоятках следует проводить динамометром ГОСТ 13837-79.

(Измененная редакция, Изм. № 1, 2).

3.2. Испытания на соответствие требованиям пп. 1.16; 1.17; 1.18; 1.19 должны включать:

подъем за рымы - п. 3.2.1;

проверку на прочность стенок и дверей - п. 3.2.2;

проверку на жесткость конструкции - пп. 3.2.3, 3.2.4.

(Измененная редакция, Изм. № 2).

3.2.1. Контейнер следует загружать мерным грузом общей массой 1,5 R, равномерно распределенным по площади пола.

Испытание следует осуществлять подъемом контейнера за рымы.

В поднятом положении контейнер следует удерживать на весу в течение 5 мин.

(Измененная редакция, Изм. № 1).

3.2.2. Испытание осуществляется приложением изнутри нагрузки 0,6 (R), равномерно распределенной по площади каждой торцевой или боковой стенки (двери) контейнера, опирающейся своими четырьмя углами на подкладки.

Длительность нахождения каждой стенки (двери) под нагрузкой - 5 мин.

3.2.3. Контейнер загружается мерным грузом 1,25 R и устанавливается на 3 подкладки размером 150×150 мм так, чтобы один из углов под дверью оказался на весу. По истечении 5 мин контейнер поднимают и подкладку со стороны двери подставляют под другой угол.

Длительность нахождения контейнера в этом положении - 5 мин.

3.2.4. Контейнер загружают мерным грузом массой R, равномерно распределенным по площади пола. Далее с помощью упора и предохранительной подвески контейнер устанавливают вначале на одно, а затем на другое нижнее продольное ребро так, чтобы угол наклона контейнера к горизонтальной плоскости составлял 45°.

Длительность нахождения контейнера в каждом положении - не менее 5 мин.

(Измененная редакция, Изм. № 2).

3.3. Проверка устойчивости к проникновению атмосферных осадков во внутрь выполняется в последнюю очередь без нагружения контейнера.

Испытание проводится поливом водой наружных поверхностей стенок, крыши и дверей запертого порожнего контейнера с применением дождевального устройства с интенсивностью полива 1 м3/ч на 1 м2 поверхности.

Крышу поливают при расположении оси дождевального устройства под углом 90° к ней, а стенки и дверь сверху - под углом 30° к вертикали.

Длительность испытания - 5 мин.

3.4. Контейнеры считаются выдержавшими испытание, если они:

соответствуют требованиям настоящего стандарта и рабочим чертежам;

не имеют видимых остаточных деформаций элементов конструкции, нарушений сварных швов и соединений, трещин и других повреждений, делающих контейнер непригодным для эксплуатации;

не имеют остаточных деформаций прогиба в середине боковых и торцевых стенок более 5 мм;

сохранили внешние, внутренние и другие нормированные размеры в пределах, установленных ГОСТ 18477-79 и настоящим стандартом;

исключают проникновение атмосферных осадков во внутрь;

имеют свободно открываемые и закрываемые двери с работоспособными запорными устройствами.

4. МАРКИРОВКА, УПАКОВКА, ТРАНСПОРТИРОВАНИЕ И ХРАНЕНИЕ

4.1. На каждом контейнере должны быть нанесены:

на левой створке двери в левом верхнем углу: страна-изготовитель, эмблема и сокращенное наименование организации-владельца;

в левом нижнем углу: масса брутто, т; собственная масса (тара), кг; внутренний объем, м3.

По требованию потребителя на правой створке двери в правом верхнем углу, а также на задней стенке снаружи и внутри контейнера и на крыше должен быть нанесен инвентарный номер.

4.1.1. В правом верхнем углу левой боковой стороны контейнера должна быть прикреплена табличка по ГОСТ 12971-67, содержащая:

наименование министерства, объединения, товарный знак предприятия-изготовителя;

типоразмер контейнера;

заводской номер;

месяц и год изготовления;

клеймо ОТК и обозначение настоящего стандарта.

4.1.2. Способ нанесения надписей на фирменной табличке выбирается предприятием-изготовителем.

Шрифт надписей должен выполняться по ГОСТ 26.020-80.

(Измененная редакция, Изм. № 2).

4.2. Свойства краски для нанесения маркировки должны быть аналогичны применяемой для окраски контейнеров.

Цвет маркировки должен резко выделяться на окрашенной поверхности контейнера.

4.3. Размеры букв, цифр и знаков маркировки должны соответствовать утвержденным чертежам.

4.4. Транспортирование контейнеров производится в неупакованном виде любым видом транспорта.

4.5. Хранение контейнеров должно осуществляться на открытых ровных площадках с твердым покрытием и устройствами для отвода талых и дождевых вод. Площадки должны удовлетворять требованиям противопожарной безопасности.

5. ГАРАНТИИ ИЗГОТОВИТЕЛЯ

5.1. Предприятие-изготовитель должно гарантировать соответствие контейнеров требованиям нормативно-технической документации на конкретный вид изделия при соблюдении потребителем условий эксплуатации и хранения.

5.2. Гарантийный срок эксплуатации - 1 год со дня ввода контейнеров в эксплуатацию.

СОДЕРЖАНИЕ

1. Технические требования. 1

2. Правила приемки. 3

3. Методы испытаний. 4

4. Маркировка, упаковка, транспортирование и хранение. 5

5. Гарантии изготовителя. 5